申請日2016.05.09
公開(公告)日2016.11.30
IPC分類號B01D7/00
摘要
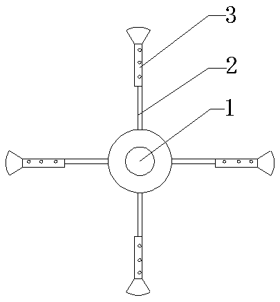
本實用新型公開了一種臥式污泥混合攪拌機用犁刀組件,包括設置于攪拌機筒體內的轉軸,設置在轉軸上的支撐件和設置在支撐件上的犁刀組件,所述的支撐件通過焊接方式固定設置于轉軸上,在轉軸同一水平面上均勻至少設置四個犁刀組件,所述的犁刀組件包括連接件、設置在連接件上的犁刀,所述的連接件和支撐件通過內角螺栓固定連接,所述的支撐件前端在轉軸轉動方向設置有刃面,所述的連接件前端在轉軸轉動方向設置有刃面,所述的犁刀前后兩端均呈“V”型結構,總體上,本實用新型具有設計結構簡單,使用方便,使用壽命長,工作效率高等優點。
權利要求書
1.一種臥式污泥混合攪拌機用犁刀組件,包括設置于攪拌機筒體內的轉軸,設置在轉軸上的支撐件和設置在支撐件上的犁刀組件,其特征在于:所述的支撐件通過焊接方式固定設置于轉軸上,在轉軸同一水平面上均勻至少設置四個犁刀組件,所述的犁刀組件包括連接件、設置在連接件上的犁刀,所述的連接件和支撐件通過內角螺栓固定連接。
2.根據權利要求1所述的一種臥式污泥混合攪拌機用犁刀組件,其特征在于:所述的支撐件前端在轉軸轉動方向設置有刃面。
3.根據權利要求1所述的一種臥式污泥混合攪拌機用犁刀組件,其特征在于:所述的連接件前端在轉軸轉動方向設置有刃面。
4.根據權利要求1所述的一種臥式污泥混合攪拌機用犁刀組件,其特征在于:所述的犁刀前后兩端均呈“V”型結構。
說明書
一種臥式污泥混合攪拌機用犁刀組件
技術領域
本實用新型屬于機械設備技術領域,具體設計一種臥式污泥混合攪拌機用犁刀組件。
背景技術
犁刀式攪拌機廣泛用于干粉砂漿、飼料、陶瓷、混凝土外加劑等粉料的干燥與混合,其結構通常包括計量斗、筒體、犁刀飛刀和傳動機構等,混合時,筒內物料在犁刀的作用下,一方面沿筒體內壁作用流向徑向端,另一方面又沿犁刀兩側面的線方向飛濺。當物料流經飛刀時,被高速旋轉的飛刀強烈拋散,在犁刀和飛刀的復合作用下,使物料不斷的對流、擴散、翻動,從而在極短的時間內達到均勻的混合。但是,由于犁刀通過旋轉將螺帶輸送來的物料切割為小塊,由于攪拌機筒體內的無聊是通過犁刀進行切割,但是筒體內的物料是連續不斷進入筒體內并連續進行攪拌的,在筒體內擠滿物料是單純靠犁刀進行切割無法滿足需要,會對犁刀組件進行損壞。
發明內容
本實用新型的目的在于客服現有技術的不足而提供一種設計結構簡單,安裝方便,實現連續切割的一種臥式污泥混合攪拌機用犁刀組件。
為了實現本實用新型的目的,本實用新型是這樣實現的:一種臥式污泥混合攪拌機用犁刀組件,包括設置于攪拌機筒體內的轉軸,設置在轉軸上的支撐件和設置在支撐件上的犁刀組件,所述的支撐件通過焊接方式固定設置于轉軸上,在轉軸同一水平面上均勻至少設置四個犁刀組件,所述的犁刀組件包括連接件、設置在連接件上的犁刀,所述的連接件和支撐件通過內角螺栓固定連接。
所述的支撐件前端在轉軸轉動方向設置有刃面。
所述的連接件前端在轉軸轉動方向設置有刃面。
所述的犁刀前后兩端均呈“V”型結構。
本實用新型產生的有益效果是:本實用新型是在攪拌機筒體內的轉軸的同一水平面上焊接設置至少四個支撐件,支撐件前端在轉軸轉動方向設置有刃面,從而支撐件在轉軸轉動過程中也可以起到切割作用,增強了切割混合的工作效率。在支撐件上設置有螺孔,通過內角螺栓在支撐件上設置犁刀組件,犁刀組件包括連接件和犁刀,連接件前端在轉軸轉動方向也設置有刃面,在轉軸轉動過程中也可以起到切割作用,增強了切割混合的工作效率。通過支撐件和連接件內角螺栓的設置避免在切割過程中物料對螺栓的磨損,減少了維修次數,延長了設備的使用期限。犁刀前后兩端均呈“V”型結構,方便了切割,提高了生產效率。
總體上,本實用新型具有設計結構簡單,使用方便,使用壽命長,工作效率高等優點。



