申請日2016.05.09
公開(公告)日2016.11.30
IPC分類號B01F1/00; B01F7/16; B01F15/00; B01F15/04
摘要
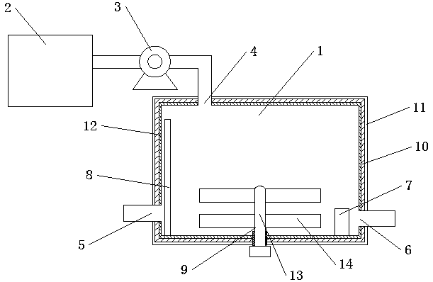
本實用新型提供了一種水處理藥劑溶解裝置,包括溶液箱、藥劑儲槽、加藥計量泵,其特征在于,溶液箱設有加藥口、進水口和出水口,藥劑儲槽通過加藥計量泵與溶液箱的加藥口相連,溶液箱內還設有濃度檢測器、液位計和攪拌裝置,溶液箱的箱體由不銹鋼制成,箱體外表面涂覆有防腐涂料層,箱體內壁設有橡膠襯里層。本實用新型通過在溶液箱箱體外表面涂覆防腐涂料層,在箱體內壁設置橡膠襯里層,極大的提高了溶液箱的耐腐蝕性,溶液箱內攪拌裝置的攪拌軸和葉輪由耐腐蝕性能良好的碳鋼防腐材料制成,有效防止攪拌軸和葉輪被化學藥劑腐蝕,延長了設備的使用壽命。
權利要求書
1.一種水處理藥劑溶解裝置,包括溶液箱、藥劑儲槽、加藥計量泵,其特征在于,所述溶液箱設有加藥口、進水口和出水口,所述藥劑儲槽通過加藥計量泵與所述溶液箱的加藥口相連,所述溶液箱內還設有濃度檢測器、液位計和攪拌裝置,所述溶液箱的箱體由不銹鋼制成,箱體外表面涂覆有防腐涂料層,箱體內壁設有橡膠襯里層。
2.如權利要求1所述的水處理藥劑溶解裝置,其特征在于,所述橡膠襯里層由耐酸堿的天然橡膠制成。
3.如權利要求1所述的水處理藥劑溶解裝置,其特征在于,還包括PLC控制器,所述濃度檢測器、液位計、加藥計量泵均與所述PLC控制器相連。
4.如權利要求2所述的水處理藥劑溶解裝置,其特征在于,所述橡膠襯里層所用的橡膠為經過硫化處理的天然橡膠。
5.如權利要求1所述的水處理藥劑溶解裝置,其特征在于,所述攪拌裝置的攪拌軸和葉輪由碳鋼防腐材料制成。
6.如權利要求1所述的水處理藥劑溶解裝置,其特征在于,所述液位計為磁翻板液位計。
說明書
一種水處理藥劑溶解裝置
技術領域
本實用新型屬于水處理領域,具體涉及一種水處理藥劑溶解裝置。
背景技術
在廢水處理過程中,經常需要加入一些化學藥劑,為了提高水處理效果,使藥劑與廢水充分混合,通常要先將藥劑溶解在水中配成溶液后再將配置好的溶液投加到廢水處理系統中。藥劑的溶解一般在溶液箱中進行,化學藥劑往往有較強的腐蝕性,這就要求溶液箱具有良好的耐腐蝕性,現有的溶液箱的耐腐蝕性往往達不到要求,容易腐蝕損壞。
發明內容
為解決上述問題,本實用新型公開了一種水處理藥劑溶解裝置。
為了達到以上目的,本實用新型提供如下技術方案:
一種水處理藥劑溶解裝置,包括溶液箱、藥劑儲槽、加藥計量泵,所述溶液箱設有加藥口、進水口和出水口,所述藥劑儲槽通過加藥計量泵與所述溶液箱的加藥口相連,所述溶液箱內還設有濃度檢測器、液位計和攪拌裝置,所述溶液箱的箱體由不銹鋼制成,箱體外表面涂覆有防腐涂料層,箱體內壁設有橡膠襯里層。
作為優選,所述橡膠襯里層由耐酸堿的天然橡膠制成。
作為優選,還包括PLC控制器,所述濃度檢測器、液位計、加藥計量泵均與所述PLC控制器相連。
作為優選,所述橡膠襯里層所用的橡膠為經過硫化處理的天然橡膠。
作為優選,所述攪拌裝置的攪拌軸和葉輪由碳鋼防腐材料制成。
作為優選,所述液位計為磁翻板液位計。
本實用新型取得的有益效果為:
通過在溶液箱箱體外表面涂覆防腐涂料層,在箱體內壁設置橡膠襯里層,極大的提高了溶液箱的耐腐蝕性,溶液箱內攪拌裝置的攪拌軸和葉輪由耐腐蝕性能良好的碳鋼防腐材料制成,有效防止攪拌軸和葉輪被化學藥劑腐蝕,延長了設備的使用壽命。







