申請日2017.10.09
公開(公告)日2017.12.19
IPC分類號C02F1/24
摘要
本發明公開了一種用于城市污水處理的氣浮機,包括箱體,箱體內通過攪拌軸安裝有葉片,箱體內安裝有通氣管,所述通氣管位于葉片的下方,通氣管內套接有內套,內套側面設置有若干個與通氣管外側相連通的連接管;葉片底面設置有與凹槽,凹槽位于通氣管和內套之間縫隙的正下方,凹槽與通氣管和內套之間縫隙的寬度相等,攪拌軸底面上固定有軸流葉輪,軸流葉輪的驅動方向向下。本發明能夠改進現有技術的不足,提高了氣體的打散微化效果。
權利要求書
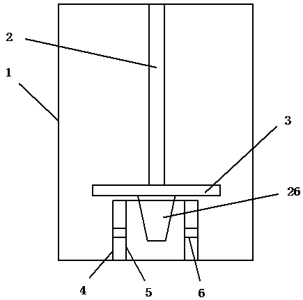
1.一種用于城市污水處理的氣浮機,包括箱體(1),箱體(1)內通過攪拌軸(2)安裝有葉片(3),箱體(1)內安裝有通氣管(4),其特征在于:所述通氣管(4)位于葉片(3)的下方,通氣管(4)內套接有內套(5),內套(5)側面設置有若干個與通氣管(4)外側相連通的連接管(6);葉片(3)底面設置有與凹槽(7),凹槽(7)位于通氣管(4)和內套(5)之間縫隙的正下方,凹槽(7)與通氣管(4)和內套(5)之間縫隙的寬度相等,攪拌軸(2)底面上固定有軸流葉輪(26),軸流葉輪(26)的驅動方向向下。
2.根據權利要求1所述的用于城市污水處理的氣浮機,其特征在于:所述葉片(3)底面與通氣管(4)頂面的間距為5mm~8mm,軸流葉輪(26)的底端位于內套(5)內。
3.根據權利要求1所述的用于城市污水處理的氣浮機,其特征在于:所述凹槽(7)內固定有第一擋板(8),第一擋板(8)與凹槽(7)頂面相垂直,第一擋板(8)的內側固定有第二擋板(9),第二擋板(9)與第一擋板(8)的夾角為35°,第一擋板(8)內設置有空腔(10),空腔(10)內交錯設置有翼板(11),第二擋板(9)內設置有螺旋通孔(12),螺旋通孔(12)與空腔(10)相連通,螺旋通孔(12)側面設置有與第二擋板(9)表面相貫通的第一通孔(13)。
4.根據權利要求3所述的用于城市污水處理的氣浮機,其特征在于:所述空腔(10)與凹槽(7)的頂部通過第二通孔(14)連通,第二通孔頂部設置有支架(17),支架(17)上通過膠套(18)套接有若干層金屬薄片(19)。
5.根據權利要求4所述的用于城市污水處理的氣浮機,其特征在于:所述第二通孔(14)底部通過第一彈簧體(15)連接有密封塞(16),密封塞(16)與第二通孔(14)選擇性插接。
6.根據權利要求3所述的用于城市污水處理的氣浮機,其特征在于:所述凹槽(7)的兩側設置有絲網層(20),絲網層(20)的高度高于凹槽(7)的深度。
7.根據權利要求6所述的用于城市污水處理的氣浮機,其特征在于:所述絲網層(20)內部通過輪軸(21)安裝有波輪(22),波輪(22)表面固定有毛刷(23)。
說明書
一種用于城市污水處理的氣浮機
技術領域
本發明涉及污水處理技術領域,尤其是一種用于城市污水處理的氣浮機。
背景技術
氣浮機是一種利用水中微小氣泡包裹懸浮物,使之逐漸上浮,實現固液分離的設備。氣浮機主要分為溶氣氣浮機和渦凹氣浮機,溶氣氣浮機通過對水體進行加壓溶氣,然后再減壓實現氣體釋放形成微氣泡。這種方式形成的微氣泡體積小,對于污水的處理效果好,但是由于需要空壓機、循環泵等附屬設備,成本較高。渦凹氣浮機通過葉片的高速旋轉形成真空區,液面上的空氣通過曝氣機的中空轉軸輸入水中去填空,并在葉片高速轉動下剪切氣泡產生微氣泡,成本低。中國實用新型專利CN 202482097 U公開了一種渦凹氣浮機,通過在葉片上設置進氣孔,提高葉片對于氣體的切割效果。但是,這種氣浮機相比起溶氣氣浮機對于進氣的利用率較低,有大量氣體進入水體后未被打碎而直接擴散。
發明內容
本發明要解決的技術問題是提供一種用于城市污水處理的氣浮機,能夠解決現有技術的不足,提高了氣體的打散微化效果。
為解決上述技術問題,本發明所采取的技術方案如下。
一種用于城市污水處理的氣浮機,包括箱體,箱體內通過攪拌軸安裝有葉片,箱體內安裝有通氣管,所述通氣管位于葉片的下方,通氣管內套接有內套,內套側面設置有若干個與通氣管外側相連通的連接管;葉片底面設置有與凹槽,凹槽位于通氣管和內套之間縫隙的正下方,凹槽與通氣管和內套之間縫隙的寬度相等,攪拌軸底面上固定有軸流葉輪,軸流葉輪的驅動方向向下。
作為優選,所述葉片底面與通氣管頂面的間距為5mm~8mm,軸流葉輪的底端位于內套內。
作為優選,所述凹槽內固定有第一擋板,第一擋板與凹槽頂面相垂直,第一擋板的內側固定有第二擋板,第二擋板與第一擋板的夾角為35°,第一擋板內設置有空腔,空腔內交錯設置有翼板,第二擋板內設置有螺旋通孔,螺旋通孔與空腔相連通,螺旋通孔側面設置有與第二擋板表面相貫通的第一通孔。
作為優選,所述空腔與凹槽的頂部通過第二通孔連通,第二通孔頂部設置有支架,支架上通過膠套套接有若干層金屬薄片。
作為優選,所述第二通孔底部通過第一彈簧體連接有密封塞,密封塞與第二通孔選擇性插接。
作為優選,所述凹槽的兩側設置有絲網層,絲網層的高度高于凹槽的深度。
作為優選,所述絲網層內部通過輪軸安裝有波輪,波輪表面固定有毛刷。
采用上述技術方案所帶來的有益效果在于:本發明改變了通氣管與葉片的相對位置,使氣流從葉片的底部流出,然后上升至葉片攪動位置進行打散,這可以提高氣體與葉片的接觸時間,提高葉片對氣體的“切割”作用。葉片底面凹槽用來對下方上升的氣體進行收集和打散,可以有效提高氣泡與葉片的碰撞效果。軸流葉輪提供一個向下的驅動力,可以提高氣浮機內水體的循環流動性,從而使得水體上層含有加大氣泡的水體可以重新經過葉片進行“切割”,從而進一步提高水體內氣泡的微化效果。第一擋板和第二擋板可以與水體產生相互碰撞,進一步改善水體內氣泡的微化效果。部分水體經過第二通孔進入空腔,然后從螺旋通孔流出,這一過程不僅可以對這部分水體進行震蕩,提高氣泡的微化效果,更為重要的是,可以利用這一流動趨勢,提高凹槽內的水體流動速率,從而提高凹槽與水體的相互作用效果。金屬薄片用來提高對水體內氣泡的碰撞微化效果。但是,設置第二通孔后會對凹槽內部的“負壓區”造成影響,為了減低對于“負壓區”的影響,通過設置密封塞,當“負壓區”壓力升高時,密封塞上移,其與第二通孔之間的流通面積降低,減少水體的流入,從而保持“負壓區”的負壓狀態。絲網層可以對流出凹槽水體內的氣泡進行二次攪拌打散。但是由于污水中含有大量的雜質顆粒,容易對絲網層造成堵塞,為了避免這個問題,本發明專門在絲網層內設置了波輪,利用水體流過絲網層推動波輪旋轉,從而帶動毛刷對毛刷進行清掃,避免雜質的附著。



