申請日2017.10.09
公開(公告)日2018.01.05
IPC分類號C02F1/42; A61L2/20; A61L101/10
摘要
本發明公開了一種含消毒裝置的軟水處理系統,包括控制閥、樹脂罐、鹽箱、電離發生器、干燥管、三通快接管,控制閥含有吸鹽口,吸鹽口與樹脂罐內的樹脂罐中心管相連,鹽箱內設有安裝閥,干燥管一端為空氣入口,另一端為空氣出口,干燥管內部填充干燥劑,電離發生器含有進氣口,出氣口,電動氣閥和電離裝置,進氣口與空氣出口相連,電離裝置設置在進氣口與出氣口之間,電動氣閥設置在空氣出口;三通快接管含有第一接口、第二接口和第三接口,第一接口通過氣動管b與出氣口相連,第二接口通過水管a與安裝閥相連,第三接口通過水管b與吸鹽口相連。該軟水處理系統消毒裝置采用臭氧為介質來消毒,無添加,無殘留,安全健康,綠色環保。
權利要求書
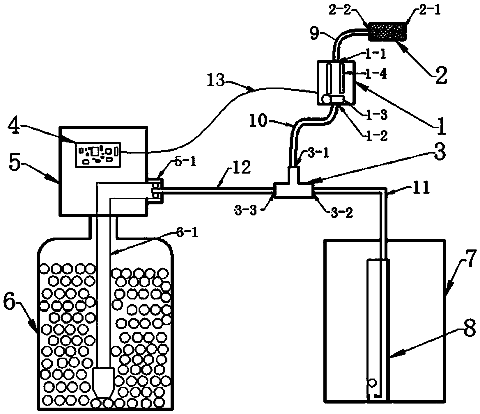
1.一種含消毒裝置的軟水處理系統,包括控制閥(5)、樹脂罐(6)和鹽箱(7),控制閥(5)安裝在樹脂罐(6)的罐口,控制閥(5)含有吸鹽口(5-1),吸鹽口(5-1)與樹脂罐(6)內的樹脂罐中心管(6-1)相連,鹽箱(7)內設有安裝閥(8),其特征在于:該軟水處理系統還包括電離發生器(1)、干燥管(2)、三通快接管(3);
所述干燥管(2)的一端為空氣入口(2-1),空氣入口(2-1)與大氣相連,干燥管(2)的另一端為空氣出口(2-2),干燥管(2)內部填充干燥劑;所述電離發生器(1)含有進氣口(1-1)、出氣口(1-2)、電動氣閥(1-3)和電離裝置(1-4),進氣口(1-1)通過氣動管a(9)與空氣出口(2-2)相連,電離裝置(1-4)設置在進氣口(1-1)與出氣口(1-2)之間,電動氣閥(1-3)設置在空氣出口(2-2);所述三通快接管(3)含有第一接口(3-1)、第二接口(3-2)和第三接口(3-3),第一接口(3-1)通過氣動管b(10)與出氣口(1-2)相連,第二接口(3-2)通過水管a(11)與安裝閥(8)相連,第三接口(3-3)通過水管b(12)與吸鹽口(5-1)相連。
2.根據權利要求1所述的一種含消毒裝置的軟水處理系統,所述安裝閥(8)包括閥體(8-4),閥體(8-4)內設有安裝閥中心管(8-3)和腔體(8-5),安裝閥中心管(8-3)上端與第二接口(3-2)相連,安裝閥中心管(8-3)下端向上折彎并與腔體(8-5)底部相連,腔體(8-5)內設有浮球(8-1),腔體(8-5)側面與閥體(8-4)連通,閥體(8-4)側壁開設有過水孔。
3.根據權利要求2所述的一種含消毒裝置的軟水處理系統,所述安裝閥中心管(8-3)下端設有密封墊(8-2)。
4.根據權利要求1所述的一種含消毒裝置的軟水處理系統,其特征在于:所述電動氣閥(1-3)和電離裝置(1-4)通過信號線(13)與安裝在控制閥(5)上的控制電路(4)相連。
5.根據權利要求1所述的一種含消毒裝置的軟水處理系統,其特征在于:所述氣動管a(9)、氣動管b(10)、水管a(11)和水管b(12)的端部均設有密封圈(14)。
說明書
一種含消毒裝置的軟水處理系統
技術領域
本發明涉及一種含消毒裝置的軟水處理系統。
背景技術
樹脂是軟水處理系統的核心,用戶使用過程中不可能頻繁更換樹脂,在相對密封潮濕的環境下,樹脂極易產生細菌,而現有的軟水處理系統很多沒有配備消毒裝置,這樣會造成二次污染,甚至可能成為污染源。
一些軟水處理產品為達到消毒的目的,采用添加消毒劑的方法,消毒劑參與完消毒過程后水中會有化學殘留,對健康造成威脅,并且會使水產生異味,影響用戶體驗。還有一些軟水處理設備采用余氯消毒,但是一些國家和地區限制使用余氯消毒的裝置,所以這種使用余氯消毒的軟水處理設備具有出口局限性。
發明內容
發明目的:本發明目的是針對現有軟水處理系統消毒方式的缺陷,提供一種含消毒裝置的軟水處理系統,該軟水處理系統消毒裝置采用臭氧為介質來消毒,無添加,無殘留,安全健康,綠色環保。
為了實現上述目的,本發明采用了如下的技術方案:一種含消毒裝置的軟水處理系統,包括控制閥、樹脂罐和鹽箱,控制閥安裝在樹脂罐的罐口,控制閥含有吸鹽口,吸鹽口與樹脂罐內的樹脂罐中心管相連,鹽箱內設有安裝閥,該軟水處理系統還包括電離發生器、干燥管、三通快接管;
所述干燥管的一端為空氣入口,空氣入口與大氣相連,干燥管的另一端為空氣出口,干燥管內部填充干燥劑;所述電離發生器含有進氣口、出氣口、電動氣閥和電離裝置,進氣口通過氣動管a與空氣出口相連,電離裝置設置在進氣口與出氣口之間,電動氣閥設置在空氣出口;所述三通快接管含有第一接口、第二接口和第三接口,第一接口通過氣動管b與出氣口相連,第二接口通過水管a與安裝閥相連,第三接口通過水管b與吸鹽口相連。
進一步的,所述安裝閥包括閥體,閥體內設有安裝閥中心管和腔體,安裝閥中心管上端與第二接口相連,安裝閥中心管下端向上折彎并與腔體底部相連,腔體內設有浮球,腔體側面與閥體連通,閥體側壁開設有過水孔。
進一步的,所述所述安裝閥中心管下端設有密封墊。
進一步的,所述電動氣閥和電離裝置通過信號線與安裝在控制閥上的控制電路相連。
進一步的,所述氣動管a、氣動管b、水管a和水管b的端部均設有密封圈。
有益效果:
1、此軟水處理系統的消毒裝置采用臭氧為介質來消毒,無添加,并可自行分解為氧氣,無殘留,安全健康,綠色環保;
2、為軟水處理系統的消毒方式提供了更多的選擇,可避免出口局限性;
3、消毒裝置安裝方式上可實現快速連接,即插即用,可以實現液體進出管道的快速連接,可有效提高裝配和生產效率,節約成本;
4、可在現有軟水處理系統結構上進行改造,改造工序好操作,非常方便快捷。



