申請日2017.10.09
公開(公告)日2018.01.19
IPC分類號C02F11/14; B01F7/04; B01F15/02
摘要
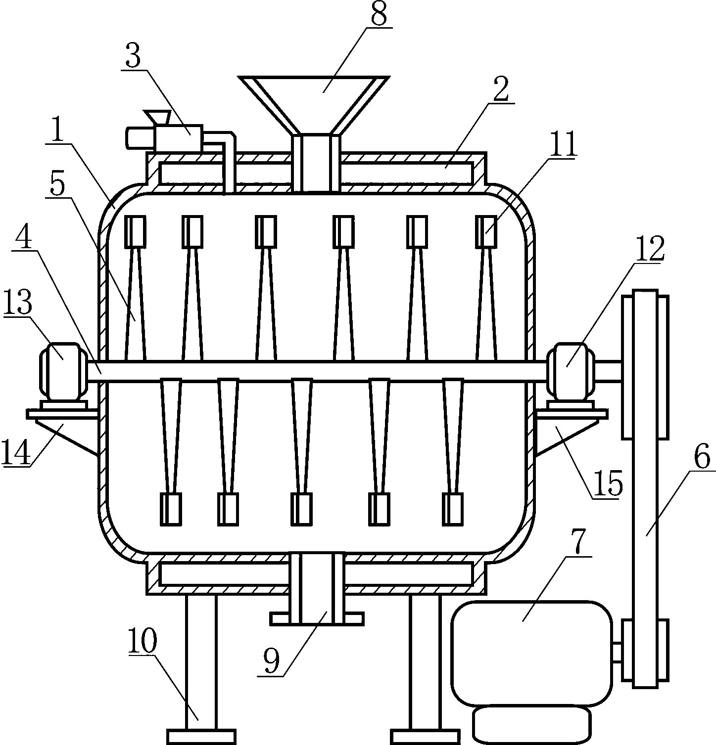
本發明公開了一種污泥調質器,包括爐體、加熱夾套、調質藥品添加器、攪拌軸、攪拌葉、傳動機構和電機,所述爐體的頂部設有污泥加入口,爐體的底部設有排料管,所述加熱夾套設在爐體的外圍,攪拌葉設在爐體內且分布固定在攪拌軸上,所述調質藥品添加器將調質藥品送入爐體內,電機通過傳動機構帶動攪拌軸轉動。由于采用上述的結構形式,本發明與現有的靜態混合相比,混合均勻度提高30%以上;與現有混合調質藥品的技術相比,由于本裝置提供了調質藥品與污泥充分反應的條件,也縮短了藥品的反應時間,達到了節省調質藥品的目的,可節省調質藥品15%以上。
權利要求書
1.一種污泥調質器,其特征在于:包括爐體、加熱夾套、調質藥品添加器、攪拌軸、攪拌葉、傳動機構和電機,所述爐體的頂部設有污泥加入口,爐體的底部設有排料管,所述加熱夾套設在爐體的外圍,攪拌葉設在爐體內且分布固定在攪拌軸上,所述調質藥品添加器將調質藥品送入爐體內,電機通過傳動機構帶動攪拌軸轉動。
2.根據權利要求1所述的污泥調質器,其特征在于:所述爐體1的兩端焊接有支撐架A和支撐架B,所述支撐架A和支撐架B上分別設有軸承座A和軸承座B,所述攪拌軸穿過爐體通過軸承安裝在軸承座A和軸承座B上。
3.根據權利要求1所述的污泥調質器,其特征在于:所述攪拌葉的一端部設有攪拌鋼塊。
說明書
污泥調質器
技術領域
本發明涉及污泥處理領域,具體是一種污泥調質器。
背景技術
污泥脫水是大部分污泥資源化利用技術的共性技術,而污泥脫水中,污泥的調質決定了污泥脫水率和脫水成本的高低,污泥在調質過程中,污泥與調質藥品的混合和反應過程,是影響調質藥品的使用量和使用效果的重要因素。現在使用的技術中,普遍采用了污泥與藥品在管道中混合或者通過靜態混合器(基本上采用的是文丘里的原理)混合。實際使用證明,現有調質藥品的混合方法,由于污泥的流體特性,影響了調質藥品的混合,混合效果不佳,調質藥品與污泥的混合均勻度低,造成污泥調質效果不均,而使用者為了達到調質要求,往往采用的方法就是加大調質藥品的加入量,從而增加了調質成本,并造成大量的調質藥品沒有發生反應而集聚成塊,對脫水設備的網部形成堵塞,多余的藥品又被排放的濾水或隨污泥排出,對環境造成二次污泥。因此,解決污泥與調質藥品的充分混合,對污泥調質是非常重要的,只有充分混合的基礎上,才能加快調質藥品的反應速度,并使調質效果均勻和提高,減少調質藥品的浪費。
發明內容
本發明的目的是提供一種調質藥品混合更均勻的污泥調質器。
為實現上述目的,本發明所采用的技術方案是:
污泥調質器,包括爐體、加熱夾套、調質藥品添加器、攪拌軸、攪拌葉、傳動機構和電機,所述爐體的頂部設有污泥加入口,爐體的底部設有排料管,所述加熱夾套設在爐體的外圍,攪拌葉設在爐體內且分布固定在攪拌軸上,所述調質藥品添加器將調質藥品送入爐體內,電機通過傳動機構帶動攪拌軸轉動。
進一步地,所述爐體1的兩端焊接有支撐架A和支撐架B,所述支撐架A和支撐架B上分別設有軸承座A和軸承座B,所述攪拌軸穿過爐體通過軸承安裝在軸承座A和軸承座B上。
進一步地,所述攪拌葉的一端部設有攪拌鋼塊。
本發明的有益效果:本專利與現有的靜態混合相比,混合均勻度提高30%以上;與現有混合調質藥品的技術相比,由于本裝置提供了調質藥品與污泥充分反應的條件,也縮短了藥品的反應時間,達到了節省調質藥品的目的,可節省調質藥品15%以上。



