申請日2017.10.09
公開(公告)日2018.01.05
IPC分類號C02F1/00
摘要
本發明公開了一種新型的污水處理裝置,包括灌水用管和出水用管,所述灌水用管和出水用管的一端均設置有與其固定安裝的限行板,所述限行板左端面固定安裝有密封墊,所述灌水用管內部的中部設置有第一孔槽和第二孔槽,所述出水用管內部的中部設置有第三孔槽,所述灌水用管內部的中部在位于所述第一孔槽和第二孔槽之間設置有安裝槽,所述灌水用管在位于所述安裝槽兩端的部位被一轉動軸貫通。本發明既能夠實現灌水作用,又能夠實現出水作用,此外,該裝置既能夠改變灌水的效率,又能夠實現出水的效率,從而使得灌水和出水之間的調控具有可變性,可變范圍廣,實用性較強。
權利要求書
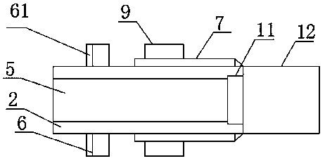
1.一種新型的污水處理裝置,包括灌水用管和出水用管,其特征在于:所述灌水用管和出水用管的一端均設置有與其固定安裝的限行板,所述限行板左端面固定安裝有密封墊,所述灌水用管內部的中部設置有第一孔槽和第二孔槽,所述出水用管內部的中部設置有第三孔槽,所述灌水用管內部的中部在位于所述第一孔槽和第二孔槽之間設置有安裝槽,所述灌水用管在位于所述安裝槽兩端的部位被一轉動軸貫通,且所述轉動軸在位于所述安裝槽內部的部位套接在一套筒的內部,且所述套筒的外側設置有多個攪動頁,所述灌水用管和出水用管在位于所述限行板一側的外側設置有外螺形紋,所述灌水用管和出水用管在外螺形紋的部位配合有第一螺形帽和第二螺形帽,所述灌水用管內部的一側設置有第二凹入槽,且所述第二凹入槽的內部插進連接一灌水控制裝置,所述出水用管內部的一側設置有第一凹入槽,所述第一凹入槽的內部插進連接一連接管,所述連接管的一端與柔性管的一端固定連接,所述柔性管內部的中部設置有通槽,所述柔性管的一端固定一灌水裝置,所述出水用管前后端面上還設置有手提裝置。
2.根據權利要求1所述的一種新型的污水處理裝置,其特征在于:所述灌水控制裝置包括灌水控制裝置用空洞管、灌水控制裝置用第二凹入部、灌水控制裝置用空洞槽、灌水控制裝置用第一限行圈、灌水控制裝置用第二限行圈、灌水控制裝置用第一限行孔、灌水控制裝置用第二限行孔、灌水控制裝置用封閉板、灌水控制裝置用凸緣部、灌水控制裝置用軸承、灌水控制裝置用螺形桿和灌水控制裝置用轉動板。
3.根據權利要求2所述的一種新型的污水處理裝置,其特征在于:所述灌水控制裝置用空洞管的一端設置有與其固定安裝的灌水控制裝置用第二凹入部,所述灌水控制裝置用空洞管和灌水控制裝置用第二凹入部內部的中部設置有灌水控制裝置用空洞槽,所述灌水控制裝置用第二凹入部插入到第二凹入槽的內部,所述灌水控制裝置用空洞管在位于所述灌水控制裝置用空洞槽的內部設置有與其固定安裝的灌水控制裝置用第一限行圈和灌水控制裝置用第二限行圈,所述灌水控制裝置用第一限行圈和灌水控制裝置用第二限行圈的中部分別設置有灌水控制裝置用第一限行孔和灌水控制裝置用第二限行孔,所述灌水控制裝置用空洞管在位于所述灌水控制裝置用第一限行圈和灌水控制裝置用第二限行圈之間安裝一灌水控制裝置用封閉板,且所述灌水控制裝置用封閉板與所述灌水控制裝置用第一限行圈和灌水控制裝置用第二限行圈之間為平行設置,所述灌水控制裝置用空洞管在位于所述灌水控制裝置用第一限行孔和灌水控制裝置用第二限行孔之間的正上端設置有與其固定安裝的灌水控制裝置用凸緣部,所述灌水控制裝置用封閉板頂部的中部通過灌水控制裝置用軸承固定一灌水控制裝置用螺形桿,所述灌水控制裝置用螺形桿貫通所述灌水控制裝置用凸緣部,且所述灌水控制裝置用凸緣部與所述灌水控制裝置用螺形桿在被其貫通的部位之間通過螺形配合連接,所述灌水控制裝置用螺形桿的頂部固定一所述灌水控制裝置用轉動板。
4.根據權利要求3所述的一種新型的污水處理裝置,其特征在于:所述灌水控制裝置用第一限行孔、灌水控制裝置用第二限行孔的半徑小于所述灌水控制裝置用封閉板的半徑。
5.根據權利要求4所述的一種新型的污水處理裝置,其特征在于:所述灌水控制裝置用第一限行圈和灌水控制裝置用第二限行圈之間的尺寸大于所述灌水控制裝置用封閉板的厚度。
6.根據權利要求1所述的一種新型的污水處理裝置,其特征在于:所述灌水控制裝置包括灌水控制裝置用環形空洞體、灌水控制裝置用環形空洞槽、灌水控制裝置用灌水腔、灌水控制裝置用直管、灌水控制裝置用第一凹入部和灌水控制裝置用直槽。
7.根據權利要求6所述的一種新型的污水處理裝置,其特征在于:所述灌水控制裝置用環形空洞體內部的中部設置有灌水控制裝置用環形空洞槽,所述灌水控制裝置用環形空洞體的一側設置有相通外部和灌水控制裝置用環形空洞槽的灌水控制裝置用灌水腔,所述灌水控制裝置用環形空洞體的另一側設置有與其固定安裝的灌水控制裝置用直管,所述灌水控制裝置用直管的一端設置有與其固定安裝的灌水控制裝置用第一凹入部,所述灌水控制裝置用第一凹入部插入到柔性管一端的內部,所述灌水控制裝置用直管和灌水控制裝置用第一凹入部內部的中部設置有相通外部和灌水控制裝置用環形空洞槽的灌水控制裝置用直槽。
8.根據權利要求1所述的一種新型的污水處理裝置,其特征在于:所述手提裝置包括固定安裝在所述出水用管前后端面且向前后延展的手提環,所述手提環與所述出水用管之間還設置有上下貫通的手提孔。
說明書
一種新型的污水處理裝置
技術領域
本發明涉及污水處理技術領域,具體為一種新型的污水處理裝置。
背景技術
目前,在污水處理池中,為了實現灌水和出水方便,通常會設置有用于處理污水的灌水和出水裝置,從而方便污水進入每個不同的污水處理池中,然而一般的灌水和出水裝置之間都是分開設置的,在使用工作中,無法進行有效的調控作用,具有一定的局限性。
發明內容
本發明的目的在于提供一種新型的污水處理裝置,以解決上述背景技術中提出的問題。
為實現上述目的,本發明提供如下技術方案:
一種新型的污水處理裝置,包括灌水用管和出水用管,所述灌水用管和出水用管的一端均設置有與其固定安裝的限行板,所述限行板左端面固定安裝有密封墊,所述灌水用管內部的中部設置有第一孔槽和第二孔槽,所述出水用管內部的中部設置有第三孔槽,所述灌水用管內部的中部在位于所述第一孔槽和第二孔槽之間設置有安裝槽,所述灌水用管在位于所述安裝槽兩端的部位被一轉動軸貫通,且所述轉動軸在位于所述安裝槽內部的部位套接在一套筒的內部,且所述套筒的外側設置有多個攪動頁,所述灌水用管和出水用管在位于所述限行板一側的外側設置有外螺形紋,所述灌水用管和出水用管在外螺形紋的部位配合有第一螺形帽和第二螺形帽,所述灌水用管內部的一側設置有第二凹入槽,且所述第二凹入槽的內部插進連接一灌水控制裝置,所述出水用管內部的一側設置有第一凹入槽,所述第一凹入槽的內部插進連接一連接管,所述連接管的一端與一柔性管的一端固定連接,所述柔性管內部的中部設置有通槽,所述柔性管的一端固定一灌水裝置,所述出水用管前后端面上還設置有手提裝置。
作為優選,所述灌水控制裝置包括灌水控制裝置用空洞管、灌水控制裝置用第二凹入部、灌水控制裝置用空洞槽、灌水控制裝置用第一限行圈、灌水控制裝置用第二限行圈、灌水控制裝置用第一限行孔、灌水控制裝置用第二限行孔、灌水控制裝置用封閉板、灌水控制裝置用凸緣部、灌水控制裝置用軸承、灌水控制裝置用螺形桿和灌水控制裝置用轉動板。
作為優選,所述灌水控制裝置用空洞管的一端設置有與其固定安裝的灌水控制裝置用第二凹入部,所述灌水控制裝置用空洞管和灌水控制裝置用第二凹入部內部的中部設置有灌水控制裝置用空洞槽,所述灌水控制裝置用第二凹入部插入到第二凹入槽的內部,所述灌水控制裝置用空洞管在位于所述灌水控制裝置用空洞槽的內部設置有與其固定安裝的灌水控制裝置用第一限行圈和灌水控制裝置用第二限行圈,所述灌水控制裝置用第一限行圈和灌水控制裝置用第二限行圈的中部分別設置有灌水控制裝置用第一限行孔和灌水控制裝置用第二限行孔,所述灌水控制裝置用空洞管在位于所述灌水控制裝置用第一限行圈和灌水控制裝置用第二限行圈之間安裝一灌水控制裝置用封閉板,且所述灌水控制裝置用封閉板與所述灌水控制裝置用第一限行圈和灌水控制裝置用第二限行圈之間為平行設置,所述灌水控制裝置用空洞管在位于所述灌水控制裝置用第一限行孔和灌水控制裝置用第二限行孔之間的正上端設置有與其固定安裝的灌水控制裝置用凸緣部,所述灌水控制裝置用封閉板頂部的中部通過灌水控制裝置用軸承固定一灌水控制裝置用螺形桿,所述灌水控制裝置用螺形桿貫通所述灌水控制裝置用凸緣部,且所述灌水控制裝置用凸緣部與所述灌水控制裝置用螺形桿在被其貫通的部位之間通過螺形配合連接,所述灌水控制裝置用螺形桿的頂部固定一所述灌水控制裝置用轉動板。
作為優選,所述灌水控制裝置用第一限行孔、灌水控制裝置用第二限行孔的半徑小于所述灌水控制裝置用封閉板的半徑。
作為優選,所述灌水控制裝置用第一限行圈和灌水控制裝置用第二限行圈之間的尺寸大于所述灌水控制裝置用封閉板的厚度。
作為優選,所述灌水控制裝置包括灌水控制裝置用環形空洞體、灌水控制裝置用環形空洞槽、灌水控制裝置用灌水腔、灌水控制裝置用直管、灌水控制裝置用第一凹入部和灌水控制裝置用直槽。
作為優選,所述灌水控制裝置用環形空洞體內部的中部設置有灌水控制裝置用環形空洞槽,所述灌水控制裝置用環形空洞體的一側設置有相通外部和灌水控制裝置用環形空洞槽的灌水控制裝置用灌水腔,所述灌水控制裝置用環形空洞體的另一側設置有與其固定安裝的灌水控制裝置用直管,所述灌水控制裝置用直管的一端設置有與其固定安裝的灌水控制裝置用第一凹入部,所述灌水控制裝置用第一凹入部插入到柔性管一端的內部,所述灌水控制裝置用直管和灌水控制裝置用第一凹入部內部的中部設置有相通外部和灌水控制裝置用環形空洞槽的灌水控制裝置用直槽。
作為優選,所述手提裝置包括固定安裝在所述出水用管前后端面且向前后延展的手提環,所述手提環與所述出水用管之間還設置有上下貫通的手提孔。
與現有技術相比,本發明的有益效果是:
本發明既能夠實現灌水作用,又能夠實現出水作用,此外,該裝置既能夠改變灌水的效率,又能夠實現出水的效率,從而使得灌水和出水之間的調控具有可變性,可變范圍廣,實用性較強。



