申請日2017.10.09
公開(公告)日2018.01.12
IPC分類號G01N1/14
摘要
本發明公開了一種環保型工業廢水移動式取樣裝置,包括移動式取樣器主體,所述移動式取樣器主體包括手持式取樣管和電器設備,所述手持式取樣管包括第一金屬管和第二金屬管,所述第一金屬管的一端位于所述第二金屬管的內部,且第一金屬管的外徑與所述第二金屬管的內徑相適應,所述第二金屬管的底部固定連接有橡膠軟管;所述電器設備包括殼體,所述殼體的內部上方固定安裝有第一水泵和第二水泵,所述第一水泵的進水端連接有進水管道,所述進水管道的下方固定設置有清水箱。本發明可適應各種狹小的環境,滲透膜可以對水進行簡單的過濾,防止泥沙進入手持式取樣管,可對手持式取樣管的清洗,避免殘留的污水影響下次取樣,具有使用效果好等優點。
權利要求書
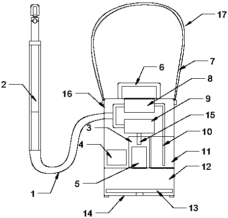
1.一種環保型工業廢水移動式取樣裝置,包括移動式取樣器主體(17),其特征在于:所述移動式取樣器主體(17)包括手持式取樣管(2)和電器設備(14),所述手持式取樣管(2)包括第一金屬管(24)和第二金屬管(27),所述第一金屬管(24)的一端位于所述第二金屬管(27)的內部,且第一金屬管(24)的外徑與所述第二金屬管(27)的內徑相適應,所述第二金屬管(27)的底部固定連接有橡膠軟管(1);所述電器設備(14)包括殼體(16),所述殼體(16)的內部上方固定安裝有第一水泵(8)和第二水泵(9),所述第一水泵(8)的進水端連接有進水管道(10),所述進水管道(10)的下方固定設置有清水箱(11),所述清水箱(11)的一側設置有采集窗(3),所述采集窗(3)內放置有取樣容器(5),所述取樣容器(5)的正上方固定設置有取樣口(15),所述取樣口(15)與所述第二水泵(9)的出水端相連接,所述第二水泵(9)進水端與所述橡膠軟管(1)連接,所述第一水泵(8)的出水端與所述橡膠軟管(1)連接,所述殼體(16)的內部固定設置有蓄電池(4),所述蓄電池(4)通過導線與所述第一水泵(8)和第二水泵(9)電路連接,所述殼體(16)的底部設置有樣品存儲箱(12)。
2.根據權利要求1所述的一種環保型工業廢水移動式取樣裝置,其特征在于:所述第二金屬管(27)的表面設置有取樣按鈕(25)和清洗按鈕(26),所述取樣按鈕(25)和清洗按鈕(26)通過導線與所述第一水泵(8)和第二水泵(9)電路連接。
3.根據權利要求1所述的一種環保型工業廢水移動式取樣裝置,其特征在于:所述殼體(16)頂部的中間位置固定設置有提手(6),所述殼體(16)頂部的兩側固定安裝有肩帶(7)。
4.根據權利要求1所述的一種環保型工業廢水移動式取樣裝置,其特征在于:所述清水箱(11)固定安裝在所述殼體(16)內壁上,所述進水管道(10)向下延伸至所述清水箱(11)的底部。
5.根據權利要求1所述的一種環保型工業廢水移動式取樣裝置,其特征在于:所述樣品存儲箱(12)的底部通過轉軸活動安裝有放置臺(13),所述放置臺(13)的表面均勻設置有若干與所述取樣容器(5)尺寸相適應的限位孔(131)。
6.根據權利要求1所述的一種環保型工業廢水移動式取樣裝置,其特征在于:所述第一金屬管(24)的頂部通過轉軸活動安裝有滲透膜(21),所述滲透膜(21)的內部固定設置有吸水管(22),所述吸水管(22)通過第一金屬管(24)與所述第二金屬管(25)相通。
7.根據權利要求1所述的一種環保型工業廢水移動式取樣裝置,其特征在于:所述第一金屬管(24)在所述第二金屬管(25)的內部滑動連接。
8.根據權利要求1所述的一種環保型工業廢水移動式取樣裝置,其特征在于:所述第二金屬管(25)的頂部在與所述第一金屬管(24)的接觸部位固定設置有密封圈(23)。
說明書
一種環保型工業廢水移動式取樣裝置
技術領域
本發明涉及污水取樣技術領域,具體為一種環保型工業廢水移動式取樣裝置。
背景技術
環保,全稱環境保護,是指人類為解決現實的或潛在的環境問題,協調人類與環境的關系,保障經濟社會的持續發展而采取的各種行動的總稱。其方法和手段有工程技術的、行政管理的,也有法律的、經濟的、宣傳教育的等。由于工業發展導致環境污染問題過于嚴重,首先引起工業化國家的重視而產生的,利用國家法律法規和輿論宣傳而使全社會重視和處理污染問題。工業廢水包括生產廢水、生產污水及冷卻水,是指工業生產過程中產生的廢水和廢液,其中含有隨水流失的工業生產用料、中間產物、副產品以及生產過程中產生的污染物。隨著工業的迅速發展,廢水的種類和數量迅猛增加,對水體的污染也日趨廣泛和嚴重,威脅人類的健康和安全。因此,對于保護環境來說,工業廢水的處理比城市污水的處理更為重要。
工業廢水是污染環境的重要因素,要對工業廢水進行處理,首先需要了解廢水里的一些物質,故要對工業廢水進行取樣,但是現有的取樣裝置需要人們接近水源才能取樣,使用不方便、不安全,另外取樣裝置結構簡單,不適合環境復雜的場所使用,取樣時容易采集較多的淤泥,使用效果差,樣品擺放混亂,不能進行自清洗。
發明內容
本發明的目的在于提供一種環保型工業廢水移動式取樣裝置,以解決上述背景技術中提出的問題。
為實現上述目的,本發明提供如下技術方案:一種環保型工業廢水移動式取樣裝置,包括移動式取樣器主體,所述移動式取樣器主體包括手持式取樣管和電器設備,所述手持式取樣管包括第一金屬管和第二金屬管,所述第一金屬管的一端位于所述第二金屬管的內部,且第一金屬管的外徑與所述第二金屬管的內徑相適應,所述第二金屬管的底部固定連接有橡膠軟管;所述電器設備包括殼體,所述殼體的內部上方固定安裝有第一水泵和第二水泵,所述第一水泵的進水端連接有進水管道,所述進水管道的下方固定設置有清水箱,所述清水箱的一側設置有采集窗,所述采集窗內放置有取樣容器,所述取樣容器的正上方固定設置有取樣口,所述取樣口與所述第二水泵的出水端相連接,所述第二水泵進水端與所述橡膠軟管連接,所述第一水泵的出水端與所述橡膠軟管連接,所述殼體的內部固定設置有蓄電池,所述蓄電池通過導線與所述第一水泵和第二水泵電路連接,所述殼體的底部設置有樣品存儲箱。
優選的,所述第二金屬管的表面設置有取樣按鈕和清洗按鈕,所述取樣按鈕和清洗按鈕通過導線與所述第一水泵和第二水泵電路連接。
優選的,所述殼體頂部的中間位置固定設置有提手,所述殼體頂部的兩側固定安裝有肩帶。
優選的,所述清水箱固定安裝在所述殼體內壁上,所述進水管道向下延伸至所述清水箱的底部。
優選的,所述樣品存儲箱的底部通過轉軸活動安裝有放置臺,所述放置臺的表面均勻設置有若干與所述取樣容器尺寸相適應的限位孔。
優選的,所述第一金屬管的頂部通過轉軸活動安裝有滲透膜,所述滲透膜的內部固定設置有吸水管,所述吸水管通過第一金屬管與所述第二金屬管相通。
優選的,所述第一金屬管在所述第二金屬管的內部滑動連接。
優選的,所述第二金屬管的頂部在與所述第一金屬管的接觸部位固定設置有密封圈。
與現有技術相比,本發明的有益效果是:
1、本發明通過設置由第一金屬管和第二金屬管組成的手持式取樣管,拉伸或者壓縮第一金屬管和第二金屬管可以變換手持式取樣管的長度,使得人們可以在較遠的位置對污水進行采集,防止人們需要進入淤泥附近可能造成滑倒或者腳陷于淤泥的帶來的麻煩。
2、本發明通過設置可轉動的滲透膜,使得手持式取樣管可適應各種狹小的環境,滲透膜可以對水進行簡單的過濾,防止泥沙進入手持式取樣管。
3、本發明通過設置第一水泵和第二水泵,第二水泵通過連接手持式取樣管進行取樣,取樣方便,控制簡單,第一水泵可將清水箱內的清水逆向泵入手持式取樣管,從而實現對手持式取樣管的清洗,避免殘留的污水影響下次取樣。
4、本發明設置有樣品存儲箱,防止樣品排放混亂,具有結構簡單、使用方便、使用效果好等優點。



