公布日:2023.09.19
申請日:2023.07.25
分類號:C02F1/04(2023.01)I;B01D1/22(2006.01)I;B01D1/00(2006.01)I;B01D9/00(2006.01)I
摘要
本申請公開了廢水蒸發結晶器裝置,涉及蒸發結晶器技術領域。本申請包括:預熱缸筒,包括缸體,所述缸體內頂部構造有分流腔,所述缸體上固定連接有與分流腔頂部相連通的進料管,所述缸體內設置有多個與分流腔底部相連通的換熱管,所述換熱管底部固定套設有存水框,所述缸體底部轉動安裝有位于存水框正下方的錐形斗,所述缸體內底部安裝有位于錐形斗下方的加熱器。本申請通過將廢水循環組件設置在預熱缸筒上,可以對缸體內的廢水循環抬升并利用換熱管再次注入到缸體底部,其間利用蒸汽進行循環加熱,提高與熱源的接觸面積,并且在加熱后散落到缸體底部時還可以進一步增加與熱源的接觸面積,加快蒸汽的產生速度,提高廢水濃縮效率。

權利要求書
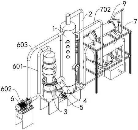
1.廢水蒸發結晶器裝置,其特征在于,包括:預熱缸筒(1),包括缸體(101),所述缸體(101)內頂部構造有分流腔(102),所述缸體(101)上固定連接有與分流腔(102)頂部相連通的進料管(103),所述缸體(101)內設置有多個與分流腔(102)底部相連通的換熱管(104),所述換熱管(104)底部固定套設有存水框(105),所述缸體(101)底部轉動安裝有位于存水框(105)正下方的錐形斗(106),所述缸體(101)內底部安裝有位于錐形斗(106)下方的加熱器(108),所述錐形斗(106)向上突出設置且中部構造有貫穿缸體(101)底部的溢流管(107);廢水循環組件(2),安裝在進料管(103)與溢流管(107)之間,所述廢水循環組件(2)包括固定連接在缸體(101)底部的強制循環泵(201),所述強制循環泵(201)另一端固定連接有與進料管(103)相連通的循環管道(202),所述循環管道(202)內轉動安裝有撥動輪(203),所述撥動輪(203)上端構造有貫穿循環管道(202)的轉動軸(204),所述轉動軸(204)與溢流管(107)之間通過齒輪傳動連接;中轉分離筒(3),通過中轉氣管(4)與中轉液管(5)連通在缸體(101)的一側,且用于分離廢水與蒸汽,所述中轉分離筒(3)與缸體(101)之間連通有蒸汽循環組件(6);真空結晶罐(7),其頂部一端連通有與中轉分離筒(3)相連通的進液管(701),所述真空結晶罐(7)內底部轉動安裝有兩個攪拌桿(8),所述真空結晶罐(7)底部固定連通有與缸體(101)相連通的進氣管(702),所述真空結晶罐(7)上安裝有與其頂部另一端相連通的冷凝組件(9)。
2.根據權利要求1所述的廢水蒸發結晶器裝置,其特征在于,所述中轉分離筒(3)包括豎筒(301),所述豎筒(301)內水平構造有位于中轉氣管(4)和中轉液管(5)之間的間隔板(302),所述中轉液管(5)與缸體(101)連接的一端與錐形斗(106)的底部相接設置,所述中轉氣管(4)與缸體(101)連接的一端位于錐形斗(106)的上方設置。
3.根據權利要求2所述的廢水蒸發結晶器裝置,其特征在于,所述缸體(101)內固定連接有套設在錐形斗(106)上的支撐環(1011),所述加熱器(108)安裝在支撐環(1011)上且位于錐形斗(106)的下側,所述支撐環(1011)上固定連接有貼合在錐形斗(106)圓錐面上的擋流板(1012),所述擋流板(1012)一端與中轉液管(5)的開口相接設置。
4.根據權利要求1所述的廢水蒸發結晶器裝置,其特征在于,所述蒸汽循環組件(6)包括固定連通在豎筒(301)頂部的輸氣管(601),所述輸氣管(601)的另一端固定連通有壓縮機(602),所述壓縮機(602)另一端固定連接有與缸體(101)相連通的出氣管(603),所述出氣管(603)的端部連接在分流腔(102)的下側。
5.根據權利要求1所述的廢水蒸發結晶器裝置,其特征在于,所述真空結晶罐(7)內底部一端構造有通氣框(703),所述通氣框(703)底部與進氣管(702)相連通,兩個所述攪拌桿(8)一端轉動插設在通氣框(703)內且端部固定套設有相互嚙合的氣動齒輪(801),所述通氣框(703)頂部構造有位于兩個氣動齒輪(801)上方的出氣口(704)。
6.根據權利要求5所述的廢水蒸發結晶器裝置,其特征在于,所述出氣口(704)上固定連通有噴氣管(7041),所述噴氣管(7041)固定連接在真空結晶罐(7)內底部,所述噴氣管(7041)上沿其長度方向陣列安裝有多個噴氣頭(7042),所述噴氣管(7041)兩側與真空結晶罐(7)內壁之間連接有用于包裹噴氣管(7041)的斜板(7043)。
7.根據權利要求6所述的廢水蒸發結晶器裝置,其特征在于,所述進液管(701)位于真空結晶罐(7)內的一端固定連通有橫管(7011),所述橫管(7011)上沿其長度方向陣列安裝有多個花灑(7012)。
8.根據權利要求1所述的廢水蒸發結晶器裝置,其特征在于,所述冷凝組件(9)包括設置在真空結晶罐(7)上方的換熱器(901),所述換熱器(901)頂部與真空結晶罐(7)頂部之間連通有蒸汽管(902),所述換熱器(901)底部固定連通有滴水管(903),所述真空結晶罐(7)的下方設置有與滴水管(903)相連通的冷卻箱(904)。
9.根據權利要求8所述的廢水蒸發結晶器裝置,其特征在于,所述換熱器(901)內安裝有U型冷卻管(9011),所述U型冷卻管(9011)的一端連通有進水管(9012)且另一端連通有出水管(9013),所述進水管(9012)的另一端通過水泵一(9014)與冷卻箱(904)相連通,所述出水管(9013)另一端連通在冷卻箱(904)上,所述冷卻箱(904)上固定連通有水泵二(9015),所述水泵二(9015)另一端通過三通管(10)分別與滴水管(903)以及存水框(105)底部相連通。
發明內容
本申請的目的在于:為解決上述背景技術中的問題,本申請提供了廢水蒸發結晶器裝置。
本申請為了實現上述目的具體采用以下技術方案:
廢水蒸發結晶器裝置,包括:
預熱缸筒,包括缸體,所述缸體內頂部構造有分流腔,所述缸體上固定連接有與分流腔頂部相連通的進料管,所述缸體內設置有多個與分流腔底部相連通的換熱管,所述換熱管底部固定套設有存水框,所述缸體底部轉動安裝有位于存水框正下方的錐形斗,所述缸體內底部安裝有位于錐形斗下方的加熱器,所述錐形斗向上突出設置且中部構造有貫穿缸體底部的溢流管;
廢水循環組件,安裝在進料管與溢流管之間;
中轉分離筒,通過中轉氣管與中轉液管連通在缸體的一側,且用于分離廢水與蒸汽,所述中轉分離筒與缸體之間連通有蒸汽循環組件;
真空結晶罐,其頂部一端連通有與中轉分離筒相連通的進液管,所述真空結晶罐內底部轉動安裝有兩個攪拌桿,所述真空結晶罐底部固定連通有與缸體相連通的進氣管,所述真空結晶罐上安裝有與其頂部另一端相連通的冷凝組件。
進一步地,所述中轉分離筒包括豎筒,所述豎筒內水平構造有位于中轉氣管和中轉液管之間的間隔板,所述中轉液管與缸體連接的一端與錐形斗的底部相接設置,所述中轉氣管與缸體連接的一端位于錐形斗的上方設置。
進一步地,所述缸體內固定連接有套設在錐形斗上的支撐環,所述加熱器安裝在支撐環上且位于錐形斗的下側,所述支撐環上固定連接有貼合在錐形斗圓錐面上的擋流板,所述擋流板一端與中轉液管的開口相接設置。
進一步地,所述廢水循環組件包括固定連接在缸體底部的強制循環泵,所述強制循環泵另一端固定連接有與進料管相連通的循環管道,所述循環管道內轉動安裝有撥動輪,所述撥動輪上端構造有貫穿循環管道的轉動軸,所述轉動軸與溢流管之間通過齒輪傳動連接。
進一步地,所述蒸汽循環組件包括固定連通在豎筒頂部的輸氣管,所述輸氣管的另一端固定連通有壓縮機,所述壓縮機另一端固定連接有與缸體相連通的出氣管,所述出氣管的端部連接在分流腔的下側。
進一步地,所述真空結晶罐內底部一端構造有通氣框,所述通氣框底部與進氣管相連通,兩個所述攪拌桿一端轉動插設在通氣框內且端部固定套設有相互嚙合的氣動齒輪,所述通氣框頂部構造有位于兩個氣動齒輪上方的出氣口。
進一步地,所述出氣口上固定連通有噴氣管,所述噴氣管固定連接在真空結晶罐內底部,所述噴氣管上沿其長度方向陣列安裝有多個噴氣頭,所述噴氣管兩側與真空結晶罐內壁之間連接有用于包裹噴氣管的斜板。
進一步地,所述進液管位于真空結晶罐內的一端固定連通有橫管,所述橫管上沿其長度方向陣列安裝有多個花灑。
進一步地,所述冷凝組件包括設置在真空結晶罐上方的換熱器,所述換熱器頂部與真空結晶罐頂部之間連通有蒸汽管,所述換熱器底部固定連通有滴水管,所述真空結晶罐的下方設置有與滴水管相連通的冷卻箱。
進一步地,所述換熱器內安裝有U型冷卻管,所述U型冷卻管的一端連通有進水管且另一端連通有出水管,所述進水管的另一端通過水泵一與冷卻箱相連通,所述出水管另一端連通在冷卻箱上,所述冷卻箱上固定連通有水泵二,所述水泵二另一端通過三通管分別與滴水管以及存水框底部相連通。
本申請的有益效果如下:
1、本申請通過將廢水循環組件設置在預熱缸筒上,可以對缸體內注入的廢水循環進行抬升并利用換熱管再次注入到缸體底部,循環往復可以實現多次在換熱管內進行加熱的效果,并且在加熱后散落到缸體底部時還可以增加與缸體內部空間的接觸面積,從而加快蒸汽的產生速度,進而提高廢水濃縮效率。
2、本申請通過將蒸汽循環組件設置在缸體與中轉分離筒之間,可以利用廢水產生的蒸汽對廢水循環組件中的廢水進行加熱,無需額外的熱源,節約能耗,并且利用進氣管將缸體與真空結晶罐進行連通,真空結晶罐內部呈負壓真空狀態,可以極大地減小廢水的沸點,利用缸體內的蒸汽即可對真空結晶罐內的廢水進行加熱,以此來達到二次加熱的效果,進一步節省了能源消耗。
3、本申請通過在真空結晶罐內設置攪拌桿可以對其中的濃縮廢水進行持續攪拌,增加廢水與真空結晶罐內空腔的接觸面積,從而提高蒸發效率,并且可以避免結晶體結塊現象的產生,提高安全性。
(發明人:鮑天鈞;鮑天鈺)






