公布日:2024.05.14
申請日:2024.04.11
分類號:C02F1/40(2023.01)I;C02F103/32(2006.01)N
摘要
本發明涉及污水處理技術領域,具體公開了一種食品生產污水凈化裝置,包括:處理槽;支撐組件,每側的支撐組件均包括轉動連接的外側支撐件和內側盤,兩個內側盤之間連接有主軸,外側支撐件上設有分別圍繞主軸分布的調向齒和蓄力齒;打撈組件,包括多個圍繞主軸均勻分布的撈斗,撈斗具有多個過水孔,撈斗長度方向的兩端設有轉軸,轉軸與其對應側的轉動盤轉動連接,轉軸上設有第一齒輪和第二齒輪,第一齒輪能夠與調向齒嚙合,第二齒輪與轉軸之間設有渦卷彈簧,第二齒輪能夠與蓄力齒嚙合;限制組件,用于限制轉軸自由轉動;收集箱,具有朝向打撈組件的傾倒口。該食品生產污水凈化裝置避免過水孔堵塞,減少維護成本和人力投入。

權利要求書
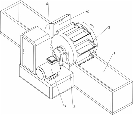
1.一種食品生產污水凈化裝置,其特征在于,包括:處理槽(1),所述處理槽(1)外設有電機(7),所述電機(7)用于驅動主軸(20)轉動;支撐組件(2),鏡像設置于所述處理槽(1)長度的兩側,每側的所述支撐組件(2)均包括轉動連接的外側支撐件和內側盤(22),所述外側支撐件與所述處理槽(1)固定,兩個所述內側盤(22)之間連接有主軸(20),所述外側支撐件上設有分別圍繞所述主軸(20)分布的調向齒(241)和蓄力齒(242);所述外側支撐件包括固定連接的外側盤(23)和固定環(24),所述支撐組件(2)還包括與所述主軸(20)固定連接的蓋盤(21),所述蓋盤(21)位于所述內側盤(22)背離所述外側盤(23)的一側,所述蓋盤(21)與所述內側盤(22)之間具有第一空腔(25),所述內側盤(22)與所述外側盤(23)之間具有第二空腔(26),所述固定環(24)圍繞所述蓋盤(21)和所述內側盤(22)的外周側設置;打撈組件(3),位于兩個所述支撐組件(2)之間,所述打撈組件(3)包括多個圍繞所述主軸(20)均勻分布的撈斗(30),所述撈斗(30)具有多個過水孔(32),所述撈斗(30)長度方向的兩端設有轉軸(31),所述轉軸(31)與其對應側的所述內側盤(22)轉動連接,所述轉軸(31)上設有第一齒輪(311)和第二齒輪(312),所述第一齒輪(311)能夠與所述調向齒(241)嚙合,所述第二齒輪(312)與所述轉軸(31)之間設有渦卷彈簧(313),所述第二齒輪(312)能夠與所述蓄力齒(242)嚙合;撈斗(30)將漂浮物撈起并跟隨內側盤(22)轉動至大致水平狀態后,隨著其跟隨內側盤(22)繼續轉動,撈斗(30)將從大致水平狀態逐漸偏轉傾斜,為避免撈斗(30)出現較大程度傾斜致使撈斗(30)撈起的漂浮物從撈斗(30)中掉落,撈斗(30)在跟隨內側盤(22)繼續轉動的過程中,第一齒輪(311)能夠間歇性與調向齒(241)嚙合,通過調向齒(241)撥動第一齒輪(311),使第一齒輪(311)帶動轉軸(31)和撈斗(30)往與內側盤(22)轉動方向相反的方向轉動,對撈斗(30)跟隨內側盤(22)轉動產生的偏轉角度進行反向補償校正,使撈斗(30)保持在大致水平狀態;撈斗(30)保持在大致水平狀態跟隨內側盤(22)轉動的過程中,第二齒輪(312)能夠與蓄力齒(242)嚙合,并通過蓄力齒(242)撥動第二齒輪(312),使渦卷彈簧(313)積蓄一定的彈性勢能,用于在撈斗(30)跟隨內側盤(22)轉動至傾倒口(60)處釋放,使撈斗(30)瞬間快速轉動,將其中的漂浮物扣入傾倒口(60);限制組件(4),設于所述內側盤(22)上,用于限制所述轉軸(31)自由轉動,所述限制組件(4)的數量為多個,并與所述轉軸(31)一一對應設置,所述限制組件(4)包括固定桿(40)和伸縮桿(41),所述固定桿(40)固定在所述內側盤(22)上,所述伸縮桿(41)的一端與所述固定桿(40)轉動連接,所述伸縮桿(41)的另一端呈曲面,并伸入所述第一齒輪(311)的齒槽,所述固定桿(40)與所述伸縮桿(41)之間設有第一彈性件(42);還包括解鎖組件,所述解鎖組件包括兩個撥桿(50),所述內側盤(22)上開設有多個通槽(220),并與所述限制組件(4)一一對應設置,兩個所述撥桿(50)設在所述外側支撐件上,所述撥桿(50)與所述外側支撐件之間設有第二彈性件(51),所述內側盤(22)轉動時,所述撥桿(50)能夠伸出所述通槽(220),并推動所述伸縮桿(41),使所述伸縮桿(41)從所述第一齒輪(311)的齒槽中脫離,其中一個撥桿(50)靠近傾倒口(60)處,另一個撥桿(50)位于主軸(20)的下方,撈斗(30)跟隨內側盤(22)轉動至傾倒口(60)處時,渦卷彈簧(313)積蓄的能量需要釋放,此時內側盤(22)轉動至傾倒口(60)處的撥桿(50)伸出通槽(220),并推動伸縮桿(41),使伸縮桿(41)從第一齒輪(311)的齒槽中脫離,將渦卷彈簧(313)與轉軸(31)的連接端解鎖至可自由轉動的狀態,并且由于第二齒輪(312)與蓄力齒(242)保持嚙合,渦卷彈簧(313)積蓄的能量得到釋放,從而使轉軸(31)帶動撈斗(30)由大致水平狀態往傾倒口(60)的方向瞬間快速轉動,將其中的漂浮物猛地扣入傾倒口(60);收集箱(6),設于所述處理槽(1)上,所述收集箱(6)具有朝向所述打撈組件(3)的傾倒口(60),所述收集箱(6)的底部與出料管(62)連通,所述收集箱(6)在所述傾倒口(60)寬度方向的兩側設有兩個傾倒板(61),所述傾倒板(61)具有由所述收集箱(6)往所述打撈組件(3)方向向下傾斜的斜面,用于與所述撈斗(30)的開口端抵接。
2.根據權利要求1所述的一種食品生產污水凈化裝置,其特征在于,所述撈斗(30)包括底板(301)、兩個側板(302)和兩個端板(303),兩個所述側板(302)分別位于所述底板(301)長度方向的兩側,并與所述底板(301)轉動連接,所述底板(301)與所述側板(302)之間設有扭簧,兩個所述端板(303)分別位于所述底板(301)長度方向的兩端,并與所述底板(301)固定連接。
3.根據權利要求2所述的一種食品生產污水凈化裝置,其特征在于,還包括擠水組件,所述擠水組件的數量為多個,并與所述轉軸(31)一一對應設置,所述擠水組件包括第三齒輪(813)、第四齒輪(814)、第五齒輪(825)和線輪(826),所述第三齒輪(813)和所述第四齒輪(814)分別套設在第一軸(81)上,并與所述第一軸(81)固定連接,所述第一軸(81)可轉動的設置在所述第一齒輪(311)上,所述第五齒輪(825)和所述線輪(826)分別套設在第二軸(82)上,并與所述第二軸(82)固定連接,所述第五齒輪(825)與所述第四齒輪(814)嚙合,所述外側支撐件上還設有圍繞所述主軸(20)分布的擠水齒(243),所述第三齒輪(813)能夠與所述擠水齒(243)嚙合,所述線輪(826)上纏繞有兩個控制線(8260),兩個所述控制線(8260)的一端均與所述第二軸(82)固定連接,兩個所述控制線(8260)的另一端分別與兩個所述側板(302)固定連接。
4.根據權利要求3所述的一種食品生產污水凈化裝置,其特征在于,兩個所述控制線(8260)分別通過滑桿(3020)與其對應側的所述側板(302)固定連接,所述端板(303)上開設有用于放置所述滑桿(3020)的弧形槽(3030)。
5.根據權利要求4所述的一種食品生產污水凈化裝置,其特征在于,所述端板(303)上的兩個所述弧形槽(3030)相互靠近的一端分別設有斜面。
發明內容
本發明提供一種食品生產污水凈化裝置,旨在解決相關技術中食品生產污水凈化裝置存在的容易造成格柵的堵塞,運維成本和人力投入較高的問題。
本發明的一種食品生產污水凈化裝置,包括:處理槽;支撐組件,鏡像設置于所述處理槽長度的兩側,每側的所述支撐組件均包括轉動連接的外側支撐件和內側盤,所述外側支撐件與所述處理槽固定,兩個所述內側盤之間連接有主軸,所述外側支撐件上設有分別圍繞所述主軸分布的調向齒和蓄力齒;打撈組件,位于兩個所述支撐組件之間,所述打撈組件包括多個圍繞所述主軸均勻分布的撈斗,所述撈斗具有多個過水孔,所述撈斗長度方向的兩端設有轉軸,所述轉軸與其對應側的所述內側盤轉動連接,所述轉軸上設有第一齒輪和第二齒輪,所述第一齒輪能夠與所述調向齒嚙合,所述第二齒輪與所述轉軸之間設有渦卷彈簧,所述第二齒輪能夠與所述蓄力齒嚙合;限制組件,設于所述內側盤上,用于限制所述轉軸自由轉動;收集箱,設于所述處理槽上,所述收集箱具有朝向所述打撈組件的傾倒口,所述收集箱的底部與出料管連通。
優選的,所述限制組件的數量為多個,并與所述轉軸一一對應設置,所述限制組件包括固定桿和伸縮桿,所述固定桿固定在所述內側盤上,所述伸縮桿的一端與所述固定桿轉動連接,所述伸縮桿的另一端呈曲面,并伸入所述第一齒輪的齒槽,所述固定桿與所述伸縮桿之間設有第一彈性件。
優選的,還包括解鎖組件,所述解鎖組件包括兩個撥桿,所述內側盤上開設有多個通槽,并與所述限制組件一一對應設置,兩個所述撥桿設在所述外側支撐件上,所述撥桿與所述外側支撐件之間設有第二彈性件,所述內側盤轉動時,所述撥桿能夠伸出所述通槽,并推動所述伸縮桿,使所述伸縮桿從所述第一齒輪的齒槽中脫離。
優選的,所述處理槽外設有電機,所述電機用于驅動所述主軸轉動。
優選的,所述收集箱在所述傾倒口寬度方向的兩側設有兩個傾倒板,所述傾倒板具有由所述收集箱往所述打撈組件方向向下傾斜的斜面,用于與所述撈斗的開口端抵接。
優選的,所述外側支撐件包括固定連接的外側盤和固定環,所述支撐組件還包括與所述主軸固定連接的蓋盤,所述蓋盤位于所述內側盤背離所述外側盤的一側,所述蓋盤與所述內側盤之間具有第一空腔,所述內側盤與所述外側盤之間具有第二空腔,所述固定環圍繞所述蓋盤和所述內側盤的外周側設置。
優選的,所述撈斗包括底板、兩個側板和兩個端板,兩個所述側板分別位于所述底板長度方向的兩側,并與所述底板轉動連接,所述底板與所述側板之間設有扭簧,兩個所述端板分別位于所述底板長度方向的兩端,并與所述底板固定連接。
優選的,還包括擠水組件,所述擠水組件的數量為多個,并與所述轉軸一一對應設置,所述擠水組件包括第三齒輪、第四齒輪、第五齒輪和線輪,所述第三齒輪和所述第四齒輪分別套設在第一軸上,并與所述第一軸固定連接,所述第一軸可轉動的設置在所述第一齒輪上,所述第五齒輪和所述線輪分別套設在第二軸上,并與所述第二軸固定連接,所述第五齒輪與所述第四齒輪嚙合,所述外側支撐件上還設有圍繞所述主軸分布的擠水齒,所述第三齒輪能夠與所述擠水齒嚙合,所述線輪上纏繞有兩個控制線,兩個所述控制線的一端均與所述第二軸固定連接,兩個所述控制線的另一端分別與兩個所述側板固定連接。
優選的,兩個所述控制線分別通過滑桿與其對應側的所述側板固定連接,所述端板上開設有用于放置所述滑桿的弧形槽。
優選的,所述端板上的兩個所述弧形槽相互靠近的一端分別設有斜面。
采用了上述技術方案,本發明的有益效果為:通過在處理槽的上方設置跟隨內側盤轉動的撈斗,并通過蓄力齒和調向齒對撈斗的狀態進行調節,從而對處理槽中的大量纖維、殘渣等漂浮物進行自動撈起和排放,并且能夠通過撈斗與收集箱之間的磕碰動作,使得過水孔處的漂浮物松動,與過水孔脫離,將過水孔處的漂浮物磕入收集箱中,避免過水孔堵塞,從而減少維護成本和人力投入。
(發明人:牛志敏;李福義;姜冠虎;侶麗莎)






