公布日:2023.12.12
申請日:2023.10.10
分類號:C02F11/10(2006.01)I;C10B53/00(2006.01)I;C10B51/00(2006.01)I;B01J19/14(2006.01)I
摘要
本申請公開了一種具有多點熱風爐裝置的污泥熱解反應釜,涉及環保裝置技術領域,包括釜身用于提供污泥發生熱解反應的容納空間;進料裝置用于將污泥送入釜身內部;出料裝置用于將熱解后的污泥產物從釜身中排出;其中,出料裝置還包含出氣裝置,用于將污泥熱解產生的氣體排出,出氣裝置設置于釜身上部;反應釜還包括預干燥裝置,預干燥裝置一端連通進料裝置,預干燥裝置另一端連通釜身,預干燥裝置一端設有輸送件,輸送件伸入釜身中;反應釜還包括供熱裝置,供熱裝置伸入釜身中。本申請的有益之處在于提供了一種采用惰性氣體作為熱源且能夠將污泥進行較為徹底的熱解反應的污泥熱解反應釜。

權利要求書
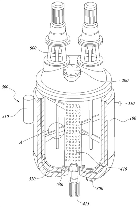
1.一種具有多點熱風爐裝置的污泥熱解反應釜,包括,釜身,用于提供污泥發生熱解反應的容納空間;進料裝置,用于將污泥送入所述釜身內部;出料裝置,用于將熱解后的污泥產物從所述釜身中排出;其中,所述出料裝置還包含出氣裝置,用于將污泥熱解產生的氣體排出,所述出氣裝置設置于所述釜身上部;其特征在于:所述反應釜還包括預干燥裝置,所述預干燥裝置一端連通所述進料裝置,所述預干燥裝置另一端連通所述釜身,所述預干燥裝置一端設有輸送件,所述輸送件伸入所述釜身中;所述反應釜還包括供熱裝置,所述供熱裝置伸入所述釜身中;其中,所述預干燥裝置包括干燥室,所述干燥室一端連接于所述進料裝置,所述干燥室另一端連接于所述輸送件;所述輸送件包含外殼、螺旋輸送部和驅動部,所述驅動部驅動所述螺旋輸送部轉動,所述螺旋輸送部位于所述外殼中,所述外殼上設有若干輸送孔,所述輸送孔連通外殼內部空間和所述釜身的容納空間,所述外殼從所述釜身的第一端延伸至所述釜身的第二端;所述供熱裝置包含熱源、供熱管道和噴嘴,所述熱源產生的熱氣通過供熱管道連通所述噴嘴,所述噴嘴出氣口設置于所述釜身的容納空間中;所述噴嘴設置于所述外殼一側,所述噴嘴的出氣口的出氣方向與所述外殼的軸線方向平行;在所述釜身的第一端和/或第二端位置處所述噴嘴周向設置于所述外殼外部;所述外殼件上設有導風部,所述導風部套設于所述外殼上,所述導風部與所述噴嘴靠近的一面具有導風面。
2.根據權利要求1所述的具有多點熱風爐裝置的污泥熱解反應釜,其特征在于:所述螺旋輸送部內部設有電加熱設備。
3.根據權利要求1所述的具有多點熱風爐裝置的污泥熱解反應釜,其特征在于:所述導風部在所述外殼上具有多個安裝位。
4.根據權利要求1或3所述的具有多點熱風爐裝置的污泥熱解反應釜,其特征在于:所述導風面為弧形面。
5.根據權利要求4所述的具有多點熱風爐裝置的污泥熱解反應釜,其特征在于:所述釜身上還設有攪拌件,所述攪拌件內部設有風道且所述攪拌件外表面上設有若干風孔連通所述風道,所述熱源產生的熱氣通過所述供熱管道連通所述風道。
發明內容
本申請的內容部分用于以簡要的形式介紹構思,這些構思將在后面的具體實施方式部分被詳細描述。本申請的內容部分并不旨在標識要求保護的技術方案的關鍵特征或必要特征,也不旨在用于限制所要求的保護的技術方案的范圍。
為解決以上背景技術部分提到的技術問題,本申請的一些實施例提供了一種具有多點熱風爐裝置的污泥熱解反應釜,包括,
釜身,用于提供污泥發生熱解反應的容納空間;
進料裝置,用于將污泥送入釜身內部;
出料裝置,用于將熱解后的污泥產物從釜身中排出;
其中,出料裝置還包含出氣裝置,用于將污泥熱解產生的氣體排出,出氣裝置設置于釜身上部;
反應釜還包括預干燥裝置,預干燥裝置一端連通進料裝置,預干燥裝置另一端連通釜身,預干燥裝置一端設有輸送件,輸送件伸入釜身中;
反應釜還包括供熱裝置,供熱裝置伸入釜身中;
預干燥裝置包括干燥室,干燥室一端連接于進料裝置,干燥室另一端連接于輸送件;
輸送件包含外殼、螺旋輸送部和驅動部,驅動部驅動螺旋輸送部轉動,螺旋輸送部位于外殼中,外殼上設有若干輸送孔,輸送孔連通外殼內部空間和釜身的容納空間,外殼從釜身的第一端延伸至釜身的第二端。
進一步的,螺旋輸送部內部設有電加熱設備。
進一步的,供熱裝置包含熱源、供熱管道和噴嘴,熱源產生的熱氣通過供熱管道連通噴嘴,噴嘴出氣口設置于釜身的容納空間中。
進一步的,噴嘴設置于外殼一側,噴嘴的出氣口的出氣方向與外殼的軸線方向平行。
進一步的,在釜身的第一端和/或第二端位置處噴嘴周向設置于外殼外部。
進一步的,外殼件上設有導風部,導風部套設于外殼上,導風部與噴嘴靠近的一面具有導風面。
進一步的,導風部在外殼上具有多個安裝位。
進一步的,導風面為弧形面。
進一步的,釜身上還設有攪拌件,攪拌件內部設有風道且攪拌件外表面上設有若干風孔連通風道,熱源產生的熱氣通過供熱管道連通風道。
本申請的有益效果在于:提供了一種采用惰性氣體作為熱源且能夠將污泥進行較為徹底的熱解反應的污泥熱解反應釜。
(發明人:李藝;肖國華;田菲;周田;許杰;邵朝紅;劉波;江鈺;歐陽李黎;李泓曦)






