公布日:2023.11.28
申請日:2023.09.11
分類號:C02F1/52(2023.01)I;C02F1/00(2023.01)I;B01D33/17(2006.01)I;B01D33/50(2006.01)I;B01D36/00(2006.01)I;B30B9/04(2006.01)I;C02F103/30(2006.01)N
摘要
本發明公開了一種噴織廢水處理用絮凝處理設備,屬于廢水處理領域,該裝置包括絮凝池,所述絮凝池內部固定連接有環形架,所述環形架內壁固定連接有固定板,所述固定板一側固定連接有驅動電機,所述驅動電機輸出端貫穿固定板并固定連接有轉盤,所述轉盤外壁固定連接有環形過濾盤,所述環形架頂部內壁固定連接有沖洗罩和收集罩,所述沖洗罩和收集罩分別位于環形過濾盤兩側且與環形過濾盤兩側相貼;驅動電機帶動轉盤外壁的環形過濾盤轉動,將環形過濾盤底下半圓部分對絮凝池內部的絮凝物進行過濾攔截,然后環形過濾盤轉動架將攔截的絮凝物帶到沖洗罩的位置,通過沖洗罩對環形過濾盤上附著的絮凝物進行反向吹除到收集罩內部進行清理收集。

權利要求書
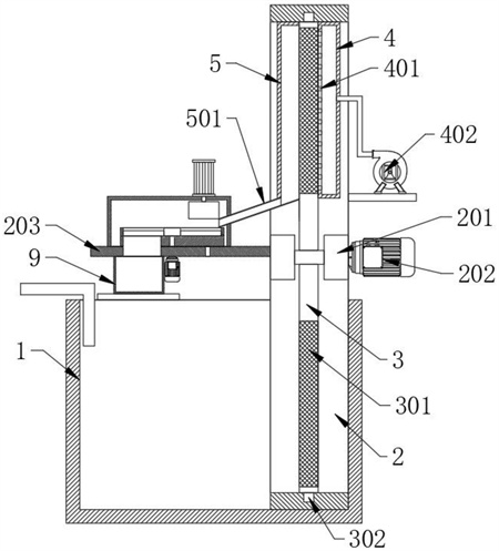
1.一種噴織廢水處理用絮凝處理設備,包括絮凝池(1),其特征在于,所述絮凝池(1)內部固定連接有環形架(2),所述環形架(2)內壁固定連接有固定板(201),所述固定板(201)一側固定連接有驅動電機(202),所述驅動電機(202)輸出端貫穿固定板(201)并固定連接有轉盤(3),所述轉盤(3)外壁固定連接有環形過濾盤(301),所述環形架(2)頂部內壁固定連接有沖洗罩(4)和收集罩(5),所述沖洗罩(4)與環形過濾盤(301)相貼。
2.根據權利要求1所述的一種噴織廢水處理用絮凝處理設備,其特征在于,所述環形過濾盤(301)外壁固定連接有密封圈(302),所述環形架(2)內壁開設有環形槽(205),所述密封圈(302)轉動在環形槽(205)內部。
3.根據權利要求1所述的一種噴織廢水處理用絮凝處理設備,其特征在于,所述環形架(2)一側固定連接供氣泵(402),所述供氣泵(402)輸出端與沖洗罩(4)相連通。
4.根據權利要求1所述的一種噴織廢水處理用絮凝處理設備,其特征在于,所述環形架(2)一側固定連接有支撐板(203),所述支撐板(203)頂部固定連接有固定盤(6),所述固定盤(6)外側套設有密封罩(2031),所述密封罩(2031)一側固定連接有進料管(501),所述進料管(501)遠離密封罩(2031)的一端與收集罩(5)底部相連通,所述密封罩(2031)頂部固定連接有擠壓氣缸(7),所述擠壓氣缸(7)輸出端貫穿密封罩(2031)并固定連接有擠壓板(701)。
5.根據權利要求4所述的一種噴織廢水處理用絮凝處理設備,其特征在于,所述擠壓板(701)的高度為進料管(501)的二倍且擠壓板(701)的一側與進料管(501)相貼。
6.根據權利要求4所述的一種噴織廢水處理用絮凝處理設備,其特征在于,所述固定盤(6)外壁固定連接有攔截圈(601),所述攔截圈(601)一側開設有多組排水孔(603),所述支撐板(203)頂部開設有貫穿的通槽(2032)。
7.根據權利要求6所述的一種噴織廢水處理用絮凝處理設備,其特征在于,所述固定盤(6)頂部轉動連接有轉動塊(8),所述轉動塊(8)外壁固定連接多組圓周陣列的刮板(801),所述支撐板(203)底部固定連接有推料電機(802),所述推料電機(802)輸出端貫穿支撐板(203)和固定盤(6)并與轉動塊(8)固定相連,所述固定盤(6)一側開設有排料槽(602)。
8.根據權利要求7所述的一種噴織廢水處理用絮凝處理設備,其特征在于,所述絮凝池(1)頂部設置有收集箱(9),所述收集箱(9)位于排料槽(602)下方。
9.根據權利要求1所述的一種噴織廢水處理用絮凝處理設備,其特征在于,所述環形架(2)兩側固定連接有連接板(204),所述連接板(204)與絮凝池(1)兩側內壁相貼。
發明內容
為了克服上述的技術問題,本發明的目的在于提供一種噴織廢水處理用絮凝處理設備,以解決現有技術中由于廢水中含有大量紡織纖維,導致過濾裝置沒運行多久就會聚集大量的紡織纖維,極易堵塞,需要頻繁的清洗或者更換,不利于生產效率的提高的問題。
本發明的目的可以通過以下技術方案實現:
一種噴織廢水處理用絮凝處理設備,包括絮凝池,所述絮凝池內部固定連接有環形架,所述環形架內壁固定連接有固定板,所述固定板一側固定連接有驅動電機,所述驅動電機輸出端貫穿固定板并固定連接有轉盤,所述轉盤外壁固定連接有環形過濾盤,所述環形架頂部內壁固定連接有沖洗罩和收集罩,所述沖洗罩與環形過濾盤相貼。
作為本發明進一步的方案:所述環形過濾盤外壁固定連接有密封圈,所述環形架內壁開設有環形槽,所述密封圈轉動在環形槽內部。
作為本發明進一步的方案:所述環形架一側固定連接供氣泵,所述供氣泵輸出端與沖洗罩相連通。
作為本發明進一步的方案:所述環形架一側固定連接有支撐板,所述支撐板頂部固定連接有固定盤,所述固定盤外側套設有密封罩,所述密封罩一側固定連接有進料管,所述進料管遠離密封罩的一端與收集罩底部相連通,所述密封罩頂部固定連接有擠壓氣缸,所述擠壓氣缸輸出端貫穿密封罩并固定連接有擠壓板。
作為本發明進一步的方案:所述擠壓板的高度為進料管的二倍且擠壓板的一側與進料管相貼。
作為本發明進一步的方案:所述固定盤外壁固定連接有攔截圈,所述攔截圈一側開設有多組排水孔,所述支撐板頂部開設有貫穿的通槽。
作為本發明進一步的方案:所述固定盤頂部轉動連接有轉動塊,所述轉動塊外壁固定連接多組圓周陣列的刮板,所述支撐板底部固定連接有推料電機,所述推料電機輸出端貫穿支撐板和固定盤并與轉動塊固定相連,所述固定盤一側開設有排料槽。
作為本發明進一步的方案:所述絮凝池頂部設置有收集箱,所述收集箱位于排料槽下方。
作為本發明進一步的方案:所述環形架兩側固定連接有連接板,所述連接板與絮凝池兩側內壁相貼。
本發明的有益效果:
1、本發明中,通過驅動電機帶動轉盤外壁的環形過濾盤轉動,將環形過濾盤底下半圓部分對絮凝池內部的絮凝物進行過濾攔截,然后環形過濾盤轉動架將攔截的絮凝物帶到沖洗罩的位置,通過沖洗罩對環形過濾盤上附著的絮凝物進行反向吹除到收集罩內部進行清理收集,提高對絮凝物清理收集的方便性,減少絮凝物在絮凝池底部沉淀堆積。
2、本發明中,通過擠壓氣缸帶動擠壓板向下移動,對進料管送入到固定盤上的絮凝物進行擠壓,將絮凝物中的水分擠出,然后推料電機通過轉動塊帶動刮板將脫水后的絮凝物帶動到排料槽內排出到收集箱內部進行收集,提高對絮凝物后續處理收集的方便性。
(發明人:高毛林;徐玉嵐;鄧鵬)






