公布日:2024.06.14
申請日:2024.05.17
分類號:B01D35/12(2006.01)I;B01D29/74(2006.01)I;B01D29/96(2006.01)I;B01D29/11(2006.01)I
摘要
本發明涉及污水處理技術領域,本發明公開了一種過濾連續穩定的污水處理設備,包括處理桶,還包括:固定盤,固定盤水平固定安裝于處理桶內部,固定盤上開設有四個呈環形均勻分布的圓槽,固定盤開設有多個均勻分布的透水孔;進料組件,進料組件設置于處理桶頂部;過濾組件,過濾組件設置于處理桶內部,進料組件和過濾組件連通;清理組件,清理組件有四個,四個清理組件呈環形均勻分布于處理桶內部。本發明能夠使在過濾的濾筒內的遮擋筒移動(濾筒孔洞變小)實現對污水的過濾,當其中一個濾筒堵塞后,使轉盤轉動變換空心盤和不同Z型管的連通,以實現更換另外的濾筒進行過濾,保證了對污水處理的連續穩定性。

權利要求書
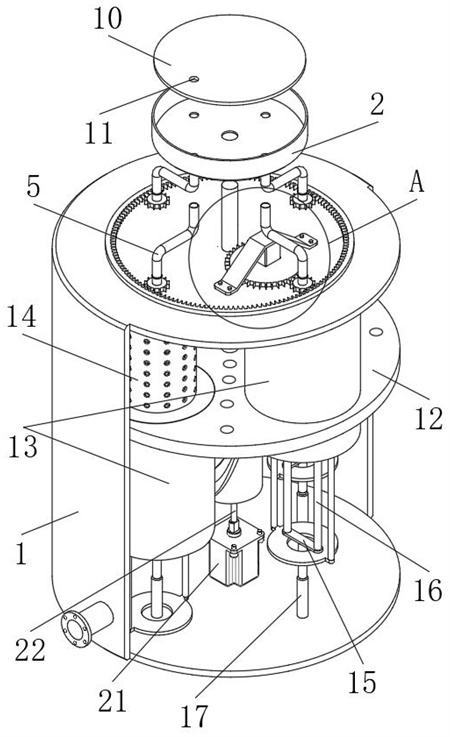
1.一種過濾連續穩定的污水處理設備,包括處理桶(1),其特征在于,還包括:固定盤(12),所述固定盤(12)水平固定安裝于處理桶(1)內部,所述固定盤(12)上開設有四個呈環形均勻分布的圓槽(27),所述固定盤(12)開設有多個均勻分布的透水孔(34);進料組件,所述進料組件設置于處理桶(1)頂部,所述進料組件用于將待處理的污水泵送至處理桶(1)內部;過濾組件,所述過濾組件設置于處理桶(1)內部,所述進料組件和過濾組件連通,所述過濾組件有四個,四個所述過濾組件呈環形均勻分布于處理桶(1)內部,所述過濾組件用于對污水進行過濾;清理組件,所述清理組件有四個,四個所述清理組件呈環形均勻分布于處理桶(1)內部,所述過濾組件和清理組件對應設置,所述清理組件用于對過濾組件進行清理;豎直位移組件,所述豎直位移組件設置于固定盤(12)底部,所述豎直位移組件還與四個清理組件連接,所述豎直位移組件用于使清理組件在豎直方向上移動;限位驅動組件,所述限位驅動組件設置于處理桶(1)頂部,所述限位驅動組件用于帶動進料組件交替、過濾組件轉動和豎直位移組件轉動。
2.根據權利要求1所述的一種過濾連續穩定的污水處理設備,其特征在于,所述進料組件包括:空心盤(2),所述空心盤(2)水平設置于處理桶(1)上方,所述空心盤(2)外部對立的側面均固定安裝有安裝架(9),兩個所述安裝架(9)末端均固定安裝于處理桶(1)頂部,所述空心盤(2)內底部轉動安裝有轉盤(10),所述轉盤(10)頂部開設有貫穿的通孔(11),所述空心盤(2)底部連通安裝有四個呈環形均勻分布的Z型管(5)。
3.根據權利要求2所述的一種過濾連續穩定的污水處理設備,其特征在于,所述過濾組件包括:濾筒(14),所述濾筒(14)轉動安裝于處理桶(1)內頂部,所述濾筒(14)內部滑動設置有遮擋筒(24),所述遮擋筒(24)的高度小于濾筒(14),所述遮擋筒(24)的孔洞能與濾筒(14)孔洞完全重合,并且遮擋筒(24)孔洞面積等于濾筒(14)的孔洞面積,所述濾筒(14)頂部中心處固定安裝有空心管(19),所述空心管(19)表面通過花鍵滑動穿過遮擋筒(24)頂部,所述空心管(19)頂端穿過處理桶(1)頂部,所述空心管(19)頂端轉動連通于對應Z型管(5)末端。
4.根據權利要求3所述的一種過濾連續穩定的污水處理設備,其特征在于,所述清理組件包括:收集桶(13),所述收集桶(13)表面通過花鍵滑動設置于圓槽(27)內部,所述收集桶(13)頂部開設有貫穿的圓形槽,所述收集桶(13)通過圓形槽滑動套接于濾筒(14)表面,所述收集桶(13)底部為敞開式,所述收集桶(13)底部轉動安裝有底盤(28)。
5.根據權利要求4所述的一種過濾連續穩定的污水處理設備,其特征在于,所述收集桶(13)下方水平設置有連接板(15),所述連接板(15)頂部豎直固定有兩個對稱設置的第一連接桿(16),兩個所述第一連接桿(16)頂端固定安裝于遮擋筒(24)內頂部,所述第一連接桿(16)表面穿過底盤(28)和濾筒(14)底部,所述連接板(15)底部中心處豎直轉動安裝有彈簧桿(17),所述彈簧桿(17)固定端固定安裝于處理桶(1)內底部。
6.根據權利要求5所述的一種過濾連續穩定的污水處理設備,其特征在于,所述連接板(15)下方水平設置有圓環(25),所述圓環(25)套接于彈簧桿(17)表面,所述圓環(25)頂部豎直固定安裝有兩個對稱設置的第二連接桿(26),兩個所述第二連接桿(26)頂端固定安裝于底盤(28)底部。
7.根據權利要求6所述的一種過濾連續穩定的污水處理設備,其特征在于,所述豎直位移組件包括:轉柱(29),所述轉柱(29)豎直轉動安裝于固定盤(12)底部中心處,所述轉柱(29)表面開設有折槽(30),所述折槽(30)由升降段(31)和平衡段(32)組成,四個所述收集桶(13)靠近轉柱(29)的側面均水平轉動安裝有滑柱(33),四個所述滑柱(33)均滑動安裝于折槽(30)內部,所述處理桶(1)內底部豎直安裝有間歇電機(21),所述間歇電機(21)的輸出軸固定安裝有軸桿(22),所述軸桿(22)端部固定安裝于轉柱(29)底部中心處。
8.根據權利要求7所述的一種過濾連續穩定的污水處理設備,其特征在于,所述限位驅動組件包括:轉桿(20),所述轉桿(20)豎直轉動安裝于固定盤(12)頂部,所述轉桿(20)和轉柱(29)頂端固定連接有連接軸,所述轉桿(20)頂端固定安裝于轉盤(10)底部中心處,所述轉桿(20)表面轉動安裝于空心盤(2)底部和處理桶(1)頂部。
9.根據權利要求8所述的一種過濾連續穩定的污水處理設備,其特征在于,所述處理桶(1)頂部轉動安裝有齒環(6),每個所述空心管(19)表面均固定套接有第一齒輪(18),每個所述第一齒輪(18)均與齒環(6)嚙合,所述處理桶(1)頂部還轉動安裝有大齒輪(7),所述大齒輪(7)與第一齒輪(18)嚙合,所述處理桶(1)頂部固定有驅動電機(8),所述驅動電機(8)的輸出軸安裝于大齒輪(7)頂部中心處。
10.根據權利要求9所述的一種過濾連續穩定的污水處理設備,其特征在于,所述處理桶(1)側面安裝有可密封的第一側門,所述收集桶(13)開設有可密封的第二側門,所述空心盤(2)頂部豎直連通安裝有入水管(4),所述處理桶(1)側面水平連通安裝有出水管(3)。
發明內容
本發明的目的是為了解決現有技術中存在的缺點,而提出的一種過濾連續穩定的污水處理設備。
為了實現上述目的,本發明采用了如下技術方案:一種過濾連續穩定的污水處理設備,包括處理桶,還包括:固定盤,固定盤水平固定安裝于處理桶內部,固定盤上開設有四個呈環形均勻分布的圓槽,固定盤開設有多個均勻分布的透水孔;進料組件,進料組件設置于處理桶頂部,進料組件用于將待處理的污水泵送至處理桶內部;過濾組件,過濾組件設置于處理桶內部,進料組件和過濾組件連通,過濾組件有四個,四個過濾組件呈環形均勻分布于處理桶內部,過濾組件用于對污水進行過濾;清理組件,清理組件有四個,四個清理組件呈環形均勻分布于處理桶內部,過濾組件和清理組件對應設置,清理組件用于對過濾組件進行清理;豎直位移組件,豎直位移組件設置于固定盤底部,豎直位移組件還與四個清理組件連接,豎直位移組件用于使清理組件在豎直方向上移動;限位驅動組件,限位驅動組件設置于處理桶頂部,限位驅動組件用于帶動進料組件交替、過濾組件轉動和豎直位移組件轉動。
作為本發明的進一步技術方案,進料組件包括:空心盤,空心盤水平設置于處理桶上方,空心盤外部對立的側面均固定安裝有安裝架,兩個安裝架末端均固定安裝于處理桶頂部,空心盤內底部轉動安裝有轉盤,轉盤頂部開設有貫穿的通孔,空心盤底部連通安裝有四個呈環形均勻分布的Z型管。
作為本發明的進一步技術方案,過濾組件包括:濾筒,濾筒轉動安裝于處理桶內頂部,濾筒內部滑動設置有遮擋筒,遮擋筒的高度小于濾筒,遮擋筒的孔洞能與濾筒孔洞完全重合,并且遮擋筒孔洞面積等于濾筒的孔洞面積,濾筒頂部中心處固定安裝有空心管,空心管表面通過花鍵滑動穿過遮擋筒頂部,空心管頂端穿過處理桶頂部,空心管頂端轉動連通于對應Z型管末端。
作為本發明的進一步技術方案,清理組件包括:收集桶,收集桶表面通過花鍵滑動設置于圓槽內部,收集桶頂部開設有貫穿的圓形槽,收集桶通過圓形槽滑動套接于濾筒表面,收集桶底部為敞開式,收集桶底部轉動安裝有底盤。
作為本發明的進一步技術方案,收集桶下方水平設置有連接板,連接板頂部豎直固定有兩個對稱設置的第一連接桿,兩個第一連接桿頂端固定安裝于遮擋筒內頂部,第一連接桿表面穿過底盤和濾筒底部,連接板底部中心處豎直轉動安裝有彈簧桿,彈簧桿固定端固定安裝于處理桶內底部。
作為本發明的進一步技術方案,連接板下方水平設置有圓環,圓環套接于彈簧桿表面,圓環頂部豎直固定安裝有兩個對稱設置的第二連接桿,兩個第二連接桿頂端固定安裝于底盤底部。
作為本發明的進一步技術方案,豎直位移組件包括:轉柱,轉柱豎直轉動安裝于固定盤底部中心處,轉柱表面開設有折槽,折槽由升降段和平衡段組成,四個收集桶靠近轉柱的側面均水平轉動安裝有滑柱,四個滑柱均滑動安裝于折槽內部,處理桶內底部豎直安裝有間歇電機,間歇電機的輸出軸固定安裝有軸桿,軸桿端部固定安裝于轉柱底部中心處。
作為本發明的進一步技術方案,限位驅動組件包括:轉桿,轉桿豎直轉動安裝于固定盤頂部,轉桿和轉柱頂端固定連接有連接軸,轉桿頂端固定安裝于轉盤底部中心處,轉桿表面轉動安裝于空心盤底部和處理桶頂部。
作為本發明的進一步技術方案,處理桶頂部轉動安裝有齒環,每個空心管表面均固定套接有第一齒輪,每個第一齒輪均與齒環嚙合,處理桶頂部還轉動安裝有大齒輪,大齒輪與第一齒輪嚙合,處理桶頂部固定有驅動電機,驅動電機的輸出軸安裝于大齒輪頂部中心處。
作為本發明的進一步技術方案,處理桶側面安裝有可密封的第一側門,收集桶開設有可密封的第二側門,空心盤頂部豎直連通安裝有入水管,處理桶側面水平連通安裝有出水管。
本發明的有益效果為:其一,本發明通過豎直位移組件和過濾組件的設置,能夠使在過濾的濾筒內的遮擋筒移動(濾筒孔洞變小)實現對污水的過濾,當其中一個濾筒堵塞后,使轉盤轉動變換空心盤和不同Z型管的連通,以實現更換另外的濾筒進行過濾,保證了對污水處理的連續穩定性;其二,本發明通過豎直位移組件、限位驅動組件和清理組件的設置,能夠使被堵塞濾筒內的遮擋筒移動(濾筒孔洞變大),且同步使收集桶往上移動對濾筒包裹,接著濾筒和遮擋筒會轉動,以實現把該濾筒內部的雜質通過變大的空桶甩出,雜質會進入收集桶內部被收集,從而可對四個濾筒清理后依次交替使用,進而提高了該設備的使用效果。
(發明人:汪吉祥;錢曉雍;李政文;劉輝;張賽偉;張亦藜;康麗娟)






