公布日:2023.11.28
申請日:2023.09.18
分類號:C02F1/52(2023.01)I;C02F1/00(2023.01)I;B01F31/40(2022.01)I;B01F31/441(2022.01)I;B01F31/44(2022.01)I;B01F27/92(2022.01)I;B01D33/03(2006.01)I;
B01D33/50(2006.01)I
摘要
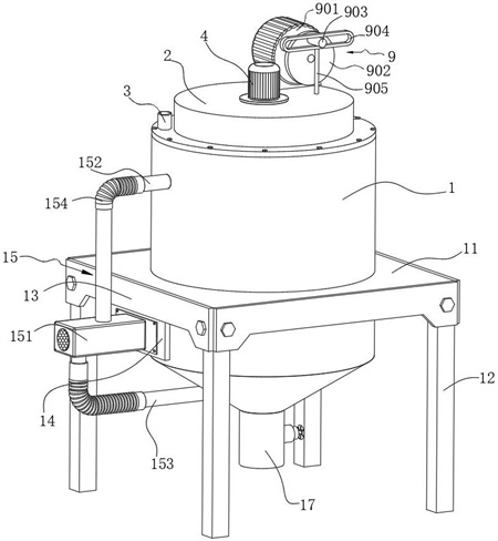
本發明公開了一種玻璃纖維生產廢水處理裝置,包括處理箱,所述處理箱的頂部可拆卸安裝有頂蓋,所述頂蓋上設置有入水口,所述處理箱的底部中心處設置有排水口,且排水口上安裝有閥門,所述頂蓋上安裝有攪拌電機,且攪拌電機的輸出軸貫穿頂蓋并與頂蓋轉動連接,所述攪拌電機的輸出軸上可拆卸安裝有連接套,本發明利用活動軸與腰槽套間相對活動,可以使得聯動桿周期性的上下移動,而聯動桿則通過凸塊帶動聯動盤上下移動,從而帶動軸套在六棱柱的外部上下滑動,這樣,軸套以及軸套上的螺旋扇葉不僅可以基礎的旋轉攪拌,而且可以在旋轉的同時上下攪拌,從而加速了玻纖廢水與絮凝劑間的融合效率,從而減少廢水處理的時間。

權利要求書
1.一種玻璃纖維生產廢水處理裝置,包括處理箱(1),所述處理箱(1)的頂部可拆卸安裝有頂蓋(2),所述頂蓋(2)上設置有入水口(3),所述處理箱(1)的底部中心處設置有排水口(17),且排水口(17)上安裝有閥門,其特征在于:所述頂蓋(2)上安裝有攪拌電機(4),且攪拌電機(4)的輸出軸貫穿頂蓋(2)并與頂蓋(2)轉動連接,所述攪拌電機(4)的輸出軸上可拆卸安裝有連接套(5),所述連接套(5)的底部固定連接有六棱柱(6),所述六棱柱(6)的外部滑動套接有與其配合的軸套(7),所述軸套(7)的外部固定連接有用于攪拌廢水與絮凝劑的螺旋扇葉(8),且螺旋扇葉(8)在軸套(7)上呈螺旋向上設置;所述頂蓋(2)和軸套(7)間設置有用于軸套(7)以及螺旋扇葉(8)升降的聯動式升降單元(9),所述聯動式升降單元(9)包括安裝在頂蓋(2)上的低速電機(901)、固定于低速電機(901)輸出軸的轉盤(902)、固定在轉盤(902)表面的活動軸(903)、與活動軸(903)活動配合的腰槽套(904)、與腰槽套(904)固定的聯動桿(905)、固定于聯動桿(905)末端的凸字塊(906)、以及與凸字塊(906)活動配合的聯動盤(907),且聯動盤(907)通過軸承安裝與軸套(7)的外部;所述軸套(7)的底部設置有用于廢水過濾的過濾組件(10),所述過濾組件(10)包括固定于軸套(7)底部的連接柱(101)、與連接柱(101)固定的帶孔濾盤(102)、與帶孔濾盤(102)螺紋連接的壓環(104)、以及鋪設于帶孔濾盤(102)和壓環(104)間的濾紙(103)。
2.根據權利要求1所述的一種玻璃纖維生產廢水處理裝置,其特征在于:所述處理箱(1)的外部固定連接有支撐板(11),所述支撐板(11)的底部焊接有用于支撐整體的支撐腿(12),且相鄰的兩個所述支撐腿(12)間通過螺栓安裝有側護板(13),所述側護板(13)與支撐板(11)間貼合,其中一個所述側護板(13)上焊接有安裝板(14),所述安裝板(14)上安裝有用于廢水上下循環的廢水循環單元(15),所述廢水循環單元(15)包括可拆卸安裝于安裝板(14)上的循環水泵(151)、固定于處理箱(1)側壁的管路一(152)和管路二(153),且管路一(152)和管路二(153)均貫穿處理箱(1)的側壁,所述管路一(152)位于處理箱(1)的上方,所述管路二(153)位于處理箱(1)的下方,且位于過濾組件(10)和排水口(17)之間的位置,所述循環水泵(151)的輸入端和輸出端與管路一(152)和管路二(153)分別套設有波紋軟管(154)。
3.根據權利要求1所述的一種玻璃纖維生產廢水處理裝置,其特征在于:所述帶孔濾盤(102)上開設有若干個貫穿所述帶孔濾盤(102)的通孔,且帶孔濾盤(102)與處理箱(1)的內壁貼合。
4.根據權利要求1所述的一種玻璃纖維生產廢水處理裝置,其特征在于:所述壓環(104)的上表面固定連接有兩個用于旋擰壓環(104)的轉鈕(105)。
5.根據權利要求1所述的一種玻璃纖維生產廢水處理裝置,其特征在于:所述頂蓋(2)的內側底部固定連接有用于防止聯動盤(907)進水的防水護套(16),且防水護套(16)的內表面與聯動盤(907)貼合。
6.根據權利要求1所述的一種玻璃纖維生產廢水處理裝置,其特征在于:所述聯動盤(907)上開設有環槽,且環槽的截面與凸字塊(906)相匹配,所述凸字塊(906)位于環槽內。
7.根據權利要求1所述的一種玻璃纖維生產廢水處理裝置,其特征在于:所述軸套(7)的內側開設有六棱槽,且六棱槽與六棱柱(6)相匹配,所述六棱柱(6)滑動于軸套(7)的內部。
8.根據權利要求1所述的一種玻璃纖維生產廢水處理裝置,其特征在于:所述聯動桿(905)貫穿頂蓋(2)且與頂蓋(2)間滑動連接。
發明內容
本發明的目的就在于為了解決上述問題而提供一種玻璃纖維生產廢水處理裝置,解決了背景技術中提到的問題。
為了解決上述問題,本發明提供了一種技術方案:一種玻璃纖維生產廢水處理裝置,包括處理箱,所述處理箱的頂部可拆卸安裝有頂蓋,所述頂蓋上設置有入水口,所述處理箱的底部中心處設置有排水口,且排水口上安裝有閥門,所述頂蓋上安裝有攪拌電機,且攪拌電機的輸出軸貫穿頂蓋并與頂蓋轉動連接,所述攪拌電機的輸出軸上可拆卸安裝有連接套,所述連接套的底部固定連接有六棱柱,所述六棱柱的外部滑動套接有與其配合的軸套,所述軸套的外部固定連接有用于攪拌廢水與絮凝劑的螺旋扇葉,且螺旋扇葉在軸套上呈螺旋向上設置;所述頂蓋和軸套間設置有用于軸套以及螺旋扇葉升降的聯動式升降單元,所述聯動式升降單元包括安裝在頂蓋上的低速電機、固定于低速電機輸出軸的轉盤、固定在轉盤表面的活動軸、與活動軸活動配合的腰槽套、與腰槽套固定的聯動桿、固定于聯動桿末端的凸字塊、以及與凸字塊活動配合的聯動盤,且聯動盤通過軸承安裝與軸套的外部。
作為優選,所述軸套的底部設置有用于廢水過濾的過濾組件,所述過濾組件包括固定于軸套底部的連接柱、與連接柱固定的帶孔濾盤、與帶孔濾盤螺紋連接的壓環、以及鋪設于帶孔濾盤和壓環間的濾紙。
作為優選,所述處理箱的外部固定連接有支撐板,所述支撐板的底部焊接有用于支撐整體的支撐腿,且相鄰的兩個所述支撐腿間通過螺栓安裝有側護板,所述側護板與支撐板間貼合,其中一個所述側護板上焊接有安裝板,所述安裝板上安裝有用于廢水上下循環的廢水循環單元,所述廢水循環單元包括可拆卸安裝于安裝板上的循環水泵、固定于處理箱側壁的管路一和管路二,且管路一和管路二均貫穿處理箱的側壁,所述管路一位于處理箱的上方,所述管路二位于處理箱的下方,且位于過濾組件和排水口之間的位置,所述循環水泵的輸入端和輸出端與管路一和管路二分別套設有波紋軟管。利用廢水循環單元可以將廢水進行循環式過濾。
作為優選,所述帶孔濾盤上開設有若干個貫穿所述帶孔濾盤的通孔,且帶孔濾盤與處理箱的內壁貼合。通過通孔的設置,便于廢水通過帶孔濾盤。
作為優選,所述壓環的上表面固定連接有兩個用于旋擰壓環的轉鈕。通過轉鈕可以旋擰壓環,便于其拆裝。
作為優選,所述頂蓋的內側底部固定連接有用于防止聯動盤進水的防水護套,且防水護套的內表面與聯動盤貼合。通過防水護套可以將聯動盤的上方空間與外部隔絕,防止進水。
作為優選,所述聯動盤上開設有環槽,且環槽的截面與凸字塊相匹配,所述凸字塊位于環槽內。通過凸字塊與環槽間的配合,可在不影響軸套轉動的情況下,利用聯動盤帶動軸套升降。
作為優選,所述軸套的內側開設有六棱槽,且六棱槽與六棱柱相匹配,所述六棱柱滑動于軸套的內部。六棱柱可以在六棱槽內滑動,這樣不僅可以通過六棱柱帶動軸套旋轉,而且軸套可以在六棱柱的軸向進行滑動。
作為優選,所述聯動桿貫穿頂蓋且與頂蓋間滑動連接。聯動桿與凸字塊的配合,便于將活動軸與腰槽套間相對運動產生的升降作用在聯動盤上。
本發明的有益效果是:首先,通過在原有的處理箱的頂蓋上設置攪拌電機,由攪拌電機驅動一個六棱柱轉動,而且六棱柱的外部設置配套的軸套,而且軸套的外部設置有螺旋扇葉,這樣可以通過攪拌電機進行驅動螺旋扇葉對玻纖廢水以及絮凝劑進行攪拌混合,另外,在軸套以及頂蓋間設置聯動式升降單元,其中,利用活動軸與腰槽套間相對活動,可以使得聯動桿周期性的上下移動,而聯動桿則通過凸塊帶動聯動盤上下移動,從而帶動軸套在六棱柱的外部上下滑動,這樣,軸套以及軸套上的螺旋扇葉不僅可以基礎的旋轉攪拌,而且可以在旋轉的同時上下攪拌,從而加速了玻纖廢水與絮凝劑間的融合效率,從而減少廢水處理的時間。
其次,通過在軸套的底部設置過濾組件,通過過濾組件的中濾紙可以過濾掉玻纖廢水中殘留的玻璃纖維,而且在處理箱的外部加裝廢水循環單元,這樣可以對過濾后的廢水進行循環式的抽吸過濾,提高過濾的效果。
最后,通過聯動式升降單元可以帶動過濾組件上下震動,另外通過廢水循環單元可以將過濾后的廢水沖刷式的噴灑在過濾組件上,這樣可以防止固態的玻纖堆積且貼合在濾紙上,從而防止了濾紙的堵塞,進一步保證了過濾組件的正常工作。
(發明人:劉興月;李勇強;安智廣)






