公布日:2023.12.29
申請日:2023.11.09
分類號:C02F3/30(2023.01)I;C02F101/16(2006.01)N
摘要
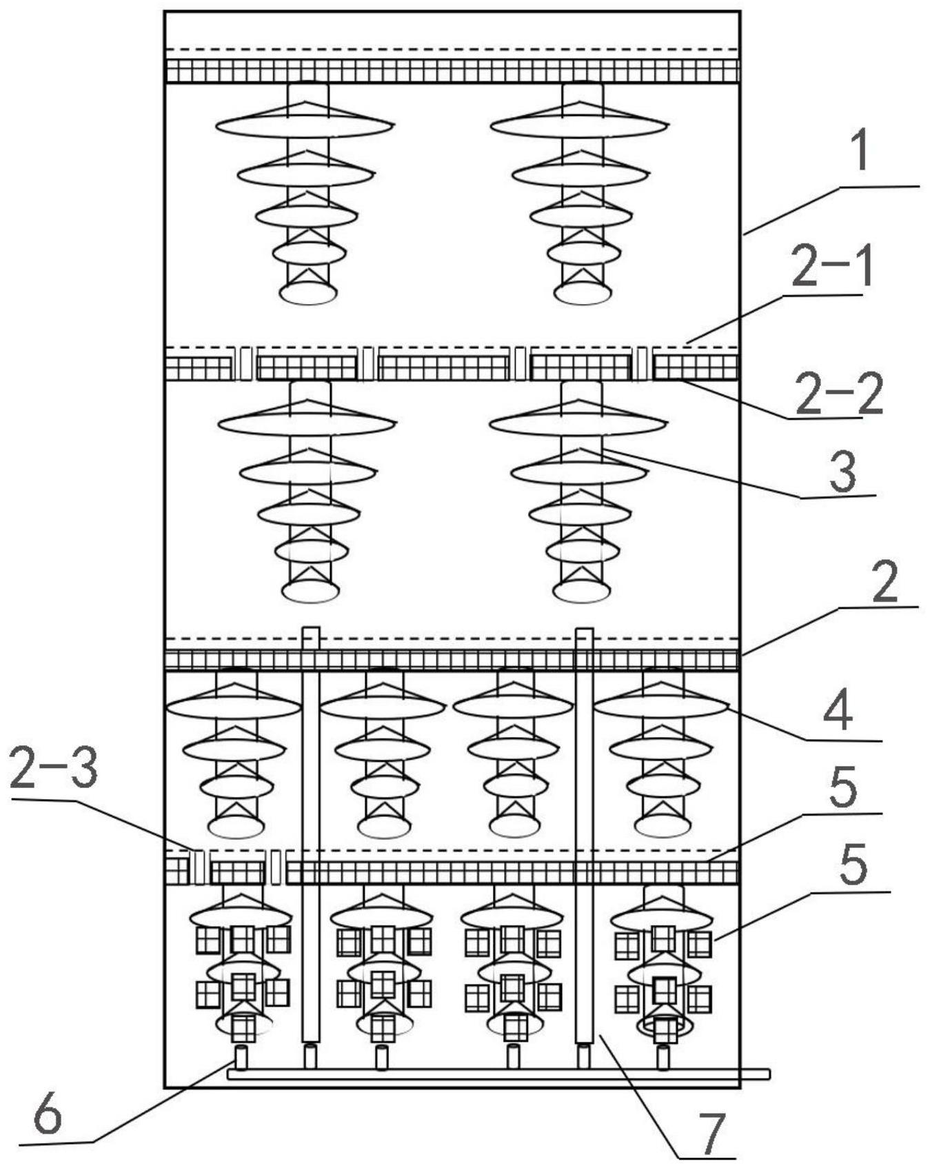
本申請公開了一種高氨氮廢水的處理系統及方法,其采用的硝化反硝化系統包括方形容器,容器內由下向上分為第一、第二、第三、第四共四層,每層間通過隔板分隔,隔板之間設置有載體柱,載體柱上由下向上分層設置面積遞增的錐角向下的錐形罩,錐形罩之間設置有供氨氧化菌AOB和亞硝鹽氧化菌NOB附著的填料,容器底部設置有曝氣噴嘴,曝氣噴嘴設置在載體柱下方。本申請中,通過對于硝化反硝化系統重的曝氣、載體結構進行改進,實現同步硝化反硝化的同時,曝氣效率顯著提高。

權利要求書
1.一種高氨氮廢水的處理系統,其特征在于,采用的硝化反硝化系統包括方形容器,方形容器內由下向上分為第一、第二、第三、第四共四層,每層頂部設有隔板,層間通過隔板分隔,隔板下方設置有載體柱,載體柱與隔板內部中空且連通,載體柱底部封閉,側周面均勻分布有通孔,載體柱與隔板內設置有加熱線圈并填充有供反硝化菌DB附著的填料,隔板包括上面板和下面板,上面板上設置有通孔,下面板封閉,第一與第二層之間以及第三與第四層之間的隔板上,在載體柱對應位置設置有貫穿上面板和下面板的貫穿孔,下面板上與載體柱連接處設置有連通孔,第一與第二層的載體柱位置對應,第三與第四層的載體柱位置對應,載體柱上由下向上分層設置底面積遞增的錐角向下的錐形罩,錐形罩之間設置有供氨氧化菌AOB和亞硝酸鹽氧化菌NOB附著的填料,方形容器底部設置有曝氣噴嘴,曝氣噴嘴設置在載體柱下方。
2.根據權利要求1所述的處理系統,其特征在于,向第一層供氣的曝氣噴嘴設置在第一層載體柱下方,向第三層供氣的曝氣噴嘴通過供氣管道將氣體輸送至第三層的載體柱下方。
3.根據權利要求1所述的處理系統,其特征在于,第一層中載體柱上的錐形罩設置為3層,第二層中載體柱上的錐形罩設置為4層,第三層和第四層中載體柱上的錐形罩設置為5層。
4.根據權利要求1所述的處理系統,其特征在于,載體柱上的錐形罩直徑按照每層15%的增長比例遞增,錐角范圍為150°-160°。
5.根據權利要求1所述的處理系統,其特征在于,載體柱的高度與錐形罩的層數呈正相關設置,錐形罩之間的距離為5-10cm。
6.根據權利要求1所述的處理系統,其特征在于,載體柱、隔板、錐形罩均采用耐腐蝕的高分子材料,填料采用樹脂材料。
7.根據權利要求1所述的處理系統,其特征在于,填料占方形容器的體積比為65-70%。
8.一種高氨氮廢水的處理方法,其采用權利要求1-7中任一項所述的處理系統,包括以下步驟:S1、在方形容器內接種污泥,污泥中含有氨氧化菌AOB、亞硝酸鹽氧化菌NOB以及反硝化菌DB,接種污泥后氨氧化菌AOB和亞硝酸鹽氧化菌NOB附著在錐形罩之間的填料中,反硝化菌DB附著在隔板內的填料中;S2、于方形容器下部進水,進水為高氨氮廢水,其中氨氮濃度為600-650mg/L,COD濃度為400-500mg/L,pH為8.0-8.5,水力停留時間為5-6h,曝氣量為0.2-0.3m3/h,曝氣壓力為0.03-0.05MPa,DO濃度為0.8-1.2mg/L,出水氨氮濃度為1.5-2.4mg/L,COD濃度為50-55mg/L。
9.根據權利要求8所述的方法,其特征在于,在步驟S1和S2中,通過控制加熱線圈對溫度進行調整,載體柱中的溫度為25-27℃,隔板中的溫度為36-39℃。
發明內容
針對現有技術的不足,本發明提供一種高氨氮廢水的處理方法及系統。
一種高氨氮廢水的處理系統,其采用的硝化反硝化系統包括方形容器,容器內由下向上分為第一、第二、第三、第四共四層,每層間通過隔板分隔,隔板之間設置有載體柱,載體柱與隔板內部中空且連通,載體柱與隔板內設置有加熱線圈并填充有供反硝化菌DB附著的填料,隔板包括上面板和下面板,上面板上設置有通孔,下面板封閉,第一與第二層之間以及第三與第四層之間的隔板上,在載體柱對應位置設置有貫穿上面板和下面板的貫穿孔,下面板上與載體柱連接處設置有連通孔,第一與第二層、第三與第四層的載體柱位置對應,載體柱上由下向上分層設置面積遞增的錐角向下的錐形罩,錐形罩之間設置有供氨氧化菌AOB和亞硝酸鹽氧化菌NOB附著的填料,容器底部設置有曝氣噴嘴,曝氣噴嘴設置在載體柱下方。
進一步地,向第一、第二層供氣的曝氣噴嘴設置在底層載體柱下方,向第三、第四層供氣的曝氣噴嘴通過供氣管道將氣體輸送至第三層的載體柱下方。
進一步地,第一層中載體柱上的錐形罩設置為3層,第二層中載體柱上的錐形罩設置為4層,第三層和第四層中載體柱上的錐形罩設置為5層。
進一步地,載體柱上的錐形罩直徑按照每層15%的增長比例遞增,錐角范圍為150°-160°。
進一步地,載體柱的高度與錐形罩的層數呈正相關設置,錐形罩之間的距離為5-10cm。
進一步地,載體柱、隔板、錐形罩均采用耐腐蝕的高分子材料,填料采用樹脂材料。
進一步地,填料占容器的體積比為65-70%。
一種高氨氮廢水的處理方法,其采用上述處理系統,包括以下步驟:
S1、在方形容器內接種污泥,污泥中含有氨氧化菌AOB、亞硝酸鹽氧化菌NOB以及反硝化菌DB,接種污泥后氨氧化菌AOB和亞硝酸鹽氧化菌NOB附著在載體柱上的填料中,反硝化菌DB附著在隔板內的填料中;
S2、于容器下部進水,進水為高氨氮廢水,其中氨氮濃度為600-650mg/L,COD濃度為400-500mg/L,pH為8.0-8.5,水力停留時間為5-6h,曝氣量為0.2-0.3m3/h,曝氣壓力為0.03-0.05MPa,DO濃度為0.8-1.2mg/L,出水氨氮濃度為1.5-2.4mg/L,COD濃度為50-55mg/L。
進一步地,在步驟S1和S2中,通過控制加熱線圈對溫度進行調整,載體柱中的溫度為25-27℃,隔板中的溫度為36-39℃。
本申請與現有技術相比,優點在于:本申請中,通過對于硝化反硝化系統重的曝氣、載體結構進行改進,實現同步硝化反硝化的同時,曝氣效率顯著提高。
具體地,首先,本申請中,將常規的柱形填料結構進行改進,分層設計,每層中的具體結構與曝氣的特點相適應,其中,采用隔板將容器內部分隔為四層,每層中都設置載體柱,隔板內部中空且設置填料,載體柱上設置有錐形罩,通過該設計,可將每層的曝氣接收范圍增大,由原本的在填料外部整體式曝氣調整為局部針對性曝氣,曝氣噴嘴設置在載體柱下方,將氣體直接供應至好氧菌附著的填料區域,通過錐形罩的設置,將原本大量上浮的氣體進行截留和停滯,能夠顯著提高氣體的利用效率。
其次,本申請中的錐形罩向下設置且由下向上錐形罩的直徑遞增,能夠將上浮的氣體層層阻截,最大程度將好氧區的氧氣利用,并且錐形罩將氣體保存,錐形罩之間的好氧菌能夠在較長時間內保持充足的氧氣供給,同時能使從錐形罩下方逃逸的氣體上浮過程必須通過上層的填料區,使得一次曝氣后氣體停留的時間是常規曝氣工藝的幾倍。此外,本申請中根據氣體隨著上浮高度的增加氣體上浮速度和氣體體積均快速增大的特點,將容器中上層的錐形罩層數遞增,可將快速上浮的大體積氣體捕獲更徹底,減少回收循環的氣體量。曝氣噴嘴統一設置在容器底部,第一、第二層的曝氣噴嘴向第一層的載體柱下方供氣,第二、第四層的供氣通過曝氣噴嘴向供氣管管道將氣體輸送至第三層的載體柱下方,可保證曝氣供給量是均勻的。
最后,本申請中將好氧區和厭氧區通過局部供氣的方式進行隔離,載體柱與隔板連通,是為了將亞硝化產物順利輸送至隔板中供反硝化菌利用,為了形成缺氧環境,隔板的下面板封閉,填料與隔板之間幾乎不會受曝氣的影響,為了將上下層之間的氣體連續利用,又將上下層之間的載體柱對應設置,并在隔板上載體柱位置設置貫穿的貫穿孔,使得氣體上浮過程中穿過隔板直接被上層的載體柱收集,而隔板的上面板設置為多孔結構,能夠使水流順利由載體柱上的通孔流經隔板中的載體后向上流,這樣即保證了好氧區的氧氣充分利用,又保證了厭氧區的氣體隔離,形成缺氧環境,由此,既實現了好氧和厭氧的獨立運行,又實現了同步硝化反硝化,解決了現有技術中通常需要好氧區包圍厭氧區以保證厭氧菌活性的局限性。
(發明人:劉靜;張振興;劉勇;程云;王厚亮;許莉莉;汪強)






