公布日:2023.12.22
申請日:2023.11.07
分類號:C10B53/07(2006.01)I;C10B57/10(2006.01)I;C10B47/30(2006.01)I
摘要
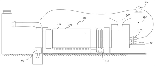
本申請公開了一種連續式污泥廢胎廢塑處理裝置及工藝,涉及污泥處理技術領域,裝置包括進料裝置用于輸入廢料;出料裝置用于輸出廢料處理后的產物;熱解裝置用于對廢料進行熱解反應;其中,進料裝置與出料裝置分別設置于熱解裝置相異的兩側;進料裝置包括脫水裝置和進料口,脫水裝置包含外殼件、驅動件以及推進件,外殼件設有容納空間,容納空間一端連接進料口,容納空間另一端連接熱解裝置,驅動件伸入容納空間內以驅動推進件轉動;外殼件遠離進料口的一端設有散射部,散射部上設有若干噴孔以使廢料從外殼件進入熱解裝置中,外殼件上設有若干與噴孔相連通的第一氣流通道,第一氣流通道另一端設有風機,風機進氣口通過管道連通熱解裝置。

權利要求書
1.一種連續式污泥廢胎廢塑處理裝置,包括:進料裝置,用于輸入廢料;出料裝置,用于輸出廢料處理后的產物;熱解裝置,用于對廢料進行熱解反應;其中,所述進料裝置與出料裝置分別設置于所述熱解裝置相異的兩側;其特征在于:所述進料裝置包括脫水裝置和進料口,所述脫水裝置包含外殼件、驅動件以及推進件,所述外殼件設有容納空間,所述容納空間一端連接所述進料口,所述容納空間另一端連接所述熱解裝置,所述驅動件伸入所述容納空間內以驅動所述推進件轉動;所述外殼件遠離進料口的一端設有散射部,所述散射部上設有若干噴孔以使廢料從所述外殼件進入所述熱解裝置中,所述外殼件上設有若干與噴孔相連通的第一氣流通道,所述第一氣流通道另一端設有風機,所述風機進氣口通過管道連通所述熱解裝置;所述推進件包含轉軸以及葉片,所述葉片固定連接于所述轉軸上,所述轉軸一端固定連接于所述驅動件的輸出軸;所述轉軸中設有第二氣流通道,所述第二氣流通道通過管道一端連接所述風機,所述葉片上設有若干氣孔;所述散射部整體呈圓弧形,定義空間中到散射部任意一點的位置均相等的點為焦點,所述噴孔的軸線的延長線均穿過所述焦點;任意一個第一氣流通道的軸線與其相鄰的噴孔的軸線的夾角的范圍是30°到45°;所述熱解裝置包含動力件、轉動艙和加熱艙,所述轉動艙與所述加熱艙同軸設置,所述動力件驅動所述轉動艙相對于所述加熱艙轉動,所述加熱艙與所述轉動艙之間設有導熱介質;所述轉動艙包含艙體,所述艙體一端連接于所述動力件,所述艙體內部設有容納腔,所述容納腔內設有旋轉件。
2.根據權利要求1所述的連續式污泥廢胎廢塑處理裝置,其特征在于:所述旋轉件轉動方向與所述轉動艙轉動方向相反。
3.一種連續式污泥廢胎廢塑處理工藝,適用于權利要求1或2所述的連續式污泥廢胎廢塑處理裝置,包括:對廢料進行粉碎;對廢料進行干燥;將廢料輸送至轉動艙進行熱解;將轉動艙中未完全熱解的顆粒狀廢料移動至脫水裝置;將廢料輸送至轉動艙進行熱解;排出廢料產物。
發明內容
本申請的內容部分用于以簡要的形式介紹構思,這些構思將在后面的具體實施方式部分被詳細描述。本申請的內容部分并不旨在標識要求保護的技術方案的關鍵特征或必要特征,也不旨在用于限制所要求的保護的技術方案的范圍。
為解決以上背景技術部分提到的技術問題,本申請的一些實施例提供了一種連續式污泥廢胎廢塑處理裝置,包括:
進料裝置,用于輸入廢料;
出料裝置,用于輸出廢料處理后的產物;
熱解裝置,用于對廢料進行熱解反應;
其中,進料裝置與出料裝置分別設置于熱解裝置相異的兩側;
進料裝置包括脫水裝置和進料口,脫水裝置包含外殼件、驅動件以及推進件,外殼件設有容納空間,容納空間一端連接進料口,容納空間另一端連接熱解裝置,驅動件伸入容納空間內以驅動推進件轉動;
外殼件遠離進料口的一端設有散射部,散射部上設有若干噴孔以使廢料從外殼件進入熱解裝置中,外殼件上設有若干與噴孔相連通的第一氣流通道,第一氣流通道另一端設有風機,風機進氣口通過管道連通熱解裝置。
進一步的,推進件包含轉軸以及葉片,葉片固定連接于轉軸上,轉軸一端固定連接與驅動件的輸出軸。
進一步的,轉軸中設有第二氣流通道,第二氣流通道通過管道一端連接風機,葉片上設有若干氣孔。
進一步的,散射部整體呈圓弧形,定義空間中到散射部任意一點的位置均相等的點為焦點,噴孔的軸線的延長線均穿過焦點。
進一步的,任意一個氣流通道的軸線與其相鄰的噴孔的軸線的夾角的范圍是30°到45°。
進一步的,熱解裝置包含動力件、轉動艙和加熱艙,轉動艙與加熱艙同軸設置,動力件驅動轉動艙相對于加熱艙轉動,加熱艙與轉動艙之間設有導熱介質。
進一步的,轉動艙包含艙體,艙體一端連接于動力件,艙體內部設有容納腔,容納腔內設有旋轉件。
進一步的,旋轉件轉動方向與轉動艙轉動方向相反。
作為本申請的另一方面,本申請的一些實施例提供了一種連續式污泥廢胎廢塑處理工藝,適用于上述的裝置,包括:
對廢料進行粉碎;
對廢料進行干燥;
將廢料輸送至轉動艙進行熱解;
將轉動艙中未完全熱解的顆粒狀廢料移動至脫水裝置;
將廢料輸送至轉動艙進行熱解;
排出廢料產物。
本申請的有益效果在于:
1、利用熱解反應產生的氣體來對進入熱解裝置的廢料進行干燥,節約了操作步驟以及減少了熱量浪費;
2、將散射部設置呈圓弧形,能夠將進料裝置中的廢料顆粒均勻的噴射到轉動艙的內部上,能夠快速的使其進行熱解反應。
(發明人:李藝;肖國華;田菲;周田;許杰;邵朝紅;劉波;江鈺;歐陽李黎;李泓曦)






