公布日:2024.06.21
申請日:2024.04.08
分類號:C02F1/52(2023.01)I;C02F11/125(2019.01)I;C02F11/10(2006.01)I;C02F11/06(2006.01)I;C02F101/30(2006.01)N
摘要
本發明公開了一種用于焦化污水處理的雜鹽熱氧化設備及方法,屬于焦化廢水處理技術領域,包括由上至下設置在固定支架上且通過管道依次連通的污水預處理裝置、脫水裝置、熱氧化設備,所述污水預處理裝置有多個,底部均固定連通有連接管,所述污水預處理裝置的頂部連通至污水主管道;所述熱氧化設備包括熱氧化殼,所述熱氧化殼的底部設有水槽,熱氧化殼的底部前后側面內壁固定連接有加熱裝置,所述加熱裝置的上方設有加熱槽,所述加熱槽與所述熱氧化殼內壁固定連接,所述加熱槽底部設有若干排水孔,加熱槽的上方轉動連接有螺旋桿一;本發明進入熱氧化設備的沉淀物含水量低,能夠有效降低熱氧化所需要的能耗,做到節能環保,降低焦化廢水處理成本。

權利要求書
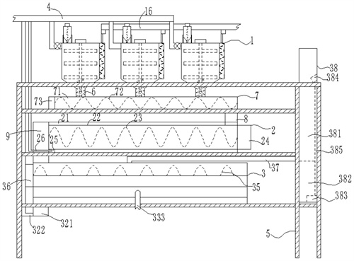
1.一種用于焦化污水處理的雜鹽熱氧化設備,其特征在于,包括由上至下設置在固定支架(5)上且通過管道依次連通的污水預處理裝置(1)、脫水裝置(2)、熱氧化設備(3),所述污水預處理裝置(1)有多個,底部均固定連通有連接管(6),所述污水預處理裝置(1)的頂部連通至污水主管道(4);所述熱氧化設備(3)包括熱氧化殼(31),所述熱氧化殼(31)的底部設有水槽(32),熱氧化殼(31)的底部前后側面內壁固定連接有加熱裝置(33),所述加熱裝置(33)的上方設有加熱槽(34),所述加熱槽(34)與所述熱氧化殼(31)內壁固定連接,所述加熱槽(34)底部設有若干排水孔(341),加熱槽(34)的上方轉動連接有螺旋桿一(35),所述熱氧化殼(31)的左端固定連接有轉動電機(36),所述轉動電機(36)的輸出軸與所述螺旋桿一(35)傳動連接,所述熱氧化殼(31)的頂部固定連接有排氣管(37),所述排氣管(37)與所述熱氧化殼(31)內部相連通。
2.如權利要求1所述的一種用于焦化污水處理的雜鹽熱氧化設備,其特征在于,所述污水預處理裝置(1)包括攪拌筒(11),所述攪拌筒(11)的左側上方固定連通有進水管(14),所述進水管(14)的上端與所述污水主管道(4)相連通,所述進水管(14)與攪拌筒(11)的連接處設有控制閥(141),所述攪拌筒(11)的右側固定連接有清水收集裝置(15),所述清水收集裝置(15)上端固定連通有排水管(16),所述攪拌筒(11)頂部固定連接有絮凝劑添加裝置(17)。
3.如權利要求2所述的一種用于焦化污水處理的雜鹽熱氧化設備,其特征在于,所述清水收集裝置(15)包括清水收集管(151),所述清水收集管(151)與所述攪拌筒(11)右側下方固定連通,所述清水收集管(151)內設有浮力球(152),所述浮力球(152)的底部設有進水口,浮力球(152)的上方固定連通有吸水管(153),所述吸水管(153)的上端連通有吸水泵(154),所述吸水泵(154)與所述排水管(16)固定連接,且吸水泵(154)的出水口與所述排水管(16)內部固定連通。
4.如權利要求1所述的一種用于焦化污水處理的雜鹽熱氧化設備,其特征在于,所述污水預處理裝置(1)底部通過連接管(6)、輸料管(7)經豎向通道一(8)連接至所述脫水裝置(2),所述輸料管(7)包括管體(71),所述管體(71)的上方與所述連接管(6)的下端固定連通,所述管體(71)內部轉動連接有螺旋桿三(72),所述管體(71)的左側外壁固定連接有輸料電機(73),所述輸料電機(73)的輸出軸與所述螺旋桿三(72)傳動連接。
5.如權利要求3所述的一種用于焦化污水處理的雜鹽熱氧化設備,其特征在于,所述脫水裝置(2)包括脫水殼(21),所述脫水殼(21)內固定連接有濾水筒(22),所述濾水筒(22)內橫向固定連接有濾水筒(22),所述濾水筒(22)內轉動連接有螺旋桿四(23),所述脫水殼(21)的右端固定連接有脫水電機(24),所述脫水電機(24)的輸出軸與所述螺旋桿四(23)傳動連接,所述脫水殼(21)的內底部固定連接有回水泵(25),所述回水泵(25)的出水口固定連通有濾水管(26),所述濾水管(26)與所述污水主管道(4)相連通。
6.如權利要求1所述的一種用于焦化污水處理的雜鹽熱氧化設備,其特征在于,所述加熱裝置(33)包括集氣盒(331),所述集氣盒(331)有兩個,兩個集氣盒(331)分別固定連接在所述熱氧化殼(31)的前側內壁和后側內壁,所述集氣盒(331)內壁固定連通有若干噴氣嘴(332),兩個所述集氣盒(331)的外壁均固定連通有輸氣管道(333)。
7.如權利要求1所述的一種用于焦化污水處理的雜鹽熱氧化設備,其特征在于,所述排氣管(37)末端還連接有洗氣裝置(38),所述洗氣裝置(38)包括淋洗管(381),所述淋洗管(381)的底部固定連接有儲水筒(382),所述儲水筒(382)的底部設有淋洗泵(383),淋洗管(381)的上方內壁固定連接有噴頭(384),所述淋洗泵(383)的出水口固定連通有供水管(385),所述供水管(385)末端與所述噴頭(384)相連通。
8.如權利要求1所述的一種用于焦化污水處理的雜鹽熱氧化設備,其特征在于,所述排氣管(37)末端還連接有洗氣裝置(38),所述洗氣裝置(38)包括淋洗管(381),所述淋洗管(381)的底部固定連接有儲水筒(382),所述儲水筒(382)的底部設有淋洗泵(383),淋洗管(381)的上方內壁固定連接有噴頭(384),所述淋洗泵(383)的出水口固定連通有供水管(385)。
9.利用權利要求5所述的一種用于焦化污水處理的雜鹽熱氧化設備進行雜鹽熱氧化的方法,其特征在于,包括以下步驟:S1、打開控制閥(141)后,焦化污水通過污水主管道(4)再經過進水管(14)進入污水預處理裝置(1)的攪拌桶(11)中,待攪拌筒(11)內加滿污水后,關閉控制閥(141),先通過絮凝劑添加裝置(17)添加絮凝劑,再經過攪拌桶(11)進行攪拌,將焦化廢水中的有機物鹽和無機鹽進行絮凝,絮凝形成沉淀后,將攪拌筒(11)內的清水經過清水收集裝置(15)抽出污水預處理裝置,上清液經過浮力球(152)、吸水管(153)進入排水管(16)中,吸水動力由吸水泵(154)提供,絮凝后形成的沉淀物進入經過脫水裝置(2)脫水處理后沉淀物進入熱氧化設備(3)中;S2、脫水電機(24)帶動螺旋桿四(23)轉動,螺旋桿四(24)轉動帶動沉淀物在濾水筒(22)內轉動,沉淀物的水分透過濾水筒(22)進入脫水殼內,最后在回水泵(25)的作用下經濾水管(26)進入污水主管道(4);S3、沉淀物中的水分通過加熱槽(34)滲透至水槽(32)內,帶有一定濕度的沉淀物被加熱裝置(33)加熱氧化,轉動電機(36)帶動螺旋桿一(35)轉動,螺旋桿一(35)轉動帶動沉淀物緩慢向熱氧化設備(3)的右端移動,沉淀物中有機物經過高溫氧化分解為無機鹽。
發明內容
為解決上述技術問題,本發明提供了一種用于焦化污水處理的雜鹽熱氧化設備及方法。
本發明的技術方案是:一種用于焦化污水處理的雜鹽熱氧化設備,包括由上至下設置在固定支架上且通過管道依次連通的污水預處理裝置、脫水裝置、熱氧化設備,所述污水預處理裝置有多個,底部均固定連通有連接管,所述污水預處理裝置的頂部連通至污水主管道;
所述熱氧化設備包括熱氧化殼,所述熱氧化殼的底部設有水槽,熱氧化殼的底部前后側面內壁固定連接有加熱裝置,所述加熱裝置的上方設有加熱槽,所述加熱槽與所述熱氧化殼內壁固定連接,所述加熱槽底部設有若干排水孔,加熱槽的上方轉動連接有螺旋桿一,所述熱氧化殼的左端固定連接有轉動電機,所述轉動電機的輸出軸與所述螺旋桿一傳動連接,所述熱氧化殼的頂部固定連接有排氣管,所述排氣管與所述熱氧化殼內部相連通。
進一步地,所述污水預處理裝置包括攪拌筒,所述攪拌筒的左側上方固定連通有進水管,所述進水管的上端與所述污水主管道相連通,所述進水管與攪拌筒的連接處設有控制閥,所述攪拌筒的右側固定連接有清水收集裝置,所述清水收集裝置上端固定連通有排水管,所述攪拌筒頂部固定連接有絮凝劑添加裝置。
說明:通過污水預處理裝置將焦化廢水中的有機物鹽進行絮凝沉淀,攪拌桿的上方采用攪拌葉片對污水進行攪拌,使絮凝劑與焦化廢水充分混合,通過清水收集裝置將上清液抽取,下層濁液排入輸送管中。
進一步地,所述清水收集裝置包括清水收集管,所述清水收集管與所述攪拌筒右側下方固定連通,所述清水收集管內設有浮力球,所述浮力球的底部設有進水口,浮力球的上方固定連通有吸水管,所述吸水管的上端連通有吸水泵,所述吸水泵與所述排水管固定連接,且吸水泵的出水口與所述排水管內部固定連通。
說明:通過浮力球能確保一直抽取的是上清液,能高效分離上清液和下層濁液。
進一步地,所述污水預處理裝置底部通過連接管、輸料管經豎向通道一連接至所述脫水裝置,所述輸料管包括管體,所述管體的上方與所述連接管的下端固定連通,所述管體內部轉動連接有螺旋桿三,所述管體的左側外壁固定連接有輸料電機,所述輸料電機的輸出軸與所述螺旋桿三傳動連接。
說明:通過螺旋桿三將廢水與沉淀物的混合物輸送至脫水裝置,相比泵式輸送,這種輸送方式上方可以連接多個連接管,輸送效率高,故障率低。
進一步地,所述脫水裝置包括脫水殼,所述脫水殼內固定連接有濾水筒,所述濾水筒內橫向固定連接有濾水筒,所述濾水筒內轉動連接有螺旋桿四,所述脫水殼的右端固定連接有脫水電機,所述脫水電機的輸出軸與所述螺旋桿四傳動連接,所述脫水殼的內底部固定連接有回水泵,所述回水泵的出水口固定連通有濾水管,所述濾水管與所述污水主管道相連通。
說明:螺旋桿四的螺旋葉片間距右側疏左側密,混合物進入脫水裝置內,通過螺旋桿四向左輸送,由于螺旋桿四的螺旋葉片間距小于右側,混合物中的水分擠出,通過濾水筒流入脫水殼底部,通過回水泵輸送至污水主管道。
進一步地,所述加熱裝置包括集氣盒,所述集氣盒有兩個,兩個集氣盒分別固定連接在所述熱氧化殼的前側內壁和后側內壁,所述集氣盒內壁固定連通有若干噴氣嘴,兩個所述集氣盒的外壁均固定連通有輸氣管道。
說明:燃氣進入集氣盒內再通過噴嘴噴出被點燃,對加熱槽加熱,加熱槽加熱后對有機物鹽進行熱氧化分解,形成無機物。
進一步地,所述排氣管末端還連接有洗氣裝置,所述洗氣裝置包括淋洗管,所述淋洗管的底部固定連接有儲水筒,所述儲水筒的底部設有淋洗泵,淋洗管的上方內壁固定連接有噴頭,所述淋洗泵的出水口固定連通有供水管,所述供水管末端與所述噴頭相連通。
說明:對于有機物熱氧化過程中揮發的煙塵進行洗氣處理,提高尾氣排放的安全性,降低尾氣對環境的污染。
進一步地,所述水槽底部還固定連接有抽水泵,所述抽水泵的出水口固定連接有回流管,所述回流管頂部與所述污水主管道向連通。
說明:抽水泵將水槽內的水輸送至污水主管道進行重新處理,避免水槽內污水直接排放,導致水環境污染。
進一步地,利用上述一種用于焦化污水處理的雜鹽熱氧化設備進行雜鹽熱氧化的方法,包括以下步驟:
S1、打開控制閥后,焦化污水通過污水主管道再經過進水管進入污水預處理裝置的攪拌桶中,待攪拌筒內加滿污水后,關閉控制閥,先通過絮凝劑添加裝置添加絮凝劑,再經過攪拌桶進行攪拌,將焦化廢水中的有機物鹽和無機鹽進行絮凝,絮凝形成沉淀后,將攪拌筒內的清水經過清水收集裝置抽出污水預處理裝置,上清液經過浮力球、吸水管進入排水管中,吸水動力由吸水泵提供,絮凝后形成的沉淀物進入經過脫水裝置脫水處理后沉淀物進入熱氧化設備中;
S2、脫水電機帶動螺旋桿四轉動,螺旋桿四轉動帶動沉淀物在濾水筒內轉動,沉淀物的水分透過濾水筒進入脫水殼內,最后在回水泵的作用下經濾水管進入污水主管道;
S3、沉淀物中的水分通過加熱槽滲透至水槽內,帶有一定濕度的沉淀物被加熱裝置加熱氧化,轉動電機帶動螺旋桿一轉動,螺旋桿一轉動帶動沉淀物緩慢向熱氧化設備的右端移動,沉淀物中有機物經過高溫氧化分解為無機鹽。
本發明的有益效果是:
(1)本發明通過絮凝劑將焦化廢水中的有機物鹽類進行絮凝沉淀后,分離上清液和沉淀物,通過脫水裝置進行降低沉淀物的含水量,能夠提高有機物鹽的熱氧化效率。
(2)本發明對焦化廢水處理效果明顯,污水預處理裝置對焦化廢水有機物鹽的去除效率高,通過燃氣對有機物鹽進行直接加熱,燃氣的熱值高,進入熱氧化設備的沉淀物含水量低,能夠有效降低熱氧化所需要的能耗,做到節能環保,降低焦化廢水處理成本。
(發明人:李杰;張升星;張豪)






