公布日:2024.06.21
申請日:2024.03.22
分類號:C02F1/00(2023.01)I
摘要
本發明涉及污水處理技術領域,尤其為一種污水處理用攔截系統及其攔截工藝,包括基座、排水倉、污水攔截防堵機構和疏通機構,其中,刮除組件安裝在排水倉的頂部,且刮除組件的端部與攔截板的側壁抵觸連接,破碎組件安裝在破碎倉的內部,破碎倉的另一端與排水倉的側壁之間設置有排出組件,并通過排出組件相連接,疏通機構安裝在排水倉的頂部。本申請實施例的污水處理用攔截系統及其攔截工藝,在水流的作用下,雜物輸送到破碎倉的內部,而后雜物會在破碎倉中的破碎組件進行打碎處理,由此有效地避免攔截板發生堵塞,而后通過疏通機構可對污水表面的雜物進行收集,在疏通的同時,也可對攔截板的孔洞進行疏通,從而進一步地避免堵塞的發生。

權利要求書
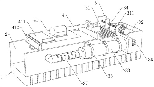
1.一種污水處理用攔截系統,其特征在于,包括基座(1)、排水倉(2)、污水攔截防堵機構(3)和疏通機構(4),其中,所述排水倉(2)固定連接在所述基座(1)的頂部;所述污水攔截防堵機構(3)包括攔截板(31)、進水倉(32)、破碎倉(33)、刮除組件(34)、破碎組件(35)、加固組件(36)和排出組件(37),其中,所述攔截板(31)卡接在所述排水倉(2)的內壁一端,所述進水倉(32)對稱固定連接在所述排水倉(2)的兩側;所述破碎倉(33)的一端固定連接在所述進水倉(32)的出水口處,且所述破碎倉(33)通過所述加固組件(36)安裝在所述排水倉(2)的側壁;所述刮除組件(34)安裝在所述排水倉(2)的頂部,且所述刮除組件(34)的端部與所述攔截板(31)的側壁抵觸連接;所述破碎組件(35)安裝在所述破碎倉(33)的內部;所述破碎倉(33)的另一端與所述排水倉(2)的側壁之間設置有所述排出組件(37),并通過所述排出組件(37)相連接;所述疏通機構(4)安裝在所述排水倉(2)的頂部。
2.根據權利要求1所述的一種污水處理用攔截系統,其特征在于,所述刮除組件(34)包括支撐側板(341)、第一驅動裝置(342)、螺紋絲桿(343)、移動側板(344)、滑動撐板(345)、安裝板(346)和刮板(347),其中,所述支撐側板(341)對稱固定連接在所述排水倉(2)的頂部;所述第一驅動裝置(342)安裝在所述支撐側板(341)的外壁,所述螺紋絲桿(343)的兩端轉動連接在兩個所述支撐側板(341)的內壁,且所述螺紋絲桿(343)的一端與所述第一驅動裝置(342)的輸出端固定連接;所述移動側板(344)螺紋套接在所述螺紋絲桿(343)的外壁,所述滑動撐板(345)滑動卡接在所述攔截板(31)的頂部,且所述移動側板(344)的底部與所述滑動撐板(345)的頂部固定連接;所述安裝板(346)的端部固定連接在所述滑動撐板(345)的底部,所述刮板(347)的一側卡接在所述安裝板(346)的側壁,且所述刮板(347)的另一側與所述攔截板(31)的側壁抵觸連接。
3.根據權利要求2所述的一種污水處理用攔截系統,其特征在于,所述破碎組件(35)包括第二驅動裝置(351)、驅動臂(352)和破碎頭(353),其中,所述第二驅動裝置(351)安裝在所述進水倉(32)的一側;所述驅動臂(352)的一端貫穿所述進水倉(32)的另一側,并與所述第二驅動裝置(351)的輸出端固定連接;所述破碎頭(353)呈圓周陣列式固定連接在所述驅動臂(352)的外壁。
4.根據權利要求3所述的一種污水處理用攔截系統,其特征在于,所述加固組件(36)包括支撐套板(361)、加固套(362)和緊固螺栓(363),其中,所述支撐套板(361)等距固定連接在所述排水倉(2)的側壁,所述破碎倉(33)安裝在所述支撐套板(361)的內壁;所述加固套(362)套接在所述破碎倉(33)的外壁;所述緊固螺栓(363)螺紋貫穿所述加固套(362)的外壁,并與所述支撐套板(361)的外壁相螺接。
5.根據權利要求3所述的一種污水處理用攔截系統,其特征在于,所述排出組件(37)包括螺紋套板(371)和排出管道(372),其中,所述螺紋套板(371)的一端螺紋套接在所述破碎倉(33)的另一端,所述驅動臂(352)的另一端轉動連接在所述螺紋套板(371)的內壁;所述排出管道(372)的一端固定連接在所述螺紋套板(371)的另一端,所述排出管道(372)的另一端固定連接在所述排水倉(2)的外壁。
6.根據權利要求1所述的一種污水處理用攔截系統,其特征在于,所述疏通機構(4)包括收集倉(41)、驅動組件(42)和刮擦組件(43),其中,所述收集倉(41)固定連接在所述排水倉(2)的頂部;所述驅動組件(42)安裝在所述收集倉(41)的頂部,所述刮擦組件(43)與所述驅動組件(42)的輸出端固定連接;所述收集倉(41)的頂部轉動連接有開合蓋板(411),所述收集倉(41)的一端開設有收集槽孔,所述收集倉(41)的另一端安裝有濾網(412)。
7.根據權利要求6所述的一種污水處理用攔截系統,其特征在于,所述驅動組件(42)包括第三驅動裝置(421)、驅動桿(422)和支撐頭(423),其中,所述第三驅動裝置(421)安裝在所述收集倉(41)的頂部;所述驅動桿(422)的一端與所述第三驅動裝置(421)的輸出端固定連接,所述支撐頭(423)固定連接在所述驅動桿(422)的另一端;所述刮擦組件(43)安裝在所述支撐頭(423)上。
8.根據權利要求7所述的一種污水處理用攔截系統,其特征在于,所述刮擦組件(43)包括收集板(431)、安裝頂板(432)、導向側板(433)、滑動底板(434)、限位桿(435)、支撐彈簧(436)和疏通頭(437),其中,所述收集板(431)固定連接在所述支撐頭(423)的底部,所述安裝頂板(432)固定連接在所述收集板(431)的一側底部;所述導向側板(433)滑動卡接在所述安裝頂板(432)的內壁,所述滑動底板(434)對稱固定連接在所述導向側板(433)的兩側,且所述滑動底板(434)的底部貼合在所述安裝頂板(432)的頂部;所述限位桿(435)依次滑動貫穿所述導向側板(433)和所述滑動底板(434),并于所述安裝頂板(432)的頂部相卡接;所述支撐彈簧(436)套接在所述限位桿(435)上,且所述支撐彈簧(436)的兩端分別與所述導向側板(433)的內側頂部和所述滑動底板(434)的頂部固定連接;多個所述疏通頭(437)呈矩陣式固定連接在所述導向側板(433)的側壁。
9.根據權利要求8所述的一種污水處理用攔截系統,其特征在于,所述排水倉(2)的端部開設有引水口(21),所述攔截板(31)上均勻地開設有通孔(311),所述通孔(311)的位置與所述疏通頭(437)的位置相互匹配。
10.一種攔截工藝,使用權利要求1-9中任意所述的一種污水處理用攔截系統實現,其特征在于,包括以下步驟:S1、將污水導入到裝有過濾板的處理裝置中,利用過濾板的微孔結構對污水中的固體雜質進行攔截和阻擋,從而實現初步的固液分離,過濾板的材質和孔徑根據污水的性質和處理要求進行選定,以保證高效過濾的同時減少堵塞的發生。S2、使用刮擦組件定期或連續地清理附著在過濾板上的雜物,刮擦組件既保持了過濾板的清潔,又避免了因雜物堆積引發的堵塞問題。S3、將刮擦組件收集到的雜物輸送至破碎處理單元,通過破碎處理將大塊雜物破碎成較小的顆粒,以便于后續的處理或處置,破碎處理減輕了對處理設施的堵塞風險。S4、在進行上述步驟的同時,對污水表面的浮游雜質進行收集處理,有效去除污水表面的油脂、漂浮物等雜質,進一步提高污水處理的效果,同步對過濾板進行疏通處理,確保過濾板的孔隙暢通無阻。
發明內容
本申請旨在至少在一定程度上解決相關技術中的技術問題之一。
為此,本申請的第一個目的在于解決傳統的污水處理用攔截系統及其攔截工藝,能夠通過刮擦和疏通結構,有效避免過濾板的長時間堵塞問題,提高污水處理的效率和穩定性,同時減少維護成本和提高系統的運行效率,能夠實現更高效的雜質攔截和去除,同時具有自清潔或易于清潔的特性。
為達到上述目的,本申請第一方面實施例提出了一種污水處理用攔截系統及其攔截工藝,包括基座、排水倉、污水攔截防堵機構和疏通機構,其中,所述排水倉固定連接在所述基座的頂部,所述污水攔截防堵機構包括攔截板、進水倉、破碎倉、刮除組件、破碎組件、加固組件和排出組件,其中,所述攔截板卡接在所述排水倉的內壁一端,所述進水倉對稱固定連接在所述排水倉的兩側,所述破碎倉的一端固定連接在所述進水倉的出水口處,且所述破碎倉通過所述加固組件安裝在所述排水倉的側壁,所述刮除組件安裝在所述排水倉的頂部,且所述刮除組件的端部與所述攔截板的側壁抵觸連接,所述破碎組件安裝在所述破碎倉的內部,所述破碎倉的另一端與所述排水倉的側壁之間設置有所述排出組件,并通過所述排出組件相連接,所述疏通機構安裝在所述排水倉的頂部。
本申請實施例的污水處理用攔截系統及其攔截工藝,破碎組件安裝在破碎倉的內部,破碎倉的另一端與排水倉的側壁之間設置有排出組件,并通過排出組件相連接,疏通機構安裝在排水倉的頂部,進而通過攔截板可對污水中的雜質進行攔截,當攔截板上吸附有雜物時,可通過刮除組件,將攔截板上的雜物刮擦到進水倉的內部,在水流的作用下,雜物輸送到破碎倉的內部,而后雜物會在破碎倉中的破碎組件進行打碎處理,由此有效地避免攔截板發生堵塞,而后通過疏通機構可對污水表面的雜物進行收集,在疏通的同時,也可對攔截板的孔洞進行疏通,從而進一步地避免堵塞的發生。
另外,根據本申請上述提出的污水處理用攔截系統及其攔截工藝還可以具有如下附加的技術特征:
在本申請的一個實施例中,所述刮除組件包括支撐側板、第一驅動裝置、螺紋絲桿、移動側板、滑動撐板、安裝板和刮板,其中,所述支撐側板對稱固定連接在所述排水倉的頂部,所述第一驅動裝置安裝在所述支撐側板的外壁,所述螺紋絲桿的兩端轉動連接在兩個所述支撐側板的內壁,且所述螺紋絲桿的一端與所述第一驅動裝置的輸出端固定連接,所述移動側板螺紋套接在所述螺紋絲桿的外壁,所述滑動撐板滑動卡接在所述攔截板的頂部,且所述移動側板的底部與所述滑動撐板的頂部固定連接,所述安裝板的端部固定連接在所述滑動撐板的底部,所述刮板的一側卡接在所述安裝板的側壁,且所述刮板的另一側與所述攔截板的側壁抵觸連接。
在本申請的一個實施例中,所述破碎組件包括第二驅動裝置、驅動臂和破碎頭,其中,所述第二驅動裝置安裝在所述進水倉的一側,所述驅動臂的一端貫穿所述進水倉的另一側,并與所述第二驅動裝置的輸出端固定連接,所述破碎頭呈圓周陣列式固定連接在所述驅動臂的外壁。
在本申請的一個實施例中,所述加固組件包括支撐套板、加固套和緊固螺栓,其中,所述支撐套板等距固定連接在所述排水倉的側壁,所述破碎倉安裝在所述支撐套板的內壁,所述加固套套接在所述破碎倉的外壁,所述緊固螺栓螺紋貫穿所述加固套的外壁,并與所述支撐套板的外壁相螺接。
在本申請的一個實施例中,所述排出組件包括螺紋套板和排出管道,其中,所述螺紋套板的一端螺紋套接在所述破碎倉的另一端,所述驅動臂的另一端轉動連接在所述螺紋套板的內壁,所述排出管道的一端固定連接在所述螺紋套板的另一端,所述排出管道的另一端固定連接在所述排水倉的外壁。
在本申請的一個實施例中,所述疏通機構包括收集倉、驅動組件和刮擦組件,其中,所述收集倉固定連接在所述排水倉的頂部,所述驅動組件安裝在所述收集倉的頂部,所述刮擦組件與所述驅動組件的輸出端固定連接,所述收集倉的頂部轉動連接有開合蓋板,所述收集倉的一端開設有收集槽孔,所述收集倉的另一端安裝有濾網。
在本申請的一個實施例中,所述驅動組件包括第三驅動裝置、驅動桿和支撐頭,其中,所述第三驅動裝置安裝在所述收集倉的頂部,所述驅動桿的一端與所述第三驅動裝置的輸出端固定連接,所述支撐頭固定連接在所述驅動桿的另一端,所述刮擦組件安裝在所述支撐頭上。
在本申請的一個實施例中,所述刮擦組件包括收集板、安裝頂板、導向側板、滑動底板、限位桿、支撐彈簧和疏通頭,其中,所述收集板固定連接在所述支撐頭的底部,所述安裝頂板固定連接在所述收集板的一側底部,所述導向側板滑動卡接在所述安裝頂板的內壁,所述滑動底板對稱固定連接在所述導向側板的兩側,且所述滑動底板的底部貼合在所述安裝頂板的頂部,所述限位桿依次滑動貫穿所述導向側板和所述滑動底板,并于所述安裝頂板的頂部相卡接,所述支撐彈簧套接在所述限位桿上,且所述支撐彈簧的兩端分別與所述導向側板的內側頂部和所述滑動底板的頂部固定連接,多個所述疏通頭呈矩陣式固定連接在所述導向側板的側壁。
在本申請的一個實施例中,所述排水倉的端部開設有引水口,所述攔截板上均勻地開設有通孔,所述通孔的位置與所述疏通頭的位置相互匹配。
本申請的一個實施例中,包括以下步驟:
S1、將污水導入到裝有過濾板的處理裝置中,利用過濾板的微孔結構對污水中的固體雜質進行攔截和阻擋,從而實現初步的固液分離,過濾板的材質和孔徑根據污水的性質和處理要求進行選定,以保證高效過濾的同時減少堵塞的發生。
S2、使用刮擦組件定期或連續地清理附著在過濾板上的雜物,刮擦組件既保持了過濾板的清潔,又避免了因雜物堆積引發的堵塞問題。
S3、將刮擦組件收集到的雜物輸送至破碎處理單元,通過破碎處理將大塊雜物破碎成較小的顆粒,以便于后續的處理或處置,破碎處理減輕了對處理設施的堵塞風險。
S4、在進行上述步驟的同時,對污水表面的浮游雜質進行收集處理,有效去除污水表面的油脂、漂浮物等雜質,進一步提高污水處理的效果,同步對過濾板進行疏通處理,確保過濾板的孔隙暢通無阻。
本申請附加的方面和優點將在下面的描述中部分給出,部分將從下面的描述中變得明顯,或通過本申請的實踐了解到。
與現有技術相比,本發明的有益效果是:
1.本發明中,通過啟動第一驅動裝置可帶動螺紋絲桿進行轉動,由此即可帶動移動側板在攔截板上進行往復的位置移動,滑動撐板可保證移動側板的移動更加穩定,當滑動撐板在往復移動的過程中,因安裝板的端部固定連接在滑動撐板的底部,刮板的一側卡接在安裝板的側壁,且刮板的另一側與攔截板的側壁抵觸連接,進而可通過刮板對攔截板上的雜物進行刮擦,由此可將雜物刮入到進水倉中,從而降低攔截板的堵塞問題。
2.本發明中,第二驅動裝置安裝在進水倉的一側,驅動臂的一端貫穿進水倉的另一側,并與第二驅動裝置的輸出端固定連接,破碎頭呈圓周陣列式固定連接在驅動臂的外壁,進而通過啟動第二驅動裝置可帶動驅動臂進行轉動,由此通過驅動臂可帶動破碎頭對雜物進行破碎處理,雜物被破碎細化后,可通過排出組件將破碎后的雜物排出。
3.本發明中,螺紋套板的一端螺紋套接在破碎倉的另一端,驅動臂的另一端轉動連接在螺紋套板的內壁,排出管道的一端固定連接在螺紋套板的另一端,排出管道的另一端固定連接在排水倉的外壁,進而通過排出管道可便捷地將污水進行排出,且污水不僅可以通過攔截板流通,也可通過破碎倉和排出管道排出,提高了污水的排出效率。
4.本發明中,支撐彈簧的兩端分別與導向側板的內側頂部和滑動底板的頂部固定連接,多個疏通頭呈矩陣式固定連接在導向側板的側壁,進而在支撐頭的作用下,可帶動收集板的底部對污水的漂浮物進行刮擦,將漂浮物收集到收集倉的內部,而后通過向上提拉限位桿,可將導向側板的位置進行調整,由此可帶動疏通頭對不同位置的通孔進行疏通,進而進一地提升了污水處理的效果。
(發明人:許曉靜;馮春翰;郭惠;周曉林)






