公布日:2023.12.01
申請日:2022.05.20
分類號:C02F1/58(2023.01)I;C02F1/38(2023.01)I;C02F101/14(2006.01)N
摘要
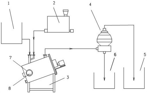
本發明公開了一種非石灰處理高含氟廢水的方法及系統。所述系統由沖擊攪拌裝置、加藥機、碟片離心分離機、產水箱、氟化物沉渣箱組成。方法步驟為,初始將復合除氟劑和氧化鋁研磨球填裝至沖擊攪拌裝置中,在沖擊攪拌裝置內的兩片對向旋轉的沖擊葉盤和氧化鋁研磨球的強力作用下,使顆粒狀復合除氟劑與高含氟廢水充分接觸并被重復使用,達到最佳的除氟效果和最少的藥劑使用量,采用碟片離心分離機使反應后含氟化物的懸濁液固液分離,除氟徹底,處理后的水質硬度低,氟離子濃度小于2mg/L,可直接排放或通過反滲透處理回用。

權利要求書
1.一種非石灰處理高含氟廢水的方法及系統,其方法特征在于采用以下步驟:(1)初始加藥:運行前通過加藥機依次向沖擊攪拌裝置內加入復合除氟劑及氧化鋁研磨球;(2)藥劑除氟:將貯存在含氟原水箱中的氟離子質量濃度為1000~5000mg/L的高含氟廢水以10~20m3/h的流速連續加入到沖擊攪拌裝置中,與初始加入的復合除氟劑和氧化鋁研磨球在沖擊攪拌裝置內完成除氟反應,反應后水中的氟化物形成懸濁液從裝置上部排出,復合除氟劑和氧化鋁研磨球通過傾斜的裝置體內壁返回到裝置底部反復使用;(3)固液分離:在沖擊攪拌裝置中反應后的出水進入到碟片離心分離機,進一步將水中的氟化物沉渣與處理水分離,產生的沉渣排放至氟化物沉渣箱,處理后的水進入產水箱,產水水質氟離子濃度≤2mg/L,達到直接排放或再經處理用于生產回用;一種非石灰處理高含氟廢水的方法及系統,其系統特征在于包括含氟原水箱、加藥機、沖擊攪拌裝置、碟片離心分離機、產水箱、氟化物沉渣箱、玻璃視窗、低藥位刻度線;含氟原水箱、加藥機分別通過管道連接至沖擊攪拌裝置的進水口和進藥口,沖擊攪拌裝置、碟片離心分離機、產水箱經管路依次連接;碟片離心分離機經管道還與氟化物沉渣箱連接;所述的復合除氟劑,其組分按質量百分比為白云石20~40%、方解石20~40%、脫氟磷酸鈣15~18%、沸石10~20%、蛭石10~19%、羥基磷灰石5~12%組成,將上述組分混合研磨制成其粒徑為1~3mm顆粒狀藥劑,運行前初始添加量為沖擊攪拌裝置內部容積的10~20%,運行1小時后補充添加量按沖擊攪拌裝置的玻璃視窗為低藥位刻度線位置時定量添加;所述的氧化鋁研磨球直徑為3~5mm,只在初次運行前一次性添加沖擊攪拌裝置容積的5~10%。
2.根據權利要求1所述的一種非石灰處理高含氟廢水的方法及系統,其系統的進一步特征為:所述的沖擊攪拌裝置的裝置本體為圓筒體,與支架水平傾斜角為30°~45°固定在支架上,其底部向上1/4處垂直設置有管徑為DN50的進水口,管徑為DN25進藥口與進水口并聯相通、上部向下100mm處垂直設置管徑為DN50的出水口;進一步地,在軸向中心距離底部200mm處設有孔徑為150mm的玻璃視窗,低藥位刻度線位置距玻璃視窗下部1/3處、方向與地面水平,裝置本體的直徑500~1000mm、徑長比1:1.5~2,底部最低端開有排污口;所述同軸攪拌桿組件,其外桿外徑為50~70mm、壁厚3mm的空心管,內桿壁厚也為3mm的空心管,其外徑由軸承內徑決定,內桿兩端通過軸承固定在裝置本體圓心處的軸承座上,外桿兩端的內徑處通過設置的軸承與內桿聯結,內桿、外桿可相對異向轉動;進一步地,內桿、外桿的上端分別設有齒輪,經同軸異向齒輪箱與固定在電機支架上的減速電機相連接,減速電機減速比15~25:1;外桿下端設有厚度為5mm的沖擊葉盤,內桿距底部1/3處也設有厚度為5mm的沖擊葉盤,沖擊葉盤上焊接有4個徑向均勻對稱分布、高度為20~40mm、厚度為10mm的凸起條,兩凸起條邊緣相對間距為30mm;外桿下端1/3處徑向對稱焊接寬度為50~80mm攪拌槳葉,攪拌槳葉展開直徑小于裝置本體內徑的100mm;所述碟片離心分離機轉速為3000~5000轉/分鐘;所述沖擊攪拌裝置、同軸攪拌桿組件材質為碳鋼、表層涂覆防腐涂料。
發明內容
本發明針對現有技術中普遍存在的需要使用和過量投加石灰除氟劑、且除氟效果不好的問題,提供一種非石灰處理高含氟廢水的方法及系統,技術方案如下。
處理系統由含氟原水箱、加藥機、沖擊攪拌裝置、碟片離心分離機、產水箱、氟化物沉渣箱等組成。含氟原水箱、加藥機分別通過管道連接至沖擊攪拌裝置的進水口和進藥口,沖擊攪拌裝置、碟片離心分離機、產水箱經管路依次連接;碟片離心分離機經管道還與氟化物沉渣箱連接。
沖擊攪拌裝置其裝置本體為圓筒體,與支架水平傾斜角為30°~45°固定在支架上,其底部向上1/4處垂直設置有管徑為DN50的進水口,管徑為DN25進藥口與進水口并聯相通、上部向下100mm處垂直設置管徑為DN50的出水口。進一步地,在軸向中心距離底部200mm處設有孔徑為150mm的玻璃視窗,低藥位刻度線位置距玻璃視窗下1/3處、方向與地面水平,裝置本體的直徑500~1000mm、徑長比1:1.5~2,底部最低端開有排污口。
沖擊攪拌裝置內設有的同軸攪拌桿組件,其外桿外徑為50~70mm、壁厚3mm的空心管,內桿壁厚也為3mm的空心管,其外徑由軸承內徑決定,內桿兩端通過軸承固定在裝置本體圓心處的軸承座上,外桿兩端的內徑處通過設置的軸承與內桿聯結,內桿、外桿可相對異向轉動。內桿、外桿的上端分別設有齒輪,經同軸異向齒輪箱與固定在電機支架上的減速電機相連接,減速電機減速比15~25:1;外桿下端設有厚度為5mm的沖擊葉盤,內桿距底部1/3處也設有厚度為5mm的沖擊葉盤,沖擊葉盤上焊接有4~8個徑向均勻對稱分布、高度為20~40mm、厚度為10mm的凸起條,兩凸起條邊緣相對間距為30mm;外桿下端1/3處徑向對稱焊接寬度為50~80mm攪拌槳葉,攪拌槳葉展開直徑小于裝置本體內徑的100mm;沖擊攪拌裝置、同軸攪拌桿組件材質為碳鋼,表層涂覆防腐涂料。
碟片離心分離機將除氟劑與含氟水反應后形成的氟化物懸濁液,在高速旋轉組合碟片離心力作用下實現固液分離而凈化水質,使除氟徹底且處理后的水質硬度更低。
配合上述系統,本發明專門設計和使用一種復合除氟劑,其組分按質量百分比為白云石20~40%、方解石20~40%、脫氟磷酸鈣15~18%、沸石10~20%、蛭石10~19%、羥基磷灰石5~12%組成,將上述組分混合研磨制成其粒徑為1~3mm粒狀藥劑,運行前初始添加量為沖擊攪拌裝置內部容積的10~20%,運行1小時后補充添加量按沖擊攪拌裝置的玻璃視孔為低藥位刻度線位置時定量添加;此外,設計方案中使用的氧化鋁研磨球直徑為3~5mm,只在初次運行前一次性添加沖擊攪拌裝置容積的5~10%。
本設計方案實施的處理方法步驟如下。
(1)初始加藥:運行前通過加藥機依次向沖擊攪拌裝置內加入復合除氟劑及氧化鋁研磨球。
(2)藥劑除氟:將貯存在含氟原水箱中的氟離子質量濃度為1000~5000mg/L的高含氟廢水以10~20m3/h的流速連續加入到沖擊攪拌裝置中,與初始加入的復合除氟劑和氧化鋁研磨球在沖擊攪拌裝置內完成除氟反應,反應后水中的氟化物形成懸濁液從裝置上部排出,復合除氟劑和氧化鋁研磨球通過傾斜的裝置體內壁返回到裝置底部反復使用。
(3)固液分離:在沖擊攪拌裝置中反應后的出水進入到碟片離心分離機,進一步將水中的氟化物沉渣與處理水分離,產生的沉渣排放至氟化物沉渣箱,處理后的水進入產水箱,產水水質氟離子濃度≤2mg/L,達到直接排放或再經處理用于生產回用。
本發明的有益效果為:與現有技術相比本發明具有如下有益效果:設計采用了沖擊攪拌裝置與復合除氟劑配合,在沖擊攪拌裝置中兩片對向旋轉的沖擊葉盤和氧化鋁研磨球的強力作用下,使顆粒狀復合除氟劑與含氟廢水充分接觸并被重復使用,達到最佳的除氟效果和最少的藥劑使用量;采用碟片離心分離機使反應后含氟化物的懸濁液固液分離,除氟徹底且處理后的水質硬度低,可直接排放或通過反滲透處理回用。
(發明人:張航)






