公布日:2023.10.13
申請日:2023.07.27
分類號:A47L11/40(2006.01)I;A47L11/30(2006.01)I
摘要
本公開提供了一種污水箱和清潔設備。污水箱包括:吸污管道、污液腔、排氣通道,污液腔包括相連通的第一腔室和第二腔室,第一腔室位于第二腔室和排氣通道之間,吸污管道的吸污入口位于污液腔的外部,吸污管道的吸污出口位于第一腔室內,排氣通道的進氣口與第一腔室連通,排氣通道的出氣口與清潔設備的清潔風機連通;其中,第一腔室中的至少部分液體配置為流向第二腔室。由此,即使清潔設備水平放置時,第一腔室仍可以處于無積水或少積水的狀態,即不會有大量的污水經第一腔室隨排氣通道排出而進入清潔風機,有利于提高清潔風機的使用壽命,提高清潔設備的可靠性。

權利要求書
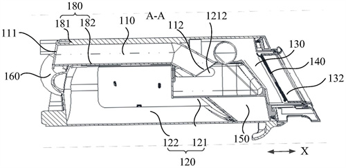
1.一種污水箱,用于清潔設備,其特征在于,所述污水箱包括:吸污管道、污液腔、排氣通道,所述污液腔包括相連通的第一腔室和第二腔室,所述第一腔室位于所述第二腔室和所述排氣通道之間,所述吸污管道的吸污入口位于所述污液腔的外部,所述吸污管道吸污管道的吸污出口位于所述第一腔室內,所述排氣通道的進氣口與所述第一腔室連通,所述排氣通道的出氣口與所述清潔設備的清潔風機連通;其中,所述第一腔室中的至少部分液體配置為流向所述第二腔室。
2.根據權利要求1所述的污水箱,其特征在于,還包括:單向閥,設置在所述第一腔室和所述第二腔室的連通位置處,所述單向閥的進口與所述第一腔室連通,所述單向閥的出口與所述第二腔室連通。
3.根據權利要求2所述的污水箱,其特征在于,所述污水箱水平放置時,所述第一腔室的腔底位于所述第二腔室的腔底的上方。
4.根據權利要求1所述的污水箱,其特征在于,所述第一腔室的腔壁開設有插入口和過氣口,所述吸污管道的所述吸污出口通過所述插入口延伸至所述第一腔室的內部,所述進氣口位于所述過氣口的上方,并由所述第一腔室的外部與所述過氣口連通;其中,所述進氣口與所述過氣口交錯設置
5.根據權利要求4所述的污水箱,其特征在于,所述污水箱水平放置時,所述插入口位于所述第一腔室的頂部,所述過氣口靠近所述第一腔室的頂部設置,所述進氣口位于所述第一腔室遠離所述第二腔室的一側的頂部。
6.根據權利要求5所述的污水箱,其特征在于,所述污水箱水平放置時,所述吸污出口向下傾斜設置。
7.根據權利要求4所述的污水箱,其特征在于,在所述過氣口所在平面內,至少部分所述吸污出口的投影位于所述過氣口的投影區域內。
8.根據權利要求4所述的污水箱,其特征在于,還包括:位于所述第一腔室外側的過渡腔室,所述過渡腔室位于所述第二腔室和所述排氣通道之間,所述過渡腔室與所述第一腔室通過所述過氣口連通,所述進氣口位于所述過渡腔室內。
9.根據權利要求8所述的污水箱,其特征在于,所述過渡腔室內設置有導向板,所述導向板的兩側分別連接所述第一腔室的外壁和所述過渡腔室的內壁,所述導向板的第一端部向所述進氣口的方向延伸至與所述排氣通道的外壁連接,所述導向板的第二端部向所述過氣口的方向延伸并與所述第二腔室的外壁之間具有縫隙;其中,所述污水箱水平放置時,所述導向板位于所述過氣口的下方并位于所述第一腔室的腔底的上方,所述導向板由所述第一端部至所述第二端部傾斜向下設置。
10.一種清潔設備,其特征在于,包括:設備主體,以及如權利要求1至9中任一項所述的污水箱,所述污水箱與所述設備主體可拆卸連接。
發明內容
在發明內容部分中引入了一系列簡化形式的概念,這將在具體實施方式部分中進一步詳細說明。本公開的此部分并不意味著要試圖限定出所要求保護的技術方案的關鍵特征和必要技術特征,更不意味著試圖確定所要求保護的技術方案的保護范圍。
本公開第一方面的實施例,提供了一種污水箱,用于清潔設備,污水箱包括:吸污管道、污液腔、排氣通道,污液腔包括相連通的第一腔室和第二腔室,第一腔室位于第二腔室和排氣通道之間,吸污管道的吸污入口位于污液腔的外部,吸污管道的吸污出口位于第一腔室內,排氣通道的進氣口與第一腔室連通,排氣通道的出氣口與清潔設備的清潔風機連通;其中,第一腔室中的至少部分液體配置為流向第二腔室。
進一步地,污水箱還包括:單向閥,設置在第一腔室和第二腔室的連通位置處,單向閥的進口與第一腔室連通,單向閥的出口與第二腔室連通。
進一步地,污水箱水平放置時,第一腔室的腔底位于第二腔室的腔底的上方。
進一步地,第一腔室的腔壁開設有插入口和過氣口,吸污管道的吸污出口通過插入口延伸至第一腔室的內部,進氣口位于過氣口的上方,并由第一腔室的外部與過氣口連通;其中,進氣口與過氣口交錯設置。
進一步地,污水箱水平放置時,插入口位于第一腔室的頂部,過氣口靠近第一腔室的頂部設置,進氣口位于第一腔室遠離第二腔室的一側的頂部。
進一步地,污水箱水平放置時,吸污出口向下傾斜設置。
進一步地,在過氣口所在平面內,至少部分吸污出口的投影位于過氣口的投影區域內。
進一步地,污水箱還包括:位于第一腔室外側的過渡腔室,過渡腔室位于第二腔室和排氣通道之間,過渡腔室與第一腔室通過過氣口連通,進氣口位于過渡腔室內。
進一步地,過渡腔室內設置有導向板,導向板的兩側分別連接第一腔室的外壁和過渡腔室的內壁,導向板的第一端部向進氣口的方向延伸至與排氣通道的外壁連接,導向板的第二端部向過氣口的方向延伸并與第二腔室的外壁之間具有縫隙;其中,污水箱水平放置時,導向板位于過氣口的下方并位于第一腔室的腔底的上方,導向板由第一端部至第二端部傾斜向下設置。
進一步地,第二腔室的腔壁包括連接第一腔室的外壁和過渡腔室的內壁連接壁,連接壁由第一腔室至過渡腔室的方向向靠近排氣通道的方向傾斜設置。
進一步地,污水箱還包括:排污管道,排污管道繞設在第一腔室的外部,排污管道的排污入口位于豎直放置的污水箱的第二腔室的腔底,排污管道的排污出口延伸至污水箱的外部,用于與排污機構連通。
進一步地,污水箱還包括:水位檢測裝置,設置在第二腔室內,用于檢測第二腔室內液體的水位。
進一步地,污水箱還包括:過濾罩,設置在第二腔室內,罩設在水位檢測裝置的外部,過濾罩用于對流向水位檢測裝置的液體進行過濾。
進一步地,污水箱還包括:過濾器,設置在排氣通道內,用于對流經出氣口的氣流進行過濾。
進一步地,污水箱包括:桶本體和蓋體,桶本體包括外殼和內殼,蓋體包括蓋本體和保持部,外殼與蓋本體可拆卸連接,內殼形成有吸污管道,外殼、內殼、保持部合圍成污液腔,蓋本體形成有排氣通道。
進一步地,保持部形成有第一腔室,保持部還包括第二腔室的連接壁,連接壁和排氣通道位于第一腔室的兩側,連接壁與外殼、內殼合圍成第二腔室;污水箱還包括第一密封件,連接在連接壁和外殼之間,以密封連接壁和外殼之間的縫隙。
本公開第二方面的實施例,提供了一種清潔設備,包括:設備主體,以及第一方面中任一項的污水箱,污水箱與設備主體可拆卸連接。
本公開實施例提供的污水箱和清潔設備,污水箱:吸污管道、污液腔、排氣通道,污液腔包括相連通的第一腔室和第二腔室,第一腔室位于第二腔室和排氣通道之間,吸污管道的吸污入口位于污液腔的外部,吸污管道吸污管道的吸污出口位于第一腔室內,排氣通道的進氣口與第一腔室連通;其中,第一腔室中的至少部分液體配置為流向第二腔室。由此,在清潔風機的抽吸氣流的作用下,待清潔表面的待處理介質由吸污管道的吸污入口流入吸污管道,并經吸污管道的吸污出口流經第一腔室。由于第一腔室中的至少部分液體配置為流向第二腔室,由此,可以減少第一腔室中液體的容納量,使得第一腔室中可以處于無積水或少積水的狀態,這樣,即使清潔設備的設備主體水平放置,第一腔室內的液體的至少一部分會流向第二腔室,使得第一腔室仍可以處于無積水或少積水的狀態,即不會有大量的污水經第一腔室隨排氣通道排出而進入清潔風機,進而降低污液損壞清潔風機的風險,有利于提高清潔風機的使用壽命,提高清潔設備的可靠性。
(發明人:周永飛;陳家裕;梁彬雄)






