公布日:2023.12.08
申請日:2023.09.18
分類號:C02F1/00(2023.01)I;C02F103/14(2006.01)N
摘要
本發明公開了一種涂料生產用廢水預處理裝置,涉及廢水處理技術領域,包括機架,機架的表面分別固定安裝有濾殼、混藥罐和提渣筒,提渣筒的周表面與混藥罐固定連接,濾殼的表面安裝有雙頭電機,濾殼的內部轉動連接有轉位旋筒,轉位旋筒內部安裝有一組呈圓周陣列分布的濾液模塊,轉位旋筒的內壁轉動連接有傳動環,傳動環的周表面固定安裝有與濾液模塊傳動連接的半齒圈,半齒圈和轉位旋筒均通過雙頭電機驅動。本發明能夠實現對濾出固體污物的往復強制擠壓脫水及擠壓脫水后固體污物的往復回位松散,通過對固體污物往復擠壓脫水及往復分散效果的實現,以有效降低固體污物內的污水殘留率,通過污水殘留率的降低,以有效提高本裝置對污水的凈化度。

權利要求書
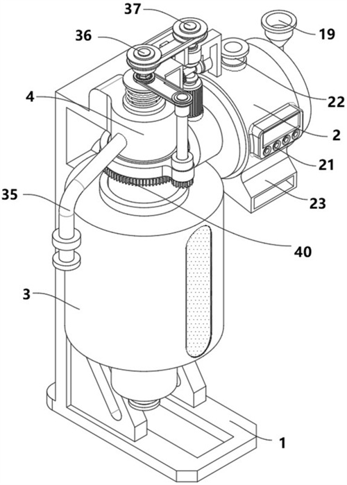
1.一種涂料生產用廢水預處理裝置,包括機架(1),其特征在于:所述機架(1)的表面分別固定安裝有濾殼(2)、混藥罐(3)和提渣筒(4),所述提渣筒(4)的側面與混藥罐(3)固定連接,所述濾殼(2)的表面安裝有雙頭電機(5),所述濾殼(2)的內部轉動連接有轉位旋筒(6),所述轉位旋筒(6)內部安裝有一組呈圓周陣列分布的濾液模塊,所述轉位旋筒(6)的內壁轉動連接有傳動環,所述傳動環的周表面固定安裝有與濾液模塊傳動連接的半齒圈(7),所述半齒圈(7)和轉位旋筒(6)均通過雙頭電機(5)驅動,所述傳動環的內壁轉動連接有與濾殼(2)固定連接的集流組件,所述機架(1)的上部安裝有通過雙頭電機(5)驅動的導振機構,所述導振機構的表面分別傳動連接有振架(8)和旋振筒(9),所述旋振筒(9)的周表面分別與提渣筒(4)和混藥罐(3)滑動貼合,所述旋振筒(9)的周表面與振架(8)轉動連接,所述振架(8)的表面固定安裝有與提渣筒(4)配合的提渣機構,所述旋振筒(9)的內部且對應混藥罐(3)內部的位置安裝有一組規則分布的攪液模組,所述混藥罐(3)的內壁固定安裝有與攪液模組傳動連接的定齒圈(10)。
2.根據權利要求1所述的一種涂料生產用廢水預處理裝置,其特征在于:所述濾液模塊分別包括開設于轉位旋筒(6)內部的濾液腔(11),所述濾液腔(11)的頂端開口底部為內凹弧面狀結構,所述濾液腔(11)的內表面之間轉動連接有往復軸(12),所述往復軸(12)與濾液腔(11)的轉動連接處固定設置有扭簧(13),所述往復軸(12)的尾端固定安裝有與半齒圈(7)傳動配合的往復齒輪(14),所述往復軸(12)的周表面固定安裝有螺旋擠壓葉片(15),所述螺旋擠壓葉片(15)的周表面與濾液腔(11)轉動貼合,所述濾液腔(11)的內部開設有若干組規則分布的濾液孔(16)。
3.根據權利要求2所述的一種涂料生產用廢水預處理裝置,其特征在于:所述集流組件包括設置于濾殼(2)軸線位置且與傳動環和轉位旋筒(6)轉動連接的集液筒(17),所述集液筒(17)呈水平設置,所述集液筒(17)的正頂部固定開設有與濾液孔(16)配合的集流口(18),所述集液筒(17)的內部固定開設有與集流口(18)連通的導液流道,所述集液筒(17)的尾部分別固定安裝有與導液流道連通的儲藥箱(19)和導污管(20),所述儲藥箱(19)與集液筒(17)的連通處固定設置有定量下料閥,所述導污管(20)的內部固定安裝有流量計,所述導污管(20)的另一端與混藥罐(3)固定連通,所述濾殼(2)的表面固定安裝有與流量計和定量下料閥電連接的單片機(21),所述濾殼(2)的正頂部連通有進污管(22),所述濾殼(2)的正底部連通有導污嘴(23)。
4.根據權利要求1所述的一種涂料生產用廢水預處理裝置,其特征在于:所述導振機構分別包括固定于濾殼(2)表面的支架(24)、固定于雙頭電機(5)輸出軸端的主動錐齒、轉動連接于支架(24)內壁的聯軸(25)和固定于振架(8)側面的導振齒板(26),所述聯軸(25)的周表面分別固定安裝有與主動錐齒傳動連接的聯動錐齒a和與導振齒板(26)傳動連接的半齒輪(27),所述振架(8)與提渣筒(4)的相對表面之間安裝有復位彈簧(28),所述提渣機構和旋振筒(9)均通過聯動錐齒a驅動。
5.根據權利要求4所述的一種涂料生產用廢水預處理裝置,其特征在于:所述提渣機構分別包括固定于振架(8)內壁且與提渣筒(4)同軸設置的導振滑柱(29),所述導振滑柱(29)的周表面與提渣筒(4)滑動連接,所述導振滑柱(29)的內壁轉動連接有提渣軸(30),所述提渣軸(30)的表面通過聯動組件分別與旋振筒(9)和聯動錐齒a傳動連接,所述提渣軸(30)的周表面固定安裝有螺旋振提片(31),所述螺旋振提片(31)的周表面與提渣筒(4)轉動貼合,所述螺旋振提片(31)的內部等距分布有豎直設置的濾渣孔(32),所述提渣筒(4)的內部開設有一組呈圓周陣列分布且與混藥罐(3)連通的透液孔(33),所述提渣筒(4)的底部固定連通有排液閥(34),所述提渣筒(4)的上部固定連通有呈傾斜設置的排渣管(35)。
6.根據權利要求5所述的一種涂料生產用廢水預處理裝置,其特征在于:所述聯動組件分別包括豎直設置且轉動連接于支架(24)內壁的傳動軸(36)和差速軸a(37),所述差速軸a(37)的周表面通過鏈條a與傳動軸(36)傳動連接,所述差速軸a(37)的底端固定安裝有與聯動錐齒a嚙合的差速錐齒,所述傳動軸(36)的周表面與提渣軸(30)傳動連接且滑動配合,所述振架(8)的內壁轉動連接有與差速軸a(37)平行設置的差速軸b(38),所述差速軸b(38)的周表面通過鏈條b與提渣軸(30)傳動連接,所述差速軸b(38)的底端固定安裝有主動齒輪(39),所述旋振筒(9)的周表面固定安裝有與主動齒輪(39)傳動連接的從動齒圈(40)。
7.根據權利要求6所述的一種涂料生產用廢水預處理裝置,其特征在于:所述提渣軸(30)的內部固定開設有頂端開口且與傳動軸(36)滑動連接的傳動導槽,所述傳動軸(36)和傳動導槽的橫截面均為正多邊形,所述透液孔(33)的孔徑為濾渣孔(32)孔徑的2倍-5倍,所述透液孔(33)的孔徑與濾液孔(16)的孔徑相同。
8.根據權利要求1所述的一種涂料生產用廢水預處理裝置,其特征在于:所述攪液模組分別包括豎直設置且轉動連接于旋振筒(9)內部的正攪套(41)和轉動連接于正攪套(41)內壁的反旋軸(42),所述反旋軸(42)的頂部固定安裝有與定齒圈(10)傳動連接的從動齒盤(45),所述正攪套(41)和反旋軸(42)的周表面均固定安裝有一組呈圓周陣列分布的擾流桿(43),所述旋振筒(9)的內壁轉動連接有轉向軸(44),所述轉向軸(44)的端部固定安裝有轉向錐齒,所述正攪套(41)和反旋軸(42)的上部均固定安裝有與轉向錐齒傳動連接的聯動錐齒b。
9.根據權利要求8所述的一種涂料生產用廢水預處理裝置,其特征在于:兩個所述轉向錐齒以轉向軸(44)的軸線所在水平面為軸呈對稱設置,所述正攪套(41)和反旋軸(42)的旋向相反,所述擾流桿(43)為“L”狀結構。
10.根據權利要求9所述的一種涂料生產用廢水預處理裝置,其特征在于:所述定齒圈(10)的齒牙高度為從動齒盤(45)齒牙高度的10倍-15倍。
發明內容
本發明的目的在于提供一種涂料生產用廢水預處理裝置,以解決上述背景技術中提出的問題。
為實現上述目的,本發明提供如下技術方案:一種涂料生產用廢水預處理裝置,包括機架,所述機架的表面分別固定安裝有濾殼、混藥罐和提渣筒,所述提渣筒的側面與混藥罐固定連接,所述濾殼的表面安裝有雙頭電機,所述濾殼的內部轉動連接有轉位旋筒,所述轉位旋筒內部安裝有一組呈圓周陣列分布的濾液模塊,所述轉位旋筒的內壁轉動連接有傳動環,所述傳動環的周表面固定安裝有與濾液模塊傳動連接的半齒圈,所述半齒圈和轉位旋筒均通過雙頭電機驅動,所述傳動環的內壁轉動連接有與濾殼固定連接的集流組件,所述機架的上部安裝有通過雙頭電機驅動的導振機構,所述導振機構的表面分別傳動連接有振架和旋振筒,所述旋振筒的周表面分別與提渣筒和混藥罐滑動貼合,所述旋振筒的周表面與振架轉動連接,所述振架的表面固定安裝有與提渣筒配合的提渣機構,所述旋振筒的內部且對應混藥罐內部的位置安裝有一組規則分布的攪液模組,所述混藥罐的內壁固定安裝有與攪液模組傳動連接的定齒圈。
優選的,所述濾液模塊分別包括開設于轉位旋筒內部的濾液腔,所述濾液腔的頂端開口底部為內凹弧面狀結構,所述濾液腔的內表面之間轉動連接有往復軸,所述往復軸與濾液腔的轉動連接處固定設置有扭簧,所述往復軸的尾端固定安裝有與半齒圈傳動配合的往復齒輪,所述往復軸的周表面固定安裝有螺旋擠壓葉片,所述螺旋擠壓葉片的周表面與濾液腔轉動貼合,所述濾液腔的內部開設有若干組規則分布的濾液孔。
優選的,所述集流組件包括設置于濾殼軸線位置且與傳動環和轉位旋筒轉動連接的集液筒,所述集液筒呈水平設置,所述集液筒的正頂部固定開設有與濾液孔配合的集流口,所述集液筒的內部固定開設有與集流口連通的導液流道,所述集液筒的尾部分別固定安裝有與導液流道連通的儲藥箱和導污管,所述儲藥箱與集液筒的連通處固定設置有定量下料閥,所述導污管的內部固定安裝有流量計,所述導污管的另一端與混藥罐固定連通,所述濾殼的表面固定安裝有與流量計和定量下料閥電連接的單片機,所述濾殼的正頂部連通有進污管,所述濾殼的正底部連通有導污嘴。
優選的,所述導振機構分別包括固定于濾殼表面的支架、固定于雙頭電機輸出軸端的主動錐齒、轉動連接于支架內壁的聯軸和固定于振架側面的導振齒板,所述聯軸的周表面分別固定安裝有與主動錐齒傳動連接的聯動錐齒a和與導振齒板傳動連接的半齒輪,所述振架與提渣筒的相對表面之間安裝有復位彈簧,所述提渣機構和旋振筒均通過聯動錐齒a驅動。
優選的,所述提渣機構分別包括固定于振架內壁且與提渣筒同軸設置的導振滑柱,所述導振滑柱的周表面與提渣筒滑動連接,所述導振滑柱的內壁轉動連接有提渣軸,所述提渣軸的表面通過聯動組件分別與旋振筒和聯動錐齒a傳動連接,所述提渣軸的周表面固定安裝有螺旋振提片,所述螺旋振提片的周表面與提渣筒轉動貼合,所述螺旋振提片的內部等距分布有豎直設置的濾渣孔,所述提渣筒的內部開設有一組呈圓周陣列分布且與混藥罐連通的透液孔,所述提渣筒的底部固定連通有排液閥,所述提渣筒的上部固定連通有呈傾斜設置的排渣管。
優選的,所述聯動組件分別包括豎直設置且轉動連接于支架內壁的傳動軸和差速軸a,所述差速軸a的周表面通過鏈條a與傳動軸傳動連接,所述差速軸a的底端固定安裝有與聯動錐齒a嚙合的差速錐齒,所述傳動軸的周表面與提渣軸傳動連接且滑動配合,所述振架的內壁轉動連接有與差速軸a平行設置的差速軸b,所述差速軸b的周表面通過鏈條b與提渣軸傳動連接,所述差速軸b的底端固定安裝有主動齒輪,所述旋振筒的周表面固定安裝有與主動齒輪傳動連接的從動齒圈。
優選的,所述提渣軸的內部固定開設有頂端開口且與傳動軸滑動連接的傳動導槽,所述傳動軸和傳動導槽的橫截面均為正多邊形,所述透液孔的孔徑為濾渣孔孔徑的2倍-5倍,所述透液孔的孔徑與濾液孔的孔徑相同。
優選的,所述攪液模組分別包括豎直設置且轉動連接于旋振筒內部的正攪套和轉動連接于正攪套內壁的反旋軸,所述反旋軸的頂部固定安裝有與定齒圈傳動連接的從動齒盤,所述正攪套和反旋軸的周表面均固定安裝有一組呈圓周陣列分布的擾流桿,所述旋振筒的內壁轉動連接有轉向軸,所述轉向軸的端部固定安裝有轉向錐齒,所述正攪套和反旋軸的上部均固定安裝有與轉向錐齒傳動連接的聯動錐齒b。
優選的,兩個所述轉向錐齒以轉向軸的軸線所在水平面為軸呈對稱設置,所述正攪套和反旋軸的旋向相反,所述擾流桿為“L”狀結構。
優選的,所述定齒圈的齒牙高度為從動齒盤齒牙高度的10倍-15倍。
與現有技術相比,本發明的有益效果是:本發明通過半齒圈、往復齒輪、往復軸和扭簧的設置,從而使傳動環在輸出轉速后,往復軸能夠在設定圈數內往復正反轉,通過往復軸的周期性往復正反轉,以驅動螺旋擠壓葉片能夠在設定周期內正反轉,通過螺旋擠壓葉片的周期性正反轉,以實現對濾出固體污物的往復強制擠壓脫水及擠壓脫水后固體污物的往復回位松散,通過對固體污物往復擠壓脫水及往復分散效果的實現,以有效降低固體污物內的污水殘留率,通過污水殘留率的降低,以有效提高本裝置對污水的凈化度。
本發明通過混藥罐、螺旋振提片的設置,從而能夠將混藥析出的固體雜質持續濾出,通過上述析出雜質持續濾出效果的實現,從而有效提高本裝置的功能性,且通過螺旋振提片的設置,能夠有效降低析出雜質內部污水的殘留率。
3、本發明通過正攪套和反旋軸的同軸反向旋動設置,從而有效提高正攪套和反旋軸處擾流桿對混藥罐內部藥物與污水的混合速率和混液效果,通過上述污水與藥物混合速率與混液效果的提高,以有效提高污水的凈化效果及污水中雜質的析出及凝結效率,通過污水析出及凝結效率的提高,以使污水中析出的雜質能夠經由螺旋振提片快速排出,經由螺旋振提片排出的雜質最終經由排渣管排出,且通過旋振筒工作時的振動狀態設置,能夠往復改變攪液模組的作用范圍,繼而輔助提高污水與污水處理藥劑的混合效果。
(發明人:馬福文;陶蕾)






