公布日:2023.10.13
申請日:2023.07.24
分類號:C02F1/72(2023.01)I;B01D19/00(2006.01)I;B01D19/02(2006.01)I
摘要
本發明提供一種污水處理用PP材質芬頓流化床,芬頓流化床技術領域,包括安裝支撐部;所述安裝支撐部上滑動插接有四個插接定位件;所述安裝支撐部上螺紋連接有封閉安裝部;所述封閉安裝部上固定連接有抽氣輔助件;所述封閉安裝部上固定連接有浮動除泡裝置;所述封閉安裝部上固定連接有儲料裝置;可以實現輔助進行快速的拆卸安裝工作,使用更加便捷,更加便于工作人員進行檢修工作,整體結構簡單實用,采用pp填充顆粒,本就材質輕快的pp填充顆粒加之內部中空結構,可以更加便于實現均勻流化,解決了目前現有的污水處理用PP材質芬頓流化床未設置pp填充材料,催化流化效果不佳的同時催化劑混合反應效果不佳的問題。

權利要求書
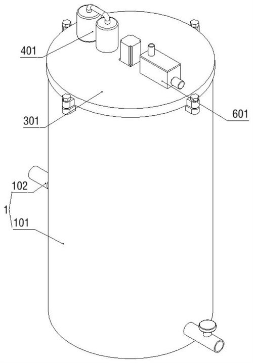
1.一種污水處理用PP材質芬頓流化床,其特征在于,包括安裝支撐部(1);所述安裝支撐部(1)上滑動插接有四個插接定位件(2);所述安裝支撐部(1)上螺紋連接有封閉安裝部(3);所述封閉安裝部(3)上固定連接有抽氣輔助件(4);所述封閉安裝部(3)上固定連接有浮動除泡裝置(5);所述封閉安裝部(3)上固定連接有儲料裝置(6);所述儲料裝置(6)上轉動連接有定量投放件(7);所述封閉安裝部(3)貼于四個插接定位件(2);所述安裝支撐部(1)包括:芬頓流化罐(101)、進氣輔助管道(102)、出水輔助管(103)、出水控制閥門(104)、支撐網板(105)和分隔豎板(106),所述芬頓流化罐(101)上固定連接有進氣輔助管道(102);所述芬頓流化罐(101)上固定連接有出水輔助管(103);所述出水輔助管(103)上固定連接有出水控制閥門(104);所述支撐網板(105)固定連接在芬頓流化罐(101)內部;所述分隔豎板(106)設有四個,四個分隔豎板(106)分別固定連接在芬頓流化罐(101)上;四個所述分隔豎板(106)底部貼于支撐網板(105);四個所述分隔豎板(106)之間呈九十度安裝。
2.根據權利要求1所述的一種污水處理用PP材質芬頓流化床,其特征在于:所述安裝支撐部(1)還包括:連接螺紋板(107),所述連接螺紋板(107)設有四個,四個連接螺紋板(107)分別固定連接在芬頓流化罐(101)上;四個連接螺紋板(107)上分別開設有螺紋孔;所述進氣輔助管道(102)與出水輔助管(103)分別位于芬頓流化罐(101)下方。
3.根據權利要求2所述的一種污水處理用PP材質芬頓流化床,其特征在于:所述插接定位件(2)包括:插接定位安裝殼(201)、pp填充顆粒(202)、附著凸起(203)和通液輔助孔(204),所述插接定位安裝殼(201)插接在分隔豎板(106)之間;所述插接定位安裝殼(201)位于支撐網板(105)上方;所述pp填充顆粒(202)堆積填充在插接定位安裝殼(201)內部;所述pp填充顆粒(202)內部固定連接有一圈附著凸起(203);所述pp填充顆粒(202)上開設有兩個通液輔助孔(204)。
4.根據權利要求3所述的一種污水處理用PP材質芬頓流化床,其特征在于:所述插接定位件(2)還包括:牽引控制橫桿(205)和支撐定位桿(206),所述牽引控制橫桿(205)固定連接在插接定位安裝殼(201)內部;所述牽引控制橫桿(205)上設有通孔;所述支撐定位桿(206)固定連接在插接定位安裝殼(201)上;所述插接定位安裝殼(201)為網殼透水結構。
5.根據權利要求4所述的一種污水處理用PP材質芬頓流化床,其特征在于:所述封閉安裝部(3)包括:支撐安裝蓋板(301)、插接連接塊(302)和定位連接螺栓(303),所述支撐安裝蓋板(301)扣裝在芬頓流化罐(101)上;所述支撐安裝蓋板(301)上固定連接有四個插接連接塊(302);四個所述插接連接塊(302)上分別插接有定位連接螺栓(303);四個所述定位連接螺栓(303)螺紋連接在四個連接螺紋板(107)上;所述支撐安裝蓋板(301)底部貼于支撐定位桿(206)。
6.根據權利要求5所述的一種污水處理用PP材質芬頓流化床,其特征在于:所述抽氣輔助件(4)包括:真空抽吸泵(401)、真空抽吸導管(4011)、儲氣罐(402)和排氣輔助管(403),所述真空抽吸泵(401)固定連接在支撐安裝蓋板(301)上;所述真空抽吸泵(401)底部固定連接有真空抽吸導管(4011);所述真空抽吸導管(4011)穿過支撐安裝蓋板(301);所述真空抽吸泵(401)的排氣管連接在儲氣罐(402)上;所述儲氣罐(402)固定連接在支撐安裝蓋板(301)上;所述排氣輔助管(403)固定連接在儲氣罐(402)上;所述排氣輔助管(403)上設有電磁閥。
7.根據權利要求5所述的一種污水處理用PP材質芬頓流化床,其特征在于:所述浮動除泡裝置(5)包括:浮動除泡驅動電機(501)、升降滑動柱(502)和滑動安裝套(503),所述浮動除泡驅動電機(501)固定連接在支撐安裝蓋板(301)上;所述浮動除泡驅動電機(501)的輸出軸上固定連接有升降滑動柱(502);所述滑動安裝套(503)滑動連接在升降滑動柱(502)上。
8.根據權利要求7所述的一種污水處理用PP材質芬頓流化床,其特征在于:所述浮動除泡裝置(5)還包括:漂浮安裝軸(5031)、清理安裝刷(504)和漂浮安裝泡沫筒(505),所述漂浮安裝軸(5031)設有兩個,兩個漂浮安裝軸(5031)分別固定連接在滑動安裝套(503)上;兩個所述漂浮安裝軸(5031)上分別套裝有漂浮安裝泡沫筒(505);所述滑動安裝套(503)上固定連接有兩個清理安裝刷(504)。
9.根據權利要求5所述的一種污水處理用PP材質芬頓流化床,其特征在于:所述儲料裝置(6)包括:儲料安裝箱(601)、貼合防漏板(6011)和進水管(602),所述儲料安裝箱(601)固定連接在支撐安裝蓋板(301)上;所述儲料安裝箱(601)內部固定連接有兩個貼合防漏板(6011);所述進水管(602)固定連接在儲料安裝箱(601)上;兩個所述貼合防漏板(6011)內側均為弧形結構。
10.根據權利要求9所述的一種污水處理用PP材質芬頓流化床,其特征在于:所述定量投放件(7)包括:驅動投放電機(701)、定量投放輥(702)和下料槽(703),所述驅動投放電機(701)固定連接在儲料安裝箱(601)側面;所述驅動投放電機(701)的輸出軸上固定連接有定量投放輥(702);所述定量投放輥(702)貼于兩個貼合防漏板(6011);所述下料槽(703)開設在定量投放輥(702)上。
發明內容
有鑒于此,本發明提供一種污水處理用PP材質芬頓流化床,其具有的插接定位件,可以實現輔助進行高效的快速檢修工作,可以便于拆卸清潔工作,同時配合pp流化顆粒,提高催化反應質量。
本發明提供了一種污水處理用PP材質芬頓流化床,具體包括安裝支撐部;所述安裝支撐部上滑動插接有四個插接定位件;所述安裝支撐部上螺紋連接有封閉安裝部;所述封閉安裝部上固定連接有抽氣輔助件;所述封閉安裝部上固定連接有浮動除泡裝置;所述封閉安裝部上固定連接有儲料裝置;所述儲料裝置上轉動連接有定量投放件;所述封閉安裝部貼于四個插接定位件;所述安裝支撐部包括:芬頓流化罐、進氣輔助管道、出水輔助管、出水控制閥門、支撐網板和分隔豎板,所述芬頓流化罐上固定連接有進氣輔助管道;所述芬頓流化罐上固定連接有出水輔助管;所述出水輔助管上固定連接有出水控制閥門;所述支撐網板固定連接在芬頓流化罐內部;所述分隔豎板設有四個,四個分隔豎板分別固定連接在芬頓流化罐上;四個所述分隔豎板底部貼于支撐網板;四個所述分隔豎板之間呈九十度安裝。
進一步的,所述安裝支撐部還包括:連接螺紋板,所述連接螺紋板設有四個,四個連接螺紋板分別固定連接在芬頓流化罐上;四個連接螺紋板上分別開設有螺紋孔;所述進氣輔助管道與出水輔助管分別位于芬頓流化罐下方。
進一步的,所述插接定位件還包括:牽引控制橫桿和支撐定位桿,所述牽引控制橫桿固定連接在插接定位安裝殼內部;所述牽引控制橫桿上設有通孔;所述支撐定位桿固定連接在插接定位安裝殼上;所述插接定位安裝殼為網殼透水結構。
進一步的,所述封閉安裝部包括:支撐安裝蓋板、插接連接塊和定位連接螺栓,所述支撐安裝蓋板扣裝在芬頓流化罐上;所述支撐安裝蓋板上固定連接有四個插接連接塊;四個所述插接連接塊上分別插接有定位連接螺栓;四個所述定位連接螺栓螺紋連接在四個連接螺紋板上;所述支撐安裝蓋板底部貼于支撐定位桿。
進一步的,所述抽氣輔助件包括:真空抽吸泵、真空抽吸導管、儲氣罐和排氣輔助管,所述真空抽吸泵固定連接在支撐安裝蓋板上;所述真空抽吸泵底部固定連接有真空抽吸導管;所述真空抽吸導管穿過支撐安裝蓋板;所述真空抽吸泵的排氣管連接在儲氣罐上;所述儲氣罐固定連接在支撐安裝蓋板上;所述排氣輔助管固定連接在儲氣罐上;所述排氣輔助管上設有電磁閥。
進一步的,所述插接定位件包括:插接定位安裝殼、pp填充顆粒、附著凸起和通液輔助孔,所述插接定位安裝殼插接在分隔豎板之間;所述插接定位安裝殼位于支撐網板上方;所述pp填充顆粒堆積填充在插接定位安裝殼內部;所述pp填充顆粒內部固定連接有一圈附著凸起;所述pp填充顆粒上開設有兩個通液輔助孔。
進一步的,所述浮動除泡裝置包括:浮動除泡驅動電機、升降滑動柱和滑動安裝套,所述浮動除泡驅動電機固定連接在支撐安裝蓋板上;所述浮動除泡驅動電機的輸出軸上固定連接有升降滑動柱;所述滑動安裝套滑動連接在升降滑動柱上。
進一步的,所述定量投放件包括:驅動投放電機、定量投放輥和下料槽,所述驅動投放電機固定連接在儲料安裝箱側面;所述驅動投放電機的輸出軸上固定連接有定量投放輥;所述定量投放輥貼于兩個貼合防漏板;所述下料槽開設在定量投放輥上。
進一步的,所述儲料裝置包括:儲料安裝箱、貼合防漏板和進水管,所述儲料安裝箱固定連接在支撐安裝蓋板上;所述儲料安裝箱內部固定連接有兩個貼合防漏板;所述進水管固定連接在儲料安裝箱上;兩個所述貼合防漏板內側均為弧形結構。
進一步的,所述浮動除泡裝置還包括:漂浮安裝軸、清理安裝刷和漂浮安裝泡沫筒,所述漂浮安裝軸設有兩個,兩個漂浮安裝軸分別固定連接在滑動安裝套上;兩個所述漂浮安裝軸上分別套裝有漂浮安裝泡沫筒;所述滑動安裝套上固定連接有兩個清理安裝刷。
與現有技術相比,本發明具有如下有益效果:
通過采用設置的插接定位件可以實現輔助進行高效的支撐輔助,可以實現輔助進行快速的拆卸安裝工作,使用更加便捷,更加便于工作人員進行檢修工作,整體結構簡單實用,采用pp填充顆粒,本就材質輕快的pp填充顆粒加之內部中空結構,可以更加便于實現均勻流化,同時內部采用附著凸起,更加便于輔助附著催化劑,提升過氧催化反應質量,結構簡單實用,整體結構簡單,采用四分模塊化安裝,提高設備實用性,通過進氣輔助管道輔助進氣,通過出水輔助管輔助進水以及出水,控制出水控制閥門進行關閉工作即可,通過牽引控制橫桿可以使用掛鉤等輔助吊具,輔助進行拉出拆卸工作,便于進行清潔等工作,結構簡單實用。
此外,通過采用設置的抽氣輔助件,可以實現輔助進行高效的輔助負壓除泡清理工作,可以保證整體設備自潔質量,同時對于內部污水的底層等位置均可通過負壓的形式輔助劑高效的除泡,本結構采用的負壓除泡結構,可以實現氣體循環,有效的避免負壓排氣導致內部過氧環境被破壞,也避免別漏氧氣,整體結構簡單實用,有效的保證設備清潔質量,采用浮動除泡裝置可以實現隨著液位升降,針對表面泡沫進行消除工作,整體工作方式簡單高效,通過真空抽吸泵抽吸,將氣體導入儲氣罐暫存,輔助進行真空負壓抽吸除泡,通過漂浮安裝泡沫筒漂浮支撐即可,清理安裝刷轉動,實現針對表面氣泡輔助戳破消除,轉動拆卸定位連接螺栓即可快速拆卸支撐安裝蓋板。
此外,通過采用定量投放件,可以實現輔助定量投放工作,有效的保證催化劑催化反應質量,可以有效的避免催化出現問題,整體結構更加簡單,自動化程度高,通過貼合防漏板保證定量投放輥貼合質量,也就是密封效果。
(發明人:張凱;韓冬冬;高磊;王沙沙)






