公布日:2023.11.07
申請日:2023.08.24
分類號:B01D36/04(2006.01)I;B01D29/03(2006.01)I;B01D29/64(2006.01)I;B01D21/26(2006.01)I;B01D21/06(2006.01)I;B08B9/087(2006.01)I;B01D35/02(2006.01)I
摘要
本發明公開了一種污水源熱泵高效取水系統及其取水方法,涉及污水再利用領域。一種污水源熱泵高效取水系統,包括:旋流分離筒;所述旋流分離筒的兩側上端分別接通有進水管和排水管;抽水泵,通過支板固定連接在所述旋流分離筒靠近進水管的一側;所述抽水泵的出水端與進水管相接通;過濾盒,通過輸水管與所述抽水泵的抽水端相接通;過濾板,固定連接在所述過濾盒的開口處;本發明可以對污水中的雜物進行充分的濾除,保證了進入到污水源熱泵系統內的污水不含或少含雜物,避免了污水源熱泵中污水泵、管道及換熱設備等被雜物堵塞,減少清洗頻率,使其污水源熱泵能夠連續穩定地運行,保證了污水源熱系統泵的工作效率。

權利要求書
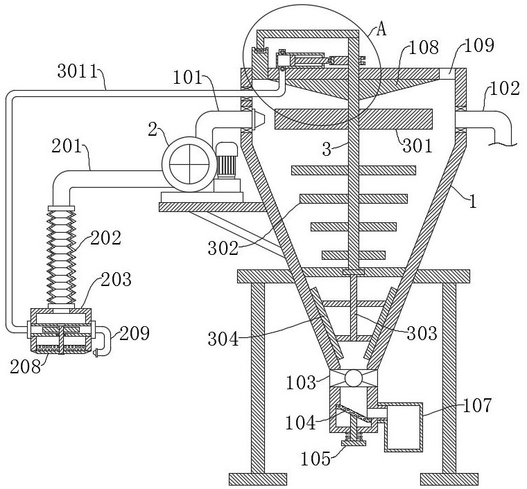
1.一種污水源熱泵高效取水系統,其特征在于,包括:旋流分離筒(1);所述旋流分離筒(1)的兩側上端分別接通有進水管(101)和排水管(102);抽水泵(2),通過支板固定連接在所述旋流分離筒(1)靠近進水管(101)的一側;所述抽水泵(2)的出水端與進水管(101)相接通;過濾盒(203),通過輸水管(201)與所述抽水泵(2)的抽水端相接通;過濾板(205),固定連接在所述過濾盒(203)的開口處;用于對所述過濾板(205)上濾除的雜質進行刮除的除雜組件,安裝在所述過濾盒(203)上。
2.根據權利要求1所述的一種污水源熱泵高效取水系統,其特征在于:所述旋流分離筒(1)內的中間位置豎向轉動連接有轉桿(3),所述轉桿(3)上靠近進水管(101)與排水管(102)的位置呈圓周等間距固定連接有多個傳動板(301),所述轉桿(3)靠近傳動板(301)的下側呈圓周等間距固定連接有多列轉動桿(302)。
3.根據權利要求2所述的一種污水源熱泵高效取水系統,其特征在于:所述除雜組件包括傳動氣管(204)、傳動桿(206)、葉板(207)以及刮刀(208),所述傳動氣管(204)橫向固定連接在過濾盒(203)內,所述傳動桿(206)轉動連接在過濾板(205)上,所述傳動桿(206)上端延伸至傳動氣管(204)內,所述葉板(207)呈圓周等間距固定連接在傳動桿(206)的上端,所述刮刀(208)呈圓周等間距滑動連接在過濾板(205)遠離傳動氣管(204)的一側,所述傳動桿(206)下端貫穿于過濾板(205),且與所述刮刀(208)固定連接。
4.根據權利要求3所述的一種污水源熱泵高效取水系統,其特征在于:所述轉桿(3)向上貫穿于旋流分離筒(1),且固定連接有偏心輪(307),所述旋流分離筒(1)的上端固定連接有氣筒(308),所述氣筒(308)內滑動連接有帶有活塞的活塞桿(309),所述活塞桿(309)靠近偏心輪(307)的一端固定連接有T型塊(3010),所述偏心輪(307)上開設有一圈T型滑槽,所述T型塊(3010)滑動連接在T型滑槽內,所述氣筒(308)的進出氣口處分別接通有進氣管和出氣管(3011),所述氣筒(308)的進出氣口處分別安裝有單向閥,所述出氣管(3011)的出氣口與傳動氣管(204)的進氣口相接通。
5.根據權利要求4所述的一種污水源熱泵高效取水系統,其特征在于:所述傳動氣管(204)的出氣口處固定連接有噴氣管(209),所述噴氣管(209)的噴氣端面向過濾板(205)。
6.根據權利要求1所述的一種污水源熱泵高效取水系統,其特征在于:所述輸水管(201)的進水口與過濾盒(203)的出水口之間通過伸縮式水管(202)相接通。
7.根據權利要求2所述的一種污水源熱泵高效取水系統,其特征在于:所述旋流分離筒(1)的內部頂端固定連接有圓錐導流臺(108),所述旋流分離筒(1)的頂部開設有與內部相貫通的半圓形通口(109),所述半圓形通口(109)位于旋流分離筒(1)側壁與圓錐導流臺(108)之間,所述旋流分離筒(1)靠近半圓形通口(109)的一端設置有斜坡(1010),所述轉桿(3)的上端頂部固定連接有連桿(305),所述連桿(305)遠離轉桿(3)的一端通過扭簧轉動連接有刮板(306),所述刮板(306)的寬度與半圓形通口(109)的寬度相同,所述刮板(306)的下端與半圓形通口(109)的下端面相平齊。
8.根據權利要求1所述的一種污水源熱泵高效取水系統,其特征在于:所述旋流分離筒(1)下端靠近排渣口的位置固定連接有電磁通閥(103),所述旋流分離筒(1)內部靠近排渣口的下方傾斜滑動連接有導流濾板(104),所述旋流分離筒(1)底部位于導流濾板(104)的下端滑動連接有拉桿(105),所述拉桿(105)與導流濾板(104)固定連接,所述拉桿(105)上套接有拉力彈簧(106),所述拉力彈簧(106)的兩端分別與旋流分離筒(1)和拉桿(105)固定連接,所述旋流分離筒(1)的排渣口處通過螺紋轉動連接有收集筒(107)。
9.根據權利要求2所述的一種污水源熱泵高效取水系統,其特征在于:所述轉桿(3)底部固定連接有轉動架(303),所述轉動架(303)的兩側固定連接有刮壁桿(304),所述刮壁桿(304)滑動連接在旋流分離筒(1)的內壁上。
10.一種污水源熱泵高效取水方法,采用根據權利要求4所述的一種污水源熱泵高效取水系統,其特征在于,包括以下步驟:S1:首先啟動抽水泵(2),使抽水泵(2)通過輸水管(201)將污水池中的污水抽出,此時污水中的大顆粒雜物便會被過濾板(205)從污水中濾除;S2:接著抽水泵(2)便可通過進水管(101)將通過初步過濾的污水噴射進旋流分離筒(1)內,然后污水中的中等雜物以及較小的雜物便會在旋流分離筒(1)的作用下從污水中脫離,并離心沉降到旋流分離筒(1)的底部,而經過分離過濾的污水便會通過排水管(102)輸送至熱泵內,進行加工處理;S3:當污水通過進水管(101)進入到旋流分離筒(1)內時,傳動板(301)便會在污水的撞擊下帶動轉桿(3)進行轉動,轉桿(3)便會同時帶動轉動桿(302)和偏心輪(307)轉動,當轉動桿(302)轉動時,便會對旋流分離筒(1)內的污水進行旋轉攪動,使污水旋轉速率更快;S4:當偏心輪(307)轉動時,便會通過T型塊(3010)帶動活塞桿(309)在氣筒(308)內進行左右往復移動,從而便可通過出氣管(3011)向傳動氣管(204)內提供氣體,然后葉板(207)在氣體的推動下,便可通過傳動桿(206)帶動刮刀(208)在過濾板(205)上進行旋轉刮動,然后過濾板(205)上依附的雜質便會被刮除,對過濾板(205)的濾孔進行疏通。
發明內容
本發明要解決的技術問題在于克服現有技術的不足,提供一種可以克服上述問題或者至少部分地解決上述問題的污水源熱泵高效取水系統。
為解決上述技術問題,本發明采用技術方案的基本構思是:一種污水源熱泵高效取水系統,包括:旋流分離筒;所述旋流分離筒的兩側上端分別接通有進水管和排水管;抽水泵,通過支板固定連接在所述旋流分離筒靠近進水管的一側;所述抽水泵的出水端與進水管相接通;過濾盒,通過輸水管與所述抽水泵的抽水端相接通;過濾板,固定連接在所述過濾盒的開口處;用于對所述過濾板上濾除的雜質進行刮除的除雜組件,安裝在所述過濾盒上。
為了便于對旋流分離筒內的污水進行旋轉攪動,使污水旋轉速率更快,進一步地,所述旋流分離筒內的中間位置豎向轉動連接有轉桿,所述轉桿上靠近進水管與排水管的位置呈圓周等間距固定連接有多個傳動板,所述轉桿靠近傳動板的下側呈圓周等間距固定連接有多列轉動桿。
為了便于將過濾板上依附的雜質刮除,避免雜質將過濾板的濾孔堵住,更進一步地,所述除雜組件包括傳動氣管、傳動桿、葉板以及刮刀,所述傳動氣管橫向固定連接在過濾盒內,所述傳動桿轉動連接在過濾板上,所述傳動桿上端延伸至傳動氣管內,所述葉板呈圓周等間距固定連接在傳動桿的上端,所述刮刀呈圓周等間距滑動連接在過濾板遠離傳動氣管的一側,所述傳動桿下端貫穿于過濾板,且與所述刮刀固定連接。
為了便于使轉桿帶動轉動桿轉動的同時,便可向傳動氣管內供氣,降低能源消耗成本,再進一步地,所述轉桿向上貫穿于旋流分離筒,且固定連接有偏心輪,所述旋流分離筒的上端固定連接有氣筒,所述氣筒內滑動連接有帶有活塞的活塞桿,所述活塞桿靠近偏心輪的一端固定連接有T型塊,所述偏心輪上開設有一圈T型滑槽,所述T型塊滑動連接在T型滑槽內,所述氣筒的進出氣口處分別接通有進氣管和出氣管,所述氣筒的進出氣口處分別安裝有單向閥,所述出氣管的出氣口與傳動氣管的進氣口相接通。
為了便于將刮刀刮除的雜質吹走,避免雜質再次依附在過濾板上,還進一步地,所述傳動氣管的出氣口處固定連接有噴氣管,所述噴氣管的噴氣端面向過濾板。
為了便于提高過濾盒的靈活性,便于過濾盒靈活放置在污水池內對污水進行抽吸,進一步地,所述輸水管的進水口與過濾盒的出水口之間通過伸縮式水管相接通。
為了便于對污水水面上漂浮的浮游性物質進行清理刮除,更進一步地,所述旋流分離筒的內部頂端固定連接有圓錐導流臺,所述旋流分離筒的頂部開設有與內部相貫通的半圓形通口,所述半圓形通口位于旋流分離筒側壁與圓錐導流臺之間,所述旋流分離筒靠近半圓形通口的一端設置有斜坡,所述轉桿的上端頂部固定連接有連桿,所述連桿遠離轉桿的一端通過扭簧轉動連接有刮板,所述刮板的寬度與半圓形通口的寬度相同,所述刮板的下端與半圓形通口的下端面相平齊。
為了便于在不關閉抽水泵的狀態下便可完成對雜質的清理工作,保證了取水持續的進行,進一步地,所述旋流分離筒下端靠近排渣口的位置固定連接有電磁通閥,所述旋流分離筒內部靠近排渣口的下方傾斜滑動連接有導流濾板,所述旋流分離筒底部位于導流濾板的下端滑動連接有拉桿,所述拉桿與導流濾板固定連接,所述拉桿上套接有拉力彈簧,所述拉力彈簧的兩端分別與旋流分離筒和拉桿固定連接,所述旋流分離筒的排渣口處通過螺紋轉動連接有收集筒。
為了便于將旋流分離筒底部筒壁上依附的雜質進行刮除,避免底部筒壁上的雜質越積越多,導致后期雜質不便于排出,更進一步地,所述轉桿底部固定連接有轉動架,所述轉動架的兩側固定連接有刮壁桿,所述刮壁桿滑動連接在旋流分離筒的內壁上。
一種污水源熱泵高效取水方法,包括以下步驟:S1:首先啟動抽水泵,使抽水泵通過輸水管將污水池中的污水抽出,此時污水中的大顆粒雜物便會被過濾板從污水中濾除;S2:接著抽水泵便可通過進水管將通過初步過濾的污水噴射進旋流分離筒內,然后污水中的中等雜物以及較小的雜物便會在旋流分離筒的作用下從污水中脫離,并離心沉降到旋流分離筒的底部,而經過分離過濾的污水便會通過排水管輸送至熱泵內,進行加工處理;S3:當污水通過進水管進入到旋流分離筒內時,傳動板便會在污水的撞擊下帶動轉桿進行轉動,轉桿便會同時帶動轉動桿和偏心輪轉動,當轉動桿轉動時,便會對旋流分離筒內的污水進行旋轉攪動,使污水旋轉速率更快;S4:當偏心輪轉動時,便會通過T型塊帶動活塞桿在氣筒內進行左右往復移動,從而便可通過出氣管向傳動氣管內提供氣體,然后葉板在氣體的推動下,便可通過傳動桿帶動刮刀在過濾板上進行旋轉刮動,然后過濾板上依附的雜質便會被刮除,對過濾板的濾孔進行疏通。
采用上述技術方案后,本發明與現有技術相比具有以下有益效果:本發明通過旋流分離筒、過濾盒、過濾板的設置,可以對污水中的雜物進行充分的濾除,保證了進入到污水源熱泵系統內的污水不含或少含雜物,避免了污水源熱泵中污水泵、管道及換熱設備等被雜物堵塞,減少清洗頻率,使其污水源熱泵能夠連續穩定地運行,保證了污水源熱系統泵的工作效率;通過傳動板、轉桿以及轉動桿的設置,可以對旋流分離筒內的污水進行旋轉攪動,從而使污水旋轉速率更快,更進一步地提高對污水中雜質的分離效果,通過除雜組件的設置,可以對過濾板過濾面上依附的雜質進行清理,避免雜質將過濾板的濾孔堵住,影響水流的通過,進一步保證了污水源熱泵穩定地運行。
(發明人:劉忠誠;成剛;饒大騫)






