公布日:2023.11.24
申請日:2023.10.11
分類號:C02F3/02(2023.01)I;C02F7/00(2006.01)I;C02F1/00(2023.01)N
摘要
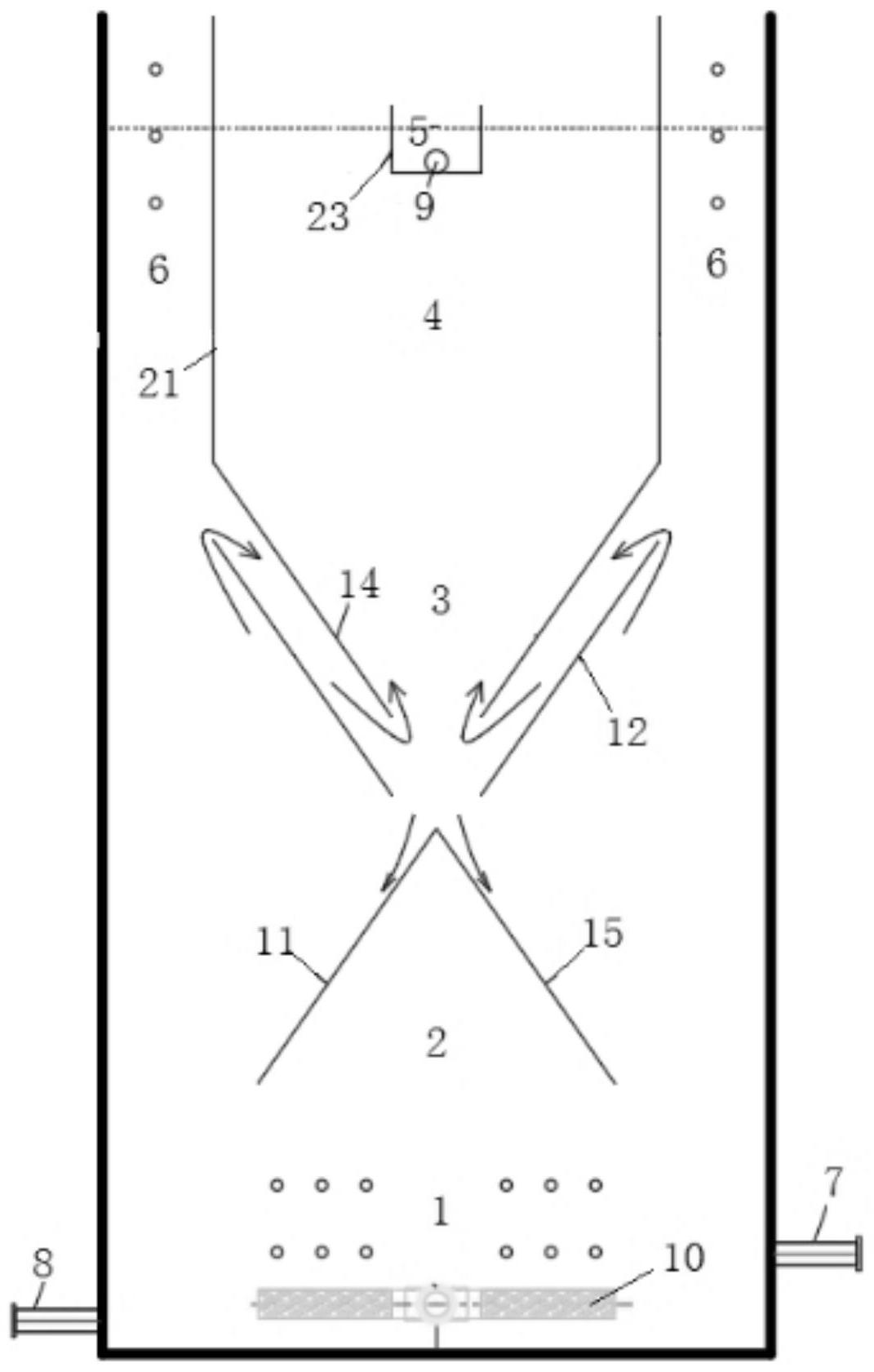
本發明涉及一種處理農村生活污水的三相分離反應沉淀裝置,由下至上包括曝氣區、氣封反應區、分離區和沉淀區,沉淀區的外側周圍為排氣區;所述反應沉淀裝置的底部設有進水管,沉淀區的頂部設有出水區,出水區內設有出水管;曝氣區的底部設有曝氣管,氣封反應區與分離區之間設有傾斜的氣封罩,氣封罩之下的內部為氣封反應區,污水在氣封反應區內進行生化反應;分離區的兩側分別設有第一擋板,第一擋板由所述反應沉淀裝置的中部向兩側傾斜;第一擋板的內側的上方設有導流板,導流板由所述反應沉淀裝置的中部向兩側傾斜;沉淀區的外圍四周設有排氣區,排氣區的頂部敞開。

權利要求書
1 .一種處理農村生活污水的三相分離反應沉淀裝置,其特征在于,由下至上包括曝氣區、氣封反應區、分離區和沉淀區,沉淀區的外側周圍為排氣區;所述反應沉淀裝置的底部設有進水管,沉淀區的頂部設有出水區,出水區內設有出水管;曝氣區的底部設有曝氣管,氣封反應區與分離區之間設有傾斜的氣封罩,氣封罩之下的內部為氣封反應區,污水在氣封反應區內進行生化反應;分離區的兩側分別設有第一擋板,第一擋板由所述反應沉淀裝置的中部向兩側傾斜;第一擋板的內側的上方設有導流板,導流板由所述反應沉淀裝置的中部向兩側傾斜;使得由氣封反應區上升的水體從第一擋板頂部進入第一擋板與導流板之間的區域,并向下流動,再繞過導流板的底部再向上流動,進入沉淀區,進行泥水分離沉淀;沉淀區的外圍四周設有排氣區,排氣區的頂部敞開。
2.根據權利要求1所述的處理農村生活污水的三相分離反應沉淀裝置,其特征在于,所述進水管連接布水管,布水管均勻分布在曝氣管的上方,用于均勻布水;進水管的對側設有排泥管,用于排出底部污泥。
3.根據權利要求2所述的處理農村生活污水的三相分離反應沉淀裝置,其特征在于,所述氣封罩包括兩塊傾斜的氣封板,兩塊氣封板的頂端均處于所述反應沉淀裝置的中部且彼此對接,氣封板向所述反應沉淀裝置的兩側傾斜,使得氣封罩形成人字形。
4.根據權利要求3所述的處理農村生活污水的三相分離反應沉淀裝置,其特征在于,每個氣封板的下方設有一塊氣隔板,氣隔板平行于氣封板;兩塊氣隔板的高度相同,且頂端互不接觸,形成八字形,兩塊氣隔板的頂部形成通水口。
5.根據權利要求4所述的處理農村生活污水的三相分離反應沉淀裝置,其特征在于,每個氣隔板的底部連接第一豎直隔板,第一豎直隔板的底部固定在所述反應沉淀裝置的底面上,兩塊第一豎直隔板之間的區域形成曝氣區,曝氣管和布水管設有曝氣區內,避免底部進水影響底部排泥。
6.根據權利要求5所述的處理農村生活污水的三相分離反應沉淀裝置,其特征在于,所述氣封板的底端設有若干個卷邊部,若干個卷邊部沿氣封板的長度方向均勻間隔設置;卷邊部為氣封板的底邊向下延伸,并向氣封板內側方向卷繞1‑3圈。
7 .根據權利要求5所述的處理農村生活污水的三相分離反應沉淀裝置,其特征在于,所述沉淀區與排氣區之間設有間隔板,間隔板豎直設置,將沉淀區和排氣區分隔開來,間隔板的底部連接所述導流板的頂部;導流板與第一擋板相互平行。
8.根據權利要求7所述的處理農村生活污水的三相分離反應沉淀裝置,其特征在于,每個導流板的上方設有一塊第二擋板,第二擋板平行于導流板,且頂端懸空設置,第二擋板的底端連接第二豎直隔板,第二豎直隔板的底端向下延伸至氣封罩,并與氣封罩的上表面之間留有排泥開口,使得從第二擋板滑落的污泥經過兩塊第二豎直隔板之間的通道,到達氣封板上,再由氣封板上表面滑下。
9.根據權利要求1所述的處理農村生活污水的三相分離反應沉淀裝置,其特征在于,所述出水區包括出水槽和出水管,出水槽沿著所述反應沉淀裝置的長度方向設置,出水管設在出水槽的尾部,出水槽側壁的上部均勻設有若干進水口,使得沉淀區分離上升的水體從進水口進入出水槽,再由出水槽流至出水管。
10.根據權利要求8所述的處理農村生活污水的三相分離反應沉淀裝置,其特征在于,所述反應沉淀裝置為長方形,所述間隔板、導流板、第一擋板、第二擋板、氣封板、氣隔板、第一豎直隔板、第二豎直隔板的兩側側邊,均分別連接在所述反應沉淀裝置的兩個寬側面上。
發明內容
針對上述問題,本發明提供一種處理農村生活污水的三相分離反應沉淀裝置,由下至上包括曝氣區、氣封反應區、分離區和沉淀區,沉淀區的外側周圍為排氣區;所述反應沉淀裝置的底部設有進水管,沉淀區的頂部設有出水區,出水區內設有出水管;
曝氣區的底部設有曝氣管,氣封反應區與分離區之間設有傾斜的氣封罩,氣封罩之下的內部為氣封反應區,污水在氣封反應區內進行生化反應;
分離區的兩側分別設有第一擋板,第一擋板由所述反應沉淀裝置的中部向兩側傾斜;第一擋板的內側的上方設有導流板,導流板由所述反應沉淀裝置的中部向兩側傾斜;使得由氣封反應區上升的水體從第一擋板頂部進入第一擋板與導流板之間的區域,并向下流動,再繞過導流板的底部再向上流動,進入沉淀區,進行泥水分離沉淀;
沉淀區的外圍四周設有排氣區,排氣區的頂部敞開。
本發明的導流板和氣封罩均發揮促進固體沉淀分離的作用,由沉淀區沉淀下來的固體污泥沿導流板下滑,通過分離區之后,再沿氣封罩的傾斜側壁下滑至所述反應沉淀裝置的底部,再排出污泥。污水在氣封罩下的內部進行生化反應,氣體集中在氣封反應區頂部,但被阻攔,與污水分離后,氣體沿氣封罩向下排出,在快速上升至排氣區,從而排出所述反應沉淀裝置。本發明通過采用氣封罩和導流板實現三相分離功能,同時集生化池與二沉池于一體,減少了污泥回流動力及管線,降低了能耗,減少了占地面積,具有節能、簡便、穩定的優勢。
可選的,所述進水管連接布水管,布水管均勻分布在曝氣管的上方,用于均勻布水;進水管的對側設有排泥管,用于排出底部污泥。
可選的,所述氣封罩包括兩塊傾斜的氣封板,兩塊氣封板的頂端均處于所述反應沉淀裝置的中部且彼此對接,氣封板向所述反應沉淀裝置的兩側傾斜,即氣封罩形成人字形。
進一步可選的,每個氣封板的下方設有一塊氣隔板,氣隔板平行于氣封板;兩塊氣隔板的高度相同,且頂端互不接觸,形成八字形,兩塊氣隔板的頂部形成通水口。
進一步可選的,每個氣隔板的底部連接第一豎直隔板,第一豎直隔板的底部固定在所述反應沉淀裝置的底面上,兩塊第一豎直隔板之間的區域形成曝氣區,曝氣管和布水管設有曝氣區內,避免底部進水影響底部排泥。
可選的,所述氣封板的底端設有若干個卷邊部,若干個卷邊部沿氣封板的長度方向均勻間隔設置;
卷邊部為氣封板的底邊向下延伸,并向氣封板內側方向卷繞1-3圈。
可選的,所述沉淀區與排氣區之間設有間隔板,間隔板豎直設置,將沉淀區和排氣區分隔開來,間隔板的底部連接所述導流板的頂部;導流板與第一擋板相互平行。
可選的,每個導流板的上方設有一塊第二擋板,第二擋板平行于導流板,且頂端懸空設置,第二擋板的底端連接第二豎直隔板,第二豎直隔板的底端向下延伸至氣封罩,并與氣封罩的上表面之間留有排泥開口,使得從第二擋板滑落的污泥經過兩塊第二豎直隔板之間的通道,到達氣封板上,再由氣封板上表面滑下。
可選的,所述出水區包括出水槽和出水管,出水槽沿著所述反應沉淀裝置的長度方向設置,出水管設在出水槽的尾部,出水槽側壁的上部均勻設有若干進水口,使得沉淀區分離上升的水體從進水口進入出水槽,再由出水槽流至出水管。
可選的,所述反應沉淀裝置為長方形,所述間隔板、導流板、第一擋板、第二擋板、氣封板、氣隔板、第一豎直隔板、第二豎直隔板的兩側側邊,均分別連接在所述反應沉淀裝置的兩個寬側面上。
(發明人:張傳兵;朱光雨;張勇;黃豆豆;趙亮;陳然;蔡升;王宇;徐建飛;康健;劉云峰;胡進林)






