申請日2013.09.23
公開(公告)日2015.09.09
IPC分類號C02F9/04
摘要
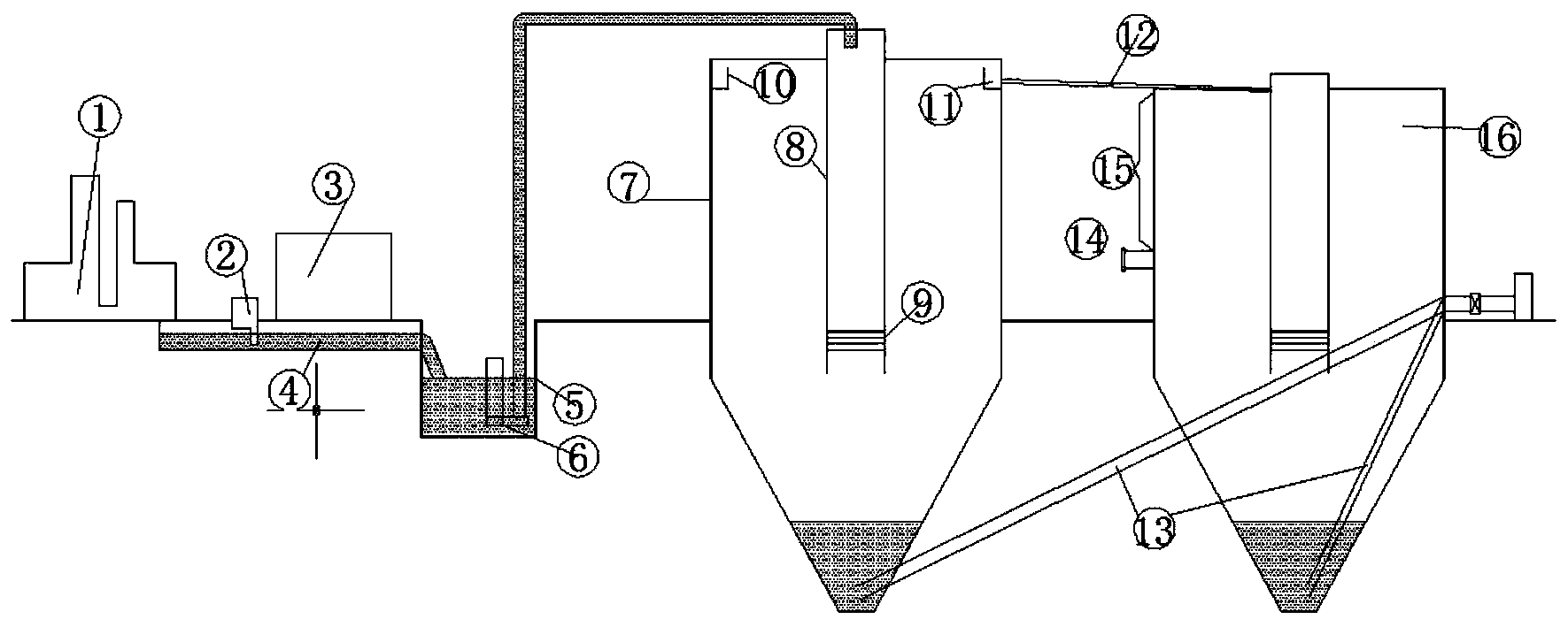
本發明提供了一種石材加工廢水處理裝置,包括水質調節單元以及污水沉淀處理單元。所述水質調節單元包括對污水酸堿度進行檢測的微電腦水質監測裝置以及對經檢測的污水進行沉淀處理以及酸堿度調節的微電腦水質酸堿調節裝置。所述污水沉淀處理單元包括用于收集污水的污水集水池,用于攪拌并提升污水至主沉淀容器的自拌式污水提升泵,對污水進行一次沉淀的主沉淀容器以及進行二次沉淀的蓄水沉淀容器。石材加工產生的廢水經在主沉淀容器與蓄水沉淀容器中的兩次沉淀后導出的清水可直接接入石材加工機器,即完成對廢水的回收使用。
權利要求書
1.一種石材加工廢水處理裝置,包括水質調節單元、污水沉淀處理 單元,其特征在于,所述水質調節單元包括對污水酸堿度進行檢測的微電 腦水質監測裝置以及對經檢測的污水進行沉淀處理以及酸堿度調節的微 電腦水質酸堿調節裝置;所述污水沉淀處理單元包括用于收集經沉淀處理 與酸堿度調節處理的污水的污水集水池、用于攪拌并提升污水至主沉淀容 器的自拌式污水提升泵、對污水進行一次沉淀的主沉淀容器、將經過一次 沉淀的污水導入蓄水沉淀容器的清水導流管以及進行二次沉淀的蓄水沉 淀容器,所述主沉淀容器上部設置有導流管,導流管下部裝有緩沖片,主 沉淀容器口部設有齒形阻流片與環形清水溝,所述蓄水沉淀容器上部設置 有導流管,所述導流管下部裝有緩沖片,所述蓄水沉淀容器中部設有清水 出口,所述主沉淀容器與蓄水沉淀容器均為上部圓柱形下部錐形且下部均 安裝在地下。
2.根據權利要求1所述的石材加工廢水處理裝置,其特征在于,所 述微電腦水質監測裝置包括流量計與在線pH檢測儀。
3.根據權利要求1所述的石材加工廢水處理裝置,其特征在于,所述 微電腦水質酸堿調節裝置包括PLC自動控制系統與執行系統,所述執行系 統包括水質調節液容器與沉淀液容器以及由PLC自動控制系統控制的第一 電動閥門、第二電動閥門以及第三電動閥門。
說明書
一種石材加工廢水處理裝置
技術領域
本發明涉及一種廢水處理裝置,尤其涉及一種石材加工廢水處理裝置。
背景技術
隨著石材加工行業的發展壯大,石材加工所產生的廢水也隨之增多,對人們生活環境帶來了很大的影響,甚至會造成嚴重的污染和破壞以及資源的嚴重浪費。
目前石材行業所使用的廢水處理方法,多是采用挖多個池子逐個進行過濾、沉淀,或是用多個鐵罐逐個沉淀的方式。其缺點是,占地面積大、沉淀效果不佳、無法滿足現有的石材生產能力。所產出的污水,不可避免的會滲入地下。沉淀出來的清水中含有的大量酸性或堿性物質,對機器和石材表面會造成嚴重的破壞,導致生產出來的石材達不到理想的光澤效果。為達到理想效果,石材加工企業在拋光設備上只能用民用自來水,造成水資源的極大浪費。且此方法還存在很大的安全隱患(人員不小心可能掉進池內)。
另外一種處理方法是用鐵塔式處理罐來處理污水,此設備的不足之處在于:因處理罐置于地面以上很高處,不容易制造出大容量的處理系統。如需制造出大容量的處理系統,需投入非常高的人力和財力。還存在著很大的安全隱患。在使用過程中,因地質情況的不同,大容量的處理罐可能會發生垮塌等情況,會給人們的生產生活帶來嚴重隱患,此種方法所產出的清水同樣也會對機器和石材表面產生嚴重的破壞。
發明內容
針對上述現有技術中存在的問題,本發明的目的在于提供一種石材加工廢水處理裝置,其可以將石材加工中產生的廢水經處理后滿足石材加工的需要,達到節省原料、保護環境、保證順利生產、提升產品質量的效果。
為了實現上述目的,本發明采用的技術方案如下:
一種石材加工廢水處理裝置,包括水質調節單元以及污水沉淀處理單元,所述水質調節單元包括對污水酸堿度進行檢測的微電腦水質監測裝置以及對經檢測的污水進行沉淀處理以及酸堿度調節的微電腦水質酸堿調節裝置;所述污水沉淀處理單元包括用于收集經沉淀處理與酸堿度調節處理的污水的污水集水池、用于攪拌并提升污水至主沉淀容器的自拌式污水提升泵、對污水進行一次沉淀的主沉淀容器、將經過一次沉淀的污水導入蓄水沉淀容器的清水導流管以及進行二次沉淀的蓄水沉淀容器。
進一步地,所述微電腦水質監測裝置包括流量計與在線pH檢測儀。
進一步地,所述微電腦水質酸堿調節裝置包括PLC自動控制系統與執行系統,所述執行系統包括水質調節液容器與沉淀液容器以及由PLC自動控制系統控制的第一電動閥門、第二電動閥門以及第三電動閥門。
進一步地,所述主沉淀容器上部設置有導流管,導流管下部裝有緩沖片,主沉淀容器口部設有齒形阻流片與環形清水溝。
進一步地,所述蓄水沉淀容器上部設置有導流管,所述導流管下部裝有緩沖片,所述蓄水沉淀容器中部設有清水出口。
進一步地,所述主沉淀容器與蓄水沉淀容器均為上部圓柱形下部錐形且下部均安裝在地下。
本發明的優點及有益效果:
(1)水質調節單元可以對污水的酸堿度進行自動調節,達到所需要的酸堿度標準,經調節過濾后的清水經回收可直接用于石材生產,不會對機器以及石材產生危害。
(2)部分置于地下的沉淀容器不受地質條件限制,同時無需構建大 型堅固的基座,成本投入較低的前提下就可以制造出較大型的污水處理設備。
(3)整個石材加工廢水處理裝置自動化程度較高,從水質監測到廢水處理完成的整個過程只需要2-3名操作人員,節省了人力成本。







