申請日2013.11.28
公開(公告)日2014.06.04
IPC分類號C02F1/78; C02F1/44
摘要
本實用新型公開了一種火花發電等離子體協同多級膜技術的廢水回用系統。1)采用閘流管開關電源和針板式火花放電等離子體發生器為基礎,采用火花放電產生等離子體對超濾膜、反滲透膜進行改性;2)在推流式反應器中通過活性炭吸附和微濾膜對廢水進行預處理;3)通過控制有機負荷的投加量控制待處理廢水的電導率,保證在火花放電模式下進行廢水處理;4)采用火花放電等離子體技術在曝包含臭氧的氧氣條件下脈沖放電產生等離子體與活性炭、紫外輻射協同處理廢水;5)利用超濾/反滲透雙膜技術協同等離子技術處理廢水。本實用新型對各類印染廢水的濁度去除率在99%以上,電導去除率在99%以上,COD去除率在97%以上,BOD去除率在96%以上且將膜污染程度降到最低。
權利要求書
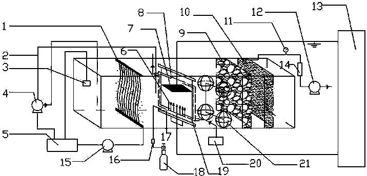
1.一種火花發電等離子體協同多級膜技術的廢水回用系統,其特征在于,它包括針板式火花放電等離子體發生器、等離子體改性多級生物膜協同等離子體技術推流式反應器、電導率控制系統;
所述的針板式火花放電等離子體發生器包括高壓放電針電極(6),板電極(7),水夾套(8),閘流管開關高壓脈沖電源(13)、氣流計(16),氣室(17),氣體罐(18),微管(19),冷卻水(20);
高壓放電針電極(6)處的通氣孔由微管(19)做成,與氣室(17)相連,氣體罐(18)充有包含臭氧的氧氣,氣體順次流過氣閥、氣流計(16)、微管(19),在高壓放電針電極(6)的針尖形成氣泡,板電極(7)接地,由水夾套(8)通入冷卻水(20);
所述的等離子體改性多級生物膜協同等離子體技術推流式反應器包括中空纖維微濾膜組件(1)、液位控制器(3)、進水泵(4)、PCL控制器(5)、超濾膜(9)、反滲透膜(10)、PVC載體(21),廢水通過進水泵(4)由進水管進入反應器,通過液位控制器(3)控制水位,并反饋到PCL控制器(5);廢水首先經聚偏氟乙烯中空纖維簾式微濾膜1)預處理,由曝氣池連續曝氣,利用針板式火花放電等離子體發生器曝入包含臭氧的氧氣產生等離子體,同時在火花放電中,從等離子體通道輻射出來的紫外光和裝置內PVC載體(21)中的活性炭,與不斷曝入的臭氧形成臭氧/紫外輻射組合、臭氧與活性炭協同作用的高級氧化技術強化對廢水的處理;在出水泵(12)負壓抽吸作用下,廢水依次透過超濾膜(9)、反滲透膜(10);
所述的電導率控制系統包括采樣管(2)、所述的PCL控制器(5)、所述的出水泵(12)、電導儀,由采樣管(2)定時吸取水樣,由電導儀測定,反饋給PCL控制器(5),另外同時對出水泵(12)的出水電導進行監測。
2.根據權利要求1所述的系統,其特征在于,所述的曝氣池為三廊道推流式曝氣池。
3.根據權利要求1所述的系統,其特征在于, 所述的超濾膜(9)采用PSF/SPSF;所述的反滲透膜(10)采用CPA2-4040復合聚酰胺。
4.根據權利要求1所述的系統,其特征在于,所述的針板式火花放電等離子體發生器,高壓放電針電極(6)包括16根中空不銹鋼針,?0.8mm,外圈呈橢圓狀,均勻分布12根針電極,間隔為20mm,內圈為4根,放電針電極由板中心向兩邊遞減,左右上下均呈對稱分布,針電極處的通氣孔用不銹鋼微管?1.0mm×4.0mm制成。
說明書
火花發電等離子體協同多級膜技術的廢水回用系統
技術領域
本實用新型涉及火花發電等離子體協同多級膜技術的廢水回用系統,屬于廢水處理領域。
背景技術
隨著染料工業的迅猛發展,其生產廢水已成為當前最主要的水體污染源之一,其水質呈現高色度、高濃度、高COD和BOD值。印染廢水約占企業廢水總排放量的30%,一旦印染廢水排入企業的廢水處理系統,將使廢水處理效果降低,處理難度和處理成本增大。
反滲透技術具有設備投資省、能量消耗低、建設周期短等諸多優點,利用RO技術對廢水進行回用處理作為非直接飲用水源意義深遠,而膜污染始終是制約該技術廣泛應用的瓶頸,目前缺乏有效降低膜污染的措施。
應用臭氧處理廢水也是常用的一種選擇,但是目前至少還有兩個關鍵問題需要解決:一是臭氧能耗較高,產率較低,使運行的成本增大;二是臭氧在水中的溶解度較低,未得到有效利用而溢出。
最后,單一的等離子體技術、生物膜技術或高級氧化技術處理范圍有限,綜合各種技術不僅需要克服上述各種技術問題,還需要跨領域的經驗和知識。因此,目前尚缺少一種協調的組合系統可使各項廢水排放指標同時有效降低。
實用新型內容
為了克服現有技術的不足,本實用新型的目的是提供火花發電等離子體協同多級膜技術的廢水回用系統。
一種火花發電等離子體協同多級膜技術的廢水回用系統,包括針板式火花放電等離子體發生器、等離子體改性多級生物膜協同等離子體技術推流式反應器、電導率控制系統;
所述的針板式火花放電等離子體發生器包括高壓放電針電極,板電極,水夾套,閘流管開關高壓脈沖電源、氣流計,氣室,氣體罐,微管,冷卻水;
高壓放電針電極處的通氣孔由微管做成,與氣室相連,氣體罐充有包含臭氧的氧氣,氣體順次流過氣閥、氣流計、微管,在高壓放電針電極的針尖形成氣泡,板電極接地,由水夾套通入冷卻水;
所述的等離子體改性多級生物膜協同等離子體技術推流式反應器包括中空纖維微濾膜組件、液位控制器、進水泵、PCL控制器、超濾膜、反滲透膜、PVC載體,廢水通過進水泵由進水管進入反應器,通過液位控制器控制水位,并反饋到PCL控制器;廢水首先經聚偏氟乙烯中空纖維簾式微濾膜預處理,由曝氣池連續曝氣,利用針板式火花放電等離子體發生器曝入包含臭氧的氧氣產生等離子體,同時在火花放電中,從等離子體通道輻射出來的紫外光和裝置內PVC載體中的活性炭,與不斷曝入的臭氧形成臭氧/紫外輻射組合、臭氧與活性炭協同作用的高級氧化技術強化對廢水的處理;在出水泵負壓抽吸作用下,廢水依次透過超濾膜、反滲透膜;
所述的電導率控制系統包括采樣管、所述的PCL控制器、所述的出水泵、電導儀,由采樣管定時吸取水樣,由電導儀測定,反饋給PCL控制器,另外同時對出水泵的出水電導進行監測。
優選地,所述的曝氣池為三廊道推流式曝氣池。
優選地,所述的超濾膜采用PSF/SPSF;所述的反滲透膜采用CPA2-4040復合聚酰胺。
優選地,所述的針板式火花放電等離子體發生器,高壓放電針電極包括16根中空不銹鋼針,外圈呈橢圓狀,均勻分布12根針電極,間隔為20mm,內圈為4根,放電針電極由板中心向兩邊遞減,左右上下均呈對稱分布,針電極 處的通氣孔用不銹鋼微管×4.0mm制成。
本實用新型具有的有益效益,依靠火花放電產生等離子體協同微濾/超濾/反滲透多級膜技術降解污染物質,同時使用膜分離技術、等離子體技術以及高級氧化技術處理廢水,對各類印染廢水的濁度去除率在99%以上,電導去除率在99%以上,COD去除率在97%以上,BOD去除率在96%以上,并且都達到印染廢水回用指標。且將膜污染程度降到最低,幾乎不產生二次污染,創造了較好的經濟效益和良好的環境效益。







