申請日2014.11.07
公開(公告)日2015.03.25
IPC分類號F25B30/06
摘要
本實用新型公開了一種油田聯合站污水余熱利用系統,包括二類吸收熱泵,熱污水輸送管道,還包括電驅動水源熱泵、污水加熱器、油液換熱器、采暖換熱器,通過二類吸收熱泵與電驅動水源熱泵對油田聯合站的熱污水實現余熱利用,用于冬季或夏季對原油加熱及采暖供熱。本實用新型利用油田聯合站熱污水為熱源,直接換熱,減少聯合站油氣消耗,做到低碳、綠色、環保、低耗能。
權利要求書
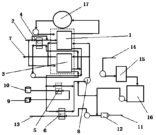
1. 油田聯合站污水余熱利用系統,包括二類吸收熱泵,熱污水輸送管道,其特征是還包括電驅動水源熱泵、污水加熱器、油液換熱器、采暖換熱器,所述熱污水輸送管道與二類吸收熱泵的熱源入口相連接,二類吸收熱泵的熱源出口與污水外輸管線連接,二類吸收熱泵的高溫水出口與油液換熱器及采暖換熱器的熱源入口連接,油液換熱器及采暖換熱器的熱源出口通過高溫清水泵與二類吸收熱泵及電驅動水源熱泵的高溫水入口相連接;電驅動水源熱泵的熱源入口與污水輸送管道相連接,電驅動水源熱泵的熱源出口與污水外輸管線相連接,電驅動水源熱泵的高溫水出口與二類吸收熱泵的高溫水出口及污水加熱器的熱源入口連接;污水加熱器的熱源出口與電驅動水源熱泵的高溫水入口相連接,污水加熱器的熱污水入口與污水輸送管道相連接,污水加熱器的熱污水出口與二類吸收熱泵的熱源入口連接;油液換熱器的高溫側入口與原油三相分離器相連接,油液換熱器的高溫側出口連接有原油沉降罐;采暖換熱器高溫水入口與采暖回水管道相連接,采暖換熱器的高溫水出口與采暖供水管道相連接。
2.根據權利要求1所述的油田聯合站污水余熱利用系統,其特征是所述油液換熱器采用板式換熱器、螺旋板式換熱器或管殼式換熱器。
3.根據權利要求2所述的油田聯合站污水余熱利用系統,其特征是所述電驅動水源熱泵能用燃氣式一類熱泵代替。
4.根據權利要求3所述的油田聯合站污水余熱利用系統,其特征是所述供暖回水管道上連接有除污器。
5.根據權利要求3或4所述的油田聯合站污水余熱利用系統,其特征是所述二類吸收熱泵或電驅動水源熱泵用清水經過鈉離子交換器軟化。
說明書
油田聯合站污水余熱利用系統
技術領域
本實用新型涉及一種余熱利用裝置,尤其是一種油田聯合站采油污水的余熱綜合利用系統。
背景技術
對于專利號為ZL201420038601.7的油田聯合站污水余熱利用裝置,其油田聯合站油液直接進入二類熱泵,由于油液換熱系數低,熱泵換熱面增加幾倍,機組造價會大幅度提高,二類熱泵運行對污水溫度有要求,當污水溫度低于一定值時,二類熱泵就無法從污水中提取熱量,從而不能很好地實現節能降耗減排的目的。
實用新型內容
本實用新型的目的在于克服上述不足,而提供一種低碳、環保、節能的油田聯合站污水余熱利用系統。
本實用新型采取以下技術措施:油田聯合站污水余熱利用系統,包括二類吸收熱泵,熱污水輸送管道,其特征是還包括電驅動水源熱泵、污水加熱器、油液換熱器、采暖換熱器,所述熱污水輸送管道與二類吸收熱泵的熱源入口相連接,二類吸收熱泵的熱源出口與污水外輸管線連接,二類吸收熱泵的高溫水出口與油液換熱器及采暖換熱器的熱源入口連接,油液換熱器及采暖換熱器的熱源出口通過高溫清水泵與二類吸收熱泵及電驅動水源熱泵的高溫水入口相連接;電驅動水源熱泵的熱源入口與污水輸送管道相連接,電驅動水源熱泵的熱源出口與污水外輸管線相連接,電驅動水源熱泵的高溫水出口與二類吸收熱泵的高溫水出口及污水加熱器的熱源入口連接;污水加熱器的熱源出口與電驅動水源熱泵的高溫水入口相連接,污水加熱器的熱污水入口與污水輸送管道相連接,污水加熱器的熱污水出口與二類吸收熱泵的熱源入口連接;油液換熱器的高溫側入口與原油三相分離器相連接,油液換熱器的高溫側出口連接有原油沉降罐;采暖換熱器高溫水入口與采暖回水管道相連接,采暖換熱器的高溫水出口與采暖供水管道相連接。
所述油液換熱器采用板式換熱器、螺旋板式換熱器或管殼式換熱器。
所述電驅動水源熱泵能用燃氣式一類熱泵代替。
所述供暖回水管道上連接有除污器。
所述二類吸收熱泵或電驅動水源熱泵用清水經過鈉離子交換器軟化。
本實用新型的有益效果是,利用油田聯合站熱污水為熱源,直接換熱,減少聯合站油氣消耗,做到低碳、綠色、環保、低耗能。







