申請日2014.11.07
公開(公告)日2015.06.03
IPC分類號C02F103/22; C02F9/14
摘要
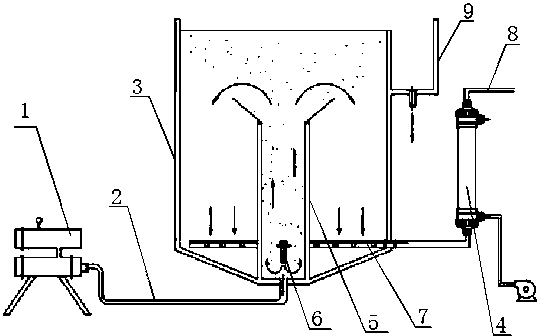
一種魷魚加工廢水的處理裝置,其特征是:包括微納米氣泡發生裝置;所述微納米氣泡發生裝置通過管道分別連接有共聚氣浮池和生物濾池;所述共聚氣浮池內設有排氣內腔,排氣內腔的底部設有管道開口,管道開口的上方設有微氣泡釋放器;所述共聚氣浮池的底部設有排水管,排水管穿過排氣內腔,排水管一端穿過共聚氣浮池的一側,與氣水混合膜的底部連接;所述氣水混合膜的頂部和底端側面分別設有引出管道接口;共聚氣浮池的一側上方設有集渣槽;排氣內腔的高度不超過共聚氣浮池高度的三分之二。本實用新型采用新型納米氣浮和氣水混合膜組合處理裝置,具有運行費用低、維修方便、投資小,自動化程度高等特點,適于市場推廣。
權利要求書
1.一種魷魚加工廢水的處理裝置,其特征是:包括微納米氣泡發生裝置(1);所述微納米氣泡發生裝置(1)通過管道(2)連接有共聚氣浮池(3);所述共聚氣浮池(3)內設有排氣內腔(5),排氣內腔(5)的底部設有管道開口,管道開口的上方設有微氣泡釋放器(6);所述共聚氣浮池(3)的底部設有排水管(7),排水管(7)穿過排氣內腔(5),排水管(7)一端穿過共聚氣浮池(3)的一側,與氣水混合膜(4)的底部連接;所述氣水混合膜(4)的頂部和底端側面分別設有引出管道接口(8)。
2.根據權利要求1所述的一種魷魚加工廢水的處理裝置,其特征是:所述共聚氣浮池(3)的一側上方設有集渣槽(9)。
3.根據權利要求1所述的一種魷魚加工廢水的處理裝置,其特征是:所述排氣內腔(5)的高度不超過共聚氣浮池(3)高度的三分之二。
說明書
一種魷魚加工廢水的處理裝置
技術領域
本實用新型涉及污水處理領域,具體涉及一種魷魚加工廢水的處理裝置。
背景技術
魷魚加工廢水的CODCr、BOD5、SS、動植物油、NH3-N的質量濃度分別為4 215、1 974、1 150、287、145 mg/L時, 采用隔油-氣浮-UASB-缺氧-接觸氧化的組合工藝處理魷魚加工廢水處理后出水CODCr、BOD5、SS、動植物油、NH3-N的質量濃度分別為150、56、228、55、39 mg/L。目前市場上對魷魚廢水的處理裝置及設備相對繁瑣、運行費用高、維修難度大。
發明內容
本實用新型針對以上問題,提供了一種運行費用低、維修方便、投資小,自動化程度高的魷魚加工廢水的處理裝置。
本實用新型是通過以下技術方案實現的:一種魷魚加工廢水的處理裝置,其特征是:包括微納米氣泡發生裝置;所述微納米氣泡發生裝置通過管道分別連接有共聚氣浮池和生物濾池;所述共聚氣浮池內設有排氣內腔,排氣內腔的底部設有管道開口,管道開口的上方設有微氣泡釋放器;所述共聚氣浮池的底部設有排水管,排水管穿過排氣內腔,排水管一端穿過共聚氣浮池的一側,與氣水混合膜的底部連接;所述氣水混合膜的頂部和底端側面分別設有引出管道接口。
進一步的,共聚氣浮池的一側上方設有集渣槽。
作為優化,排氣內腔的高度不超過共聚氣浮池高度的三分之二。
該實用新型的有益之處是,本實用新型采用新型納米氣浮和氣水混合膜組合處理裝置,具有運行費用低、維修方便、投資小,自動化程度高等特點,適于市場推廣。







