申請日2014.10.29
公開(公告)日2017.08.18
IPC分類號C02F9/08
摘要
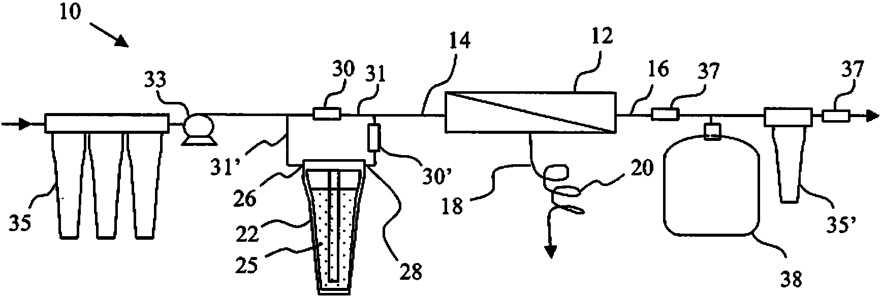
一種水處理裝置(10)及其操作方法,其包含螺旋卷繞超濾膜模塊(12),所述模塊連接到:i)進料管線(14),其適于連接到加壓供水源,ii)滲透管線(16),其適于連接到處理過的水的分配器及iii)濃縮管線(18),其適于連接到排水管;其中所述裝置包括含有弱酸性陽離子交換樹脂(25)的可加壓儲槽(22),并且進一步包括至少一個閥,其將加壓供水水流沿所述進料管線(14)選擇性地分流通過所述儲槽(22)并且在通過所述超濾膜模塊(12)前返回到所述進料管線(14)。
權利要求書
1.一種水處理裝置,其包含螺旋卷繞超濾膜模塊,所述模塊連接到:
i)進料管線,其適于連接到加壓供水源,
ii)滲透管線,其適于連接到處理過的水的分配器及
iii)濃縮管線,其適于連接到排水管;
其中所述裝置的特征在于,包含含有弱酸性陽離子交換樹脂的可加壓儲槽,并且進一步包含至少一個閥,其將加壓供水水流沿所述進料管線選擇性地分流通過所述儲槽并且在通過所述超濾膜模塊前返回到所述進料管線。
2.根據權利要求1所述的水處理裝置,其特征進一步在于,包含繞過所述可加壓儲槽的第一通路、通過所述可加壓儲槽的第二通路及在所述第一通路內通常處于開啟狀態但也可關閉從而將所述水流分流通過所述可加壓儲槽的機械偏置閥。
3.根據權利要求2所述的水處理裝置,其中流經所述第一通路的阻力比流經所述第二通路的阻力低10%。
4.根據權利要求1所述的裝置,其中含有弱酸性陽離子交換樹脂的所述可加壓儲槽對于終端用戶以不可逆方式密封。
5.一種權利要求1所述的裝置的操作方法,所述方法包括標準模式、沖洗模式及休眠模式,其中在所述標準操作模式中,大部分的加壓供水繞過所述儲槽,在所述沖洗模式中,大部分的加壓供水通過所述儲槽,并且在所述休眠模式中,沒有加壓供水通過所述模塊。
6.根據權利要求5所述的方法,其中在所述沖洗模式耗費的平均時間為所述標準模式耗費的時間的1%與20%之間。
7.根據權利要求5所述的方法,其中所述沖洗模式稍先于所述休眠模式,使得供水從所述儲槽流向所述模塊,并且在所述休眠模式中保留在所述模塊內。
8.根據權利要求5所述的方法,其中所述沖洗模式的持續時間小于1分鐘。
9.根據權利要求7所述的方法,其中在所述沖洗模式中,小于1升的供水通過超濾模塊。
10.根據權利要求5所述的方法,其中所述超濾膜模塊具有每平方米膜小于0.2升的進料墊片自由容積。
說明書
包括超濾模塊和陽離子交換樹脂的水處理裝置
技術領域
本發明針對了一種包括超濾膜模塊和含有弱酸性陽離子交換樹脂的可加壓儲槽兩者的水處理裝置。
背景技術
“超濾”是一種在半透膜的一側對進料溶液施加壓力的膜基分離方法。所施加的壓力導致“溶劑”(例如水)通過膜(即形成“滲透”液)而“溶質”(例如鹽)則不能通過膜因此被濃縮在剩余的料液中(即形成“濃縮”液)。為克服溶劑從低濃度向高濃度移動的自然驅動力,所施加的進料壓力必須超過滲透壓。出于該原因,術語“超濾”通常與“反滲”互換使用。大多數利用超濾的水處理裝置是在錯流模式下操作,其大部分的進料通過膜表面,少部分則以“滲透”方式通過膜。見下例:US 4711723、US 4713175、US 4842724、US 5296148、US7267769和CN 2839254。
進料溶液通過膜的百分比被稱為“回收”或“回收率”。取決于進料的成分,較高回收率下的操作可導致結垢,因為進料中的鹽被濃縮至超出其溶解限度。大規模脫鹽系統中的個體模塊通常被設計為以10-20%的回收率連續運行。已知在此類高回收系統中避免結垢的方法有:給予阻垢劑、給予酸從而降低pH、進料倒流、在一個濃縮液循環回路內合并沉淀與過濾,以及將供水或循環的濃縮液任何之一軟化。見下例:US6461514、US5501798、US5925255、US8137539和US7459088。減少二價陽離子的軟化法包括納濾、石灰軟化、采用強酸性樹脂、電去離子以及弱酸性陽離子交換。在使用時,采用回收鹽對離子交換樹脂進行再生(US8679347)。
住宅系統內采用的小的反滲模塊的回收率通常被設計為20-35%。明顯較高的回收率(例如超過35%)經常受限于結垢,正如大多數未軟化的住宅用水含有大量鈣離子和碳酸氫根離子一樣。通過高回收率操作增加該濃度尤其會導致CaCO3結垢。與工業用的水處理裝置中采用的減垢技術不同,在設計小型住宅用膜系統時,由于尺寸、成本和復雜性受到約束,因此設計選擇更為受限。消費者難以獲得并使用活性化學品(例如酸和抗結垢劑)。偶爾也會使用包括采用新鮮進料或滲透水沖洗膜模塊的進料側(US4650586、WO2007018561、US20110163016以及US8323484)和快速再循環(US6074551)在內的替代技術。然而,這些選擇需要其他部件并且會降低系統的有效回收率。在反滲透之前對供水進行離子交換處理,但是這種方法受空間和容量之間權衡和離子交換樹脂的再生難度所限。
發明內容
本發明包括一種水處理裝置,其包括螺旋卷繞超濾膜模塊,所述模塊連接到:i)進料管線,其適于連接到加壓供水源,ii)滲透管線,其適于連接到處理過的水的分配器及iii)濃縮管線,其適于連接到排水管。所述裝置的特征在于,包括含有弱酸性陽離子交換樹脂的可加壓儲槽,并且進一步包括至少一個閥,其將加壓供水水流沿所述進料管線選擇性地分流通過儲槽并且在通過所述超濾膜模塊前返回到所述進料管線。本發明還包括一種所述裝置的操作方法。描述了多個實施例。







