申請日2015.07.23
公開(公告)日2015.10.28
IPC分類號E03F5/042
摘要
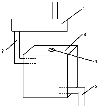
一種污水與空氣阻斷裝置,其特征是由冷凝器(1)、排水管(2)、污水與空氣阻斷箱(3)、出氣孔(4)、出水管(5)組成;污水與空氣阻斷箱(3)由不銹鋼板制成,是一個40×40×40cm的正方形鐵盒,上方開有出氣孔(4);污水與空氣阻斷箱(3)上端與排水管(2)、冷凝器(1)相連,下端與出水管(5)相連;排水管(2)比出水管(5)高。制藥車間潔凈區設備工作后的剩余水、汽,先進入冷凝器(1)中,水和汽經冷凝后通過排水管(2)進入污水與空氣阻斷箱(3),然后由出水管(5)排入下水道。
權利要求書
1. 一種污水與空氣阻斷裝置,其特征是由冷凝器(1)、排水管(2)、污水與空氣阻斷箱(3)、出氣孔(4)、出水管(5)組成;污水與空氣阻斷箱(3)由不銹鋼板制成,是一個40×40×40cm的正方形鐵盒,上方開有出氣孔(4);污水與空氣阻斷箱(3)上端與排水管(2)、冷凝器(1)相連,下端與出水管(5)相連;排水管(2)比出水管(5)高。
說明書
一種污水與空氣阻斷裝置
技術領域
本發明涉及一種污水與空氣阻斷裝置。
背景技術
制藥車間的潔凈區設備,工作后的水、汽,需要通過管道排放到下水道。由于排放剩余水、汽的管道與下水道直接相連,當下水道堵塞或水位上漲時,下水道內的污水和非潔凈空氣會順著排放剩余水、汽的管道,進入到制藥車間的潔凈區設備內,污染潔凈區設備,進而污染環境與藥品。此弊端一直沒有好的解決辦法。
發明內容
針對以上存在的不足,本發明的目的是公開一種污水與空氣阻斷裝置,其特征是由冷凝器、排水管、污水與空氣阻斷箱、出氣孔、出水管組成;污水與空氣阻斷箱由不銹鋼板制成,是一個40×40×40cm的正方形鐵盒,上方開有出氣孔;污水與空氣阻斷箱一側與排水管、冷凝器相連,另一側與出水管相連;排水管比出水管高。制藥車間潔凈區設備工作后的剩余水、汽,先進入冷凝器中,水和汽經冷凝后通過排水管進入污水與空氣阻斷箱,然后由出水管排入下水道。
當下水道堵塞或水位上漲時,下水道內的污水和非潔凈空氣會先進入污水與空氣阻斷箱。由于排水管比出水管高,且非直接連接,污水無法進入到排放剩余水、汽的管道;污水與空氣阻斷箱上開有出氣孔,非潔凈空氣會從出氣孔排出,也無法進入到排放剩余水、汽的管道,更不會對制藥車間潔凈區設備和環境造成污染。
本發明一種污水與空氣阻斷裝置的有益效果是:裝置制作安裝容易,成本低廉,使用方便,污水與非潔凈空氣阻斷效果好。







