申請日2015.07.23
公開(公告)日2015.11.04
IPC分類號C02F9/14
摘要
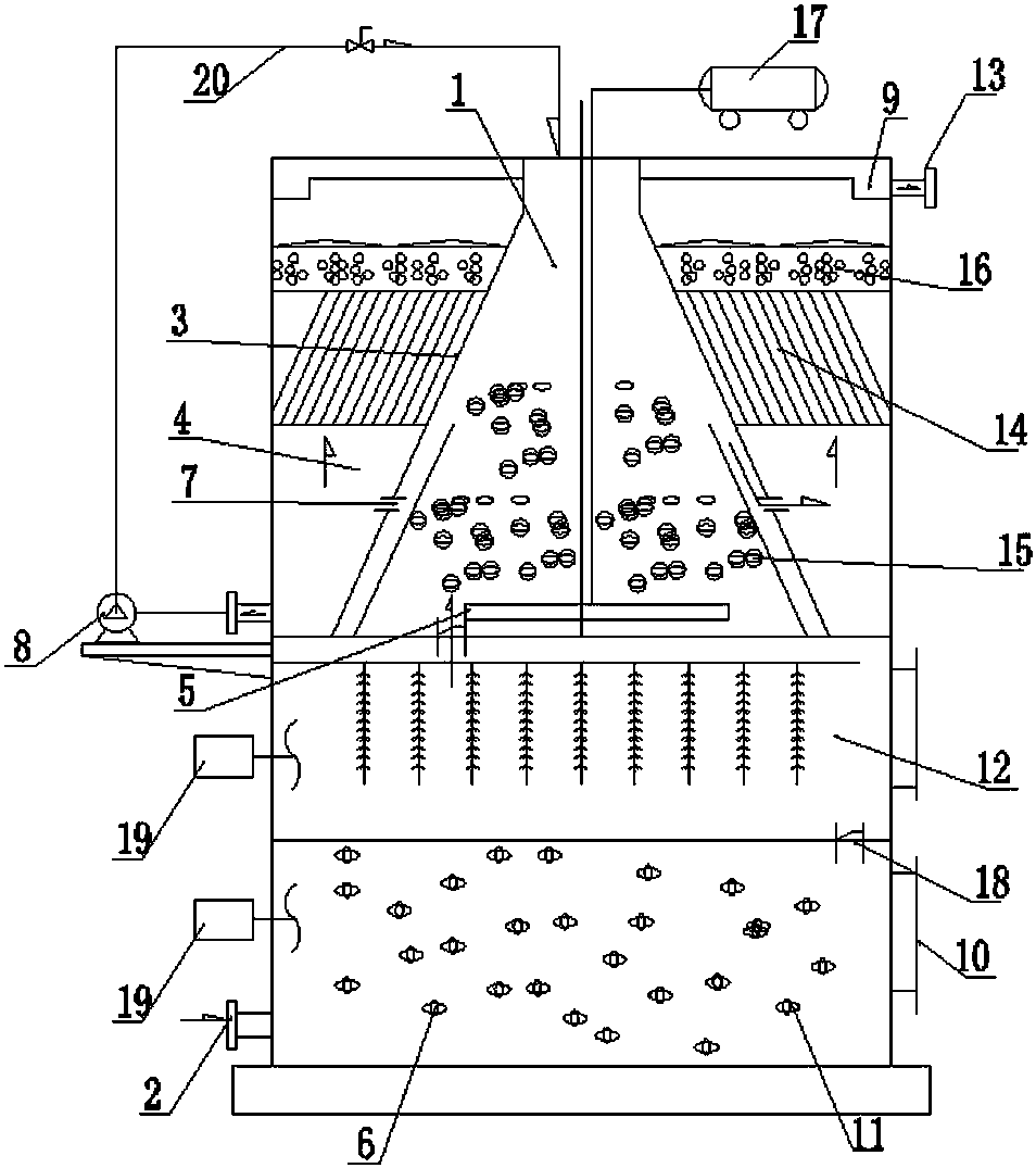
本發明屬于污水處理技術領域,公開了一種塔式一體化污水處理裝置,用于解決現有污水處理系統占面積大,地面投資成本較大,不能適用于可利用面積較小的企業的問題。本發明包括塔體,所述塔體的底端設有厭氧池,所述壓氧池的上方經管道連通有缺氧池,所述缺氧池的上方經管道連通有流化床生化區,所述硫化床生化區包括上端小下端大并呈圓臺狀的外殼,所述外殼連通有泥水分離器,所述外殼的外圍與塔體之間形成沉淀區,所述沉淀區設有斜管填料,所述斜管填料的上方與濾料層,所述濾料層的上方設有集水槽,所述集水槽連通有排水管。
權利要求書
1. 一種塔式一體化污水處理裝置,其特征在于,包括塔體,所述塔體的底端設有厭氧池,所述壓氧池的上方經管道連通有缺氧池,所述缺氧池的上方經管道連通有流化床生化區,所述硫化床生化區包括上端小下端大并呈圓臺狀的外殼,所述外殼連通有泥水分離器,所述外殼的外圍與塔體之間形成沉淀區,所述沉淀區設有斜管填料,所述斜管填料的上方與濾料層,所述濾料層的上方設有集水槽,所述集水槽連通有排水管。
2.根據權利要求1所述的塔式一體化污水處理裝置,其特征在于,所述厭氧池內設有懸浮生物填料。
3.根據權利要求2所述的塔式一體化污水處理裝置,其特征在于,所述厭氧池和缺氧池配設有攪拌機。
4.根據權利要求3所述的塔式一體化污水處理裝置,其特征在于,所述流化床生化區的底部設有曝氣管,所述曝氣管經管道與設置在塔體上方的鼓風機連通。
5.根據權利要求4所述的塔式一體化污水處理裝置,其特征在于,所述沉淀區的底部連通有污泥回流泵,所述污泥回流泵的出口經污泥回流管與流化床生化區連通。
6.根據權利要求1—5任一所述的塔式一體化污水處理裝置,其特征在于,所述斜管填料的傾斜角度為50—70°。
7.根據權利要求6所述的塔式一體化污水處理裝置,其特征在于,所述塔體上開設有用于對厭氧池和缺氧池進行檢修的檢修口。
8.根據權利要求6所述的塔式一體化污水處理裝置,其特征在于,所述厭氧池與缺氧池之間的管道上配設有單向閥,所述缺氧池與流化床生化區之間的管道上配設有單向閥。
說明書
一種塔式一體化污水處理裝置
技術領域
本發明屬于污水處理技術領域,公開了一種塔式一體化污水處理裝置。
背景技術
目前,污水處理技術總體而言可分為物理處理技術、物理化學處理技術、生物化學處理技術和化學處理技術,現有技術中關于污水處理的文獻也較多,例如申請號為201410556467.4的發明專利公開了一種污水處理系統,包括:至少一個污水輸入管道,曝氣池,一集水槽、至少一個坡形斜面;曝氣池上連接有排水管道,排水管道設置于坡形斜面的頂部;集水槽設置于坡形斜面的底部;至少一個污水輸出管道,污水輸出管道連接于集水槽底部,至少一個過濾單元,設置于坡形斜面與集水槽之間,或設置于集水槽之中,曝氣池內還均勻設置對流柱陣列;對流柱包括蓋板和立柱,蓋板露出水面,且蓋板的上表面為深色金屬質;立柱包括芯軸及包覆在芯軸外側的耐腐蝕保溫層,芯軸由金屬構成,且該芯軸的上方連接至蓋板的上表面,下方連接至集水槽池底;芯軸的近池底端裸露,其余部分由耐腐蝕保溫層包覆,芯軸的近集水槽底端連接有一個散熱部;散熱部由球形薄金屬面構成;過濾單元為微孔過濾介質。
申請號為201410513206.4的發明專利公開了一種戶用污水處理系統,由順次連接的沉淀隔油池、填料池、蓄水提升池、自復氧生物池和人工濕地床組成,沉淀隔油池內設置有隔板和總進水管,填料池內設有彈性填料和進水管,填料池和蓄水提升池之間有過水孔,蓄水提升池內有太陽能與常規動力相結合的提升泵,提升泵與提升管相連,自復氧生物池內設置有填料層,填料層從上至下依次為砂層、細顆粒礫石層和粗顆粒礫石層,自復氧生物池池壁上設置有復氧管和通氣孔,自復氧生物池池底設置有曝氣管,填料層上面設置有布水管,布水管與提升管相連,自復氧生物池通過穿孔排水管與人工濕地床相連,人工濕地床內設置有礫石層,人工濕地床底部從上至下依次為土工布層、高密度聚乙烯膜和壓實粘土層,人工濕地床底部設置有可調出水管,可調出水管與回用蓄水池相連或與當地地表水體相連;蓄水提升池內設置有與提升泵相配合的液位控制器;自復氧生物池設置有預留孔,帳篷安裝在預留孔中;自復氧生物池通過穿孔排水管與緩沖池相連,緩沖池通過恒流出水器與人工濕地床相連;人工濕地床中鋪設有石灰石或硅灰石。
申請號為201510116668.7的發明專利公開了一種污水處理系統,包括預缺氧池,與進水管道相連接,用于回流污泥和污水的缺氧反硝化反應;厭氧池,與進水管道相連接,并且與預缺氧化池相導通,用于生化除磷時進行厭氧釋磷;缺氧池,與進水管道相連接,并且與厭氧池相導通,用于反硝化脫氮;好氧池,與缺氧池相導通,用于有機物降解、有機氮和氨氮硝化、磷的吸收;后缺氧池,與好氧池相導通,用于同時硝化反硝化處理;序批式斜板沉淀池,與后缺氧池相導通,用于泥水分離處理和回流污泥的濃縮,回流污泥回流至預缺氧池。
然而,目前的污水處理系統大都是臥式的,由于臥式的處理系統占地面積較大,對于一些可利用面積較小的企業來說,臥式污水處理系統不能使用。
發明內容
本發明為了解決現有污水處理系統占面積大,地面投資成本較大,不能適用于可利用面積較小的企業的問題,而提供一種塔式一體化污水處理裝置,具有占地面積小的特點,能夠減低地面建設成本,同時能夠適用于可利用面積較小的企業。
為解決上述技術問題,本發明所采用的技術方案是:
一種塔式一體化污水處理裝置,其特征在于,包括塔體,所述塔體的底端設有厭氧池,所述壓氧池的上方經管道連通有缺氧池,所述缺氧池的上方經管道連通有流化床生化區,所述硫化床生化區包括上端小下端大并呈圓臺狀的外殼,所述外殼上連通有泥水分離器,所述外殼的外圍與塔體之間形成沉淀區,所述沉淀區設有斜管填料,所述斜管填料的上方與濾料層,所述濾料層的上方設有集水槽,所述集水槽連通有排水管。
所述厭氧池內設有懸浮生物填料。
所述厭氧池和缺氧池配設有攪拌機。
所述流化床生化區的底部設有曝氣管,所述曝氣管經管道與設置在塔體上方的鼓風機連通。
所述沉淀區的底部連通有污泥回流泵,所述污泥回流泵的出口經污泥回流管與流化床生化區連通。
所述斜管填料的傾斜角度為50—70°。
所述塔體上開設有用于對厭氧池和缺氧池進行檢修的檢修口。
所述厭氧池與缺氧池之間的管道上配設有單向閥,所述缺氧池與流化床生化區之間的管道上配設有單向閥。
與現有技術相比,本發明具有以下有益效果:
本發明的塔式一體化污水處理裝置,包括塔體,所述塔體的底端設有厭氧池,所述壓氧池的上方經管道連通有缺氧池,所述缺氧池的上方經管道連通有流化床生化區,所述硫化床生化區包括上端小下端大并呈圓臺狀的外殼,所述外殼上連通有泥水分離器,所述外殼的外圍與塔體之間形成沉淀區,所述沉淀區設有斜管填料,所述斜管填料的上方與濾料層,所述濾料層的上方設有集水槽,所述集水槽連通有排水管。污水依次進入厭氧池、缺氧池、硫化床生物區、沉淀區,然后經斜管填料和濾料層完成整個污水處理,本發明具有集成化程度高、占地空間小的特點,能夠降低地面投資成本,特別適用于可利用面積小的企業的使用。
同時本發明流化床生化區的結構設計,能夠最大限度的提高濾料層的面積,同時在流化床生化區的下部形成較大的懸浮生物反應空間,進一步提高污水處理的效果,提高本發明的實用性。







