申請日2015.07.24
公開(公告)日2016.01.20
IPC分類號B01D33/11
摘要
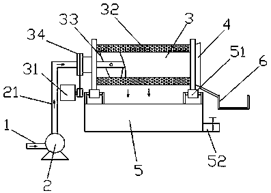
本實用新型公開了一種水刺工藝廢水過濾裝置,包括:第一廢水供液管、水泵和過濾滾筒,所述水泵的出液口連接設置有第二廢水供液管,所述被動輪盤中間設置有一個與過濾滾筒內部相連通的通孔,所述第二廢水供液管通過所述通孔延伸至過濾滾筒內部,所述過濾滾筒的筒壁上設置有數排漏水孔,所述過濾滾筒內壁上設置有螺旋排布的纖維導向擋板。通過上述方式,本實用新型所述的水刺工藝廢水過濾裝置,在過濾滾筒旋轉的過程中,廢水中的水分通過漏水孔流入下方的回水池,而廢水中的纖維被過濾網阻擋,堆積的纖維在旋轉的過程中隨螺旋設置的纖維導向擋板而滑出過濾滾筒,以便二次利用,減少了后續廢水的處理成本。
權利要求書
1.一種水刺工藝廢水過濾裝置,包括:第一廢水供液管、水泵和過濾滾筒,所述第一廢水供液管與水泵的進液口相連接,所述水泵的出液口連接設置有第二廢水供液管,其特征在于,所述過濾滾筒的左端設置有一個被動輪盤,所述被動輪盤中間設置有一個與過濾滾筒內部相連通的通孔,所述第二廢水供液管通過所述通孔延伸至過濾滾筒內部,所述過濾滾筒的筒壁上設置有數排漏水孔,所述過濾滾筒的外部設置有覆蓋在漏水孔所在區域的過濾網,所述過濾滾筒內壁上設置有螺旋排布的纖維導向擋板。
2.根據權利要求1所述的水刺工藝廢水過濾裝置,其特征在于,所述第二廢水供液管延伸至過濾滾筒內部的部分管壁上設置有數個噴水孔,且第二廢水供液管的末端設置有封堵蓋。
3.根據權利要求1所述的水刺工藝廢水過濾裝置,其特征在于,所述過濾滾筒還包括一個與被動輪盤相連接的驅動電機。
4.根據權利要求1所述的水刺工藝廢水過濾裝置,其特征在于,所述過濾滾筒右端開口處設置有導向罩,所述導向罩下方設置有纖維回收箱。
5.根據權利要求1所述的水刺工藝廢水過濾裝置,其特征在于,所述過濾滾筒下方設置有一個回水池,所述回水池上設置有支撐過濾滾筒旋轉的滾輪,所述回水池底部連接設置有排水管道。
說明書
一種水刺工藝廢水過濾裝置
技術領域
本實用新型涉及面膜紙生產領域,特別是涉及一種水刺工藝廢水過濾裝置。
背景技術
傳統的面膜紙是用無紡布經過加工成型的面膜用品,做面膜時還需要調配營養水,把面膜紙浸泡在營養水中,然后取出,貼覆在面部,數分鐘后取下,使得營養水中的部分營養被面部肌膚吸收。
普通面膜紙的材質有蠶絲、全棉、滌綸或者其他合成纖維無紡布等,蠶絲和全棉的面膜紙成本較高,也有面膜紙為無紡布和薄紙水刺復合制成。無紡布和薄紙水刺復合時,在水刺的作用下,無紡布和薄紙水刺緊密復合,無紡布中的部分纖維和薄紙中的部分木纖維被沖擊而隨廢水流入水池,需要對其進行過濾,收集廢水中的纖維,以便二次利用。
實用新型內容
本實用新型主要解決的技術問題是提供一種水刺工藝廢水過濾裝置,用于廢水中纖維的回收,降低生產和水處理的成本。
為解決上述技術問題,本實用新型采用的一個技術方案是:提供一種水刺工藝廢水過濾裝置,包括:第一廢水供液管、水泵和過濾滾筒,所述第一廢水供液管與水泵的進液口相連接,所述水泵的出液口連接設置有第二廢水供液管,所述過濾滾筒的左端設置有一個被動輪盤,所述被動輪盤中間設置有一個與過濾滾筒內部相連通的通孔,所述第二廢水供液管通過所述通孔延伸至過濾滾筒內部,所述過濾滾筒的筒壁上設置有數排漏水孔,所述過濾滾筒的外部設置有覆蓋在漏水孔所在區域的過濾網,所述過濾滾筒內壁上設置有螺旋排布的纖維導向擋板。
在本實用新型一個較佳實施例中,所述第二廢水供液管延伸至過濾滾筒內部的部分管壁上設置有數個噴水孔,且第二廢水供液管的末端設置有封堵蓋。
在本實用新型一個較佳實施例中,所述過濾滾筒還包括一個與被動輪盤相連接的驅動電機。
在本實用新型一個較佳實施例中,所述過濾滾筒右端開口處設置有導向罩,所述導向罩下方設置有纖維回收箱。
在本實用新型一個較佳實施例中,所述過濾滾筒下方設置有一個回水池,所述回水池上設置有支撐過濾滾筒旋轉的滾輪,所述回水池底部連接設置有排水管道。
本實用新型的有益效果是:本實用新型指出的一種水刺工藝廢水過濾裝置,廢水通過第二廢水供液管進入過濾滾筒,在過濾滾筒旋轉的過程中,廢水中的水分通過漏水孔流入下方的回水池,而廢水中的纖維被過濾網阻擋,堆積的纖維在旋轉的過程中隨螺旋設置的纖維導向擋板而滑出過濾滾筒,最終進入纖維回收箱,以便二次利用,而回水池中的廢水沒有了木纖維和無紡布纖維,減少了后續廢水的處理成本。







