申請日2015.07.24
公開(公告)日2016.01.06
IPC分類號C02F1/66; C02F103/16
摘要
本實用新型公開了一種含鋅電鍍廢水中和設備,包括排水組件、堿性含鋅廢水進水組件、酸性含鋅廢水進水組件、用于中和酸堿含鋅廢水的中和箱體及用于攪拌酸堿含鋅廢水的攪拌組件,所述攪拌組件包括攪拌軸、攪拌槳葉及驅動攪拌軸旋轉的驅動件,所述攪拌槳葉設于所述中和箱體內,并通過拆卸圓盤固定安裝于攪拌軸上,所述攪拌槳葉與拆卸圓盤的其中一個上設有凸部,另一個上設有與凸部配合的凹槽,所述拆卸圓盤與攪拌軸之間設有用于限制兩者周向轉動的限位部件。本實用新型具有節省人力、更換方便快速,且成本低的優點。
權利要求書
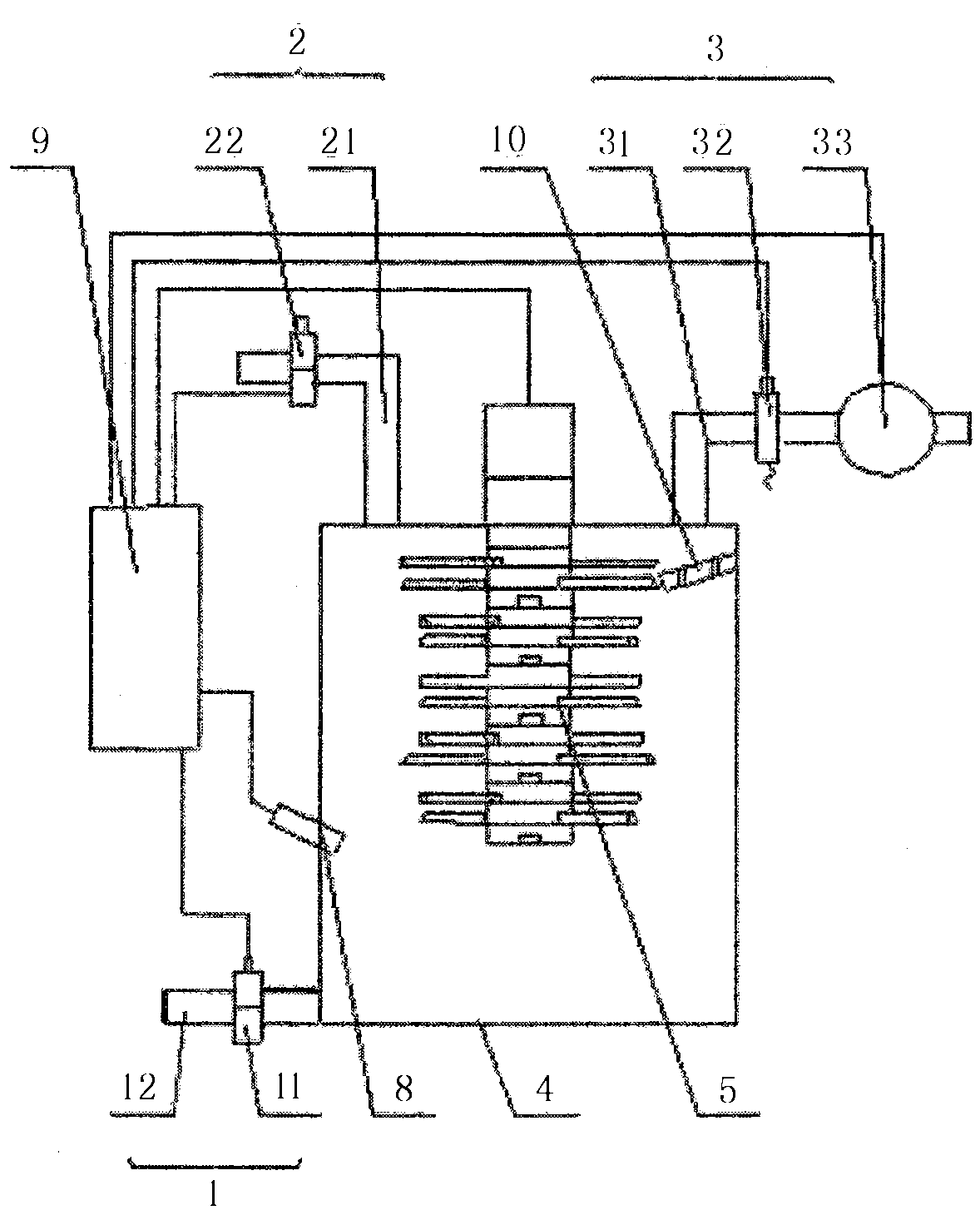
1.一種含鋅電鍍廢水中和設備,其特征在于,包括排水組件(1)、堿性含鋅廢水進水組件(2)、酸性含鋅廢水進水組件(3)、用于中和酸堿含鋅廢水的中和箱體(4)及用于攪拌酸堿含鋅廢水的攪拌組件(5),所述攪拌組件(5)包括攪拌軸(51)、攪拌槳葉(52)及驅動攪拌軸(51)旋轉的驅動件(53),所述攪拌槳葉(52)設于所述中和箱體(4)內,并通過拆卸圓盤(6)固定安裝于攪拌軸(51)上,所述攪拌槳葉(52)與拆卸圓盤(6)的其中一個上設有凸部,另一個上設有與凸部配合的凹槽,所述拆卸圓盤(6)與攪拌軸(51)之間設有用于限制兩者周向轉動的限位部件(7)。
2.根據權利要求1所述的含鋅電鍍廢水中和設備,其特征在于,所述限位部件(7)為沿攪拌軸(51)外圓周方向設置的多邊形卡部,所述拆卸圓盤(6)上設有與多邊形卡部卡接配合的的多邊形通孔。
3.根據權利要求2所述的含鋅電鍍廢水中和設備,其特征在于,所述多邊形卡部的邊的數量為3~8的其中一種,所述多邊形通孔的形狀與多邊形卡部的形狀對應。
4.根據權利要求1所述的含鋅電鍍廢水中和設備,其特征在于,所述攪拌槳葉(52)沿攪拌軸(51)的軸向多層設置,所述攪拌槳葉(52)壓緊于兩相鄰的拆卸圓盤(6)之間。
5.根據權利要求1至4任意一項所述的含鋅電鍍廢水中和設備,其特征在于,還包括控制器(9)及用于檢測中和箱體(4)內含鋅廢水pH值的pH值傳感器(8),所述控制器(9)根據pH值傳感器(8)的檢測信號發出控制指令給排水組件(1)、堿性含鋅廢水進水組件(2)、酸性含鋅廢水進水組件(3)及攪拌組件(5),執行中和處理。
6.根據權利要求5所述的含鋅電鍍廢水中和設備,其特征在于,所述排水組件(1)包括排放閥(11)和排放管(12),所述排放管(12)與中和箱體(4)內部連通,所述排放閥(11)設于氣體排放管(12)上,所述排放閥(11)與所述控制器(9)連接。
7.根據權利要求6所述的含鋅電鍍廢水中和設備,其特征在于,所述酸性含鋅廢水進水組件(3)包括酸性廢水進水管(31)、第一輸入閥(32)及流量計(33),所述酸性廢水進水管(31)與中和箱體(4)內部連通,所述第一輸入閥(32)及流量計(33)均設于酸性廢水進水管(31)上,且所述第一輸入閥(32)設于流量計(33)與中和箱體(4)之間,所述第一輸入閥(32)及流量計(33)與所述控制器連接。
8.根據權利要求7所述的含鋅電鍍廢水中和設備,其特征在于,所述堿性含鋅廢水進水組件(2)包括堿性廢水進水管(21)、第二輸入閥(22),所述堿性廢水進水管(21)與中和箱體(4)內部連通,所述第二輸入閥(22)設于所述酸性廢水進水管(31)上,所述第二輸入閥(22)與所述控制器連接。
9.根據權利要求1至4任意一項所述的含鋅電鍍廢水中和設備,其特征在于,所述中和箱體(4)靠近酸性含鋅廢水進水組件(3)的出口端設有孔口型布液板(10)。
說明書
一種含鋅電鍍廢水中和設備
技術領域
本實用新型涉及污水廢水處理領域,尤其涉及一種含鋅電鍍廢水中和設備。
背景技術
隨著人類對重金屬的開采、冶煉、加工等生產活動的日益增加,產生的重金屬廢水造成了嚴重的環境污染和資源浪費,如工業廢氣廢水污染等,特別是含鋅廢水的排放對人體健康和工農業活動具有嚴重危害,含鋅廢水具有持久性、毒性大等特點,一旦進入環境后不能生物降解,大多數參與植物鏈循環,并最終在生物體內積累,破壞生物體正常生理代謝活動,危害人體健康。因此,含鋅廢水處理十分重要,特別對于水質復雜、成分不易控制、毒性較大的含鋅電鍍廢水更是如此。
由于鋅為兩性金屬,在酸、堿溶液中易發生腐蝕,因此,其電鍍廢水有兩種:一種為酸性含鋅電鍍廢水,一種為堿性含鋅電鍍廢水。對兩種電鍍廢水處理前,需進行中和處理。現有中和處理方法采用人工中和處理方式,此方式勞動強度大、且效率低;同時,攪拌軸與攪拌槳葉為一體成型或焊接固定,攪拌過程中,攪拌槳葉需要抵抗廢水的沖擊與摩擦,長時間使用攪拌槳葉容易受損失效,其攪拌槳葉更換、檢修困難,成本高。
實用新型內容
本實用新型要解決的技術問題是克服現有技術的不足,提供一種用于節省人力、更換方便快速,且成本低的含鋅電鍍廢水中和設備。
為解決上述技術問題,本實用新型提出的技術方案為:
一種含鋅電鍍廢水中和設備,包括排水組件、堿性含鋅廢水進水組件、酸性含鋅廢水進水組件、用于中和酸堿含鋅廢水的中和箱體及用于攪拌酸堿含鋅廢水的攪拌組件,所述攪拌組件包括攪拌軸、攪拌槳葉及驅動攪拌軸旋轉的驅動件,所述攪拌槳葉設于所述中和箱體內,并通過拆卸圓盤固定安裝于攪拌軸上,所述攪拌槳葉與拆卸圓盤的其中一個上設有凸部,另一個上設有與凸部配合的凹槽,所述拆卸圓盤與攪拌軸之間設有用于限制兩者周向轉動的限位部件。
作為上述技術方案的進一步改進:
所述限位部件為沿攪拌軸外圓周方向設置的多邊形卡部,所述拆卸圓盤上設有與多邊形卡部卡接配合的的多邊形通孔。
所述多邊形卡部的邊的數量為3~8的其中一種,所述多邊形通孔的形狀與多邊形卡部的形狀對應。
所述攪拌槳葉沿攪拌軸的軸向多層設置,所述攪拌槳葉壓緊于兩相鄰的拆卸圓盤之間。
所述含鋅電鍍廢水中和設備還包括控制器及用于檢測中和箱體內含鋅廢水pH值的pH值傳感器,所述控制器根據pH值傳感器的檢測信號發出控制指令給排水組件、堿性含鋅廢水進水組件、酸性含鋅廢水進水組件及攪拌組件,執行中和處理。
所述排水組件包括排放閥和排放管,所述排放管與中和箱體內部連通,所述排放閥設于氣體排放管上,所述排放閥與所述控制器連接。
所述酸性含鋅廢水進水組件包括酸性廢水進水管、第一輸入閥及流量計,所述酸性廢水進水管與中和箱體內部連通,所述第一輸入閥及流量計均設于酸性廢水進水管上,且所述第一輸入閥設于流量計與中和箱體之間,所述第一輸入閥及流量計與所述控制器連接。
所述堿性含鋅廢水進水組件包括堿性廢水進水管、第二輸入閥,所述堿性廢水進水管與中和箱體內部連通,所述第二輸入閥設于所述酸性廢水進水管上,所述第二輸入閥與所述控制器連接。
所述中和箱體靠近酸性含鋅廢水進水組件的出口端設有孔口型布液板。
與現有技術相比,本實用新型的優點在于:
本實用新型設置有酸堿性含鋅廢水中和箱體,通過堿酸性含鋅廢水進水組件進廢水、通過攪拌組件攪拌中和酸堿性含鋅廢水,通過排水組件排出中和廢水,有效避免了采用人力方式勞動強度大、且效率低的現象,中和處理精度及自動程序高,有效節省了人力;同時,攪拌槳葉通過拆卸圓盤安裝于攪拌軸上,攪拌槳葉及拆卸圓盤的其中一個上設有凸部,另一個上設有與凸部配合的凹槽,葉片更換時,攪拌軸無需隨攪拌槳葉拆卸,通過松開拆卸圓盤即可取出攪拌槳葉進行更換,更換方便快速,成本低。







