申請日2015.06.10
公開(公告)日2015.10.21
IPC分類號C02F103/18; C02F1/16
摘要
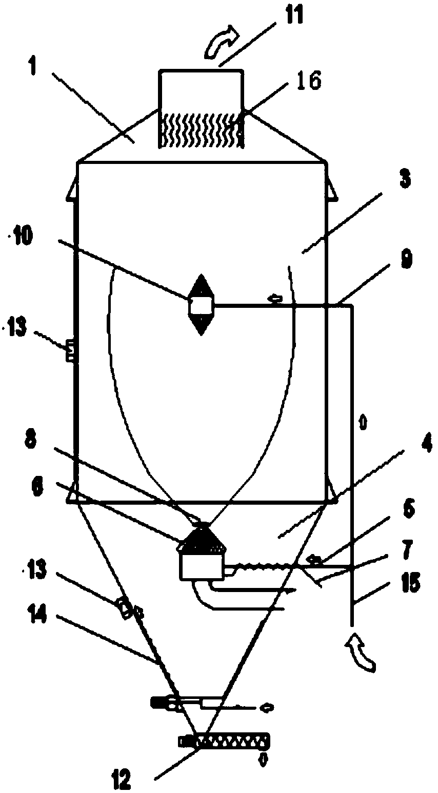
本實用新型公開了一種機械霧化脫硫廢水煙道氣蒸發裝置,涉及環保和廢水處理裝置領域。采用本實用新型實施例提供的機械霧化脫硫廢水煙道氣蒸發裝置,可以使脫硫廢水經過預熱霧化后,得到小霧滴,小霧滴在一次煙氣和二次煙氣的加熱蒸發作用下,在較短時間內、較短行程內實現了完全蒸發,煙氣最終從裝置頂部的出氣口排出,脫硫廢水經過蒸發后,得到的結晶的固體物降落于塔底,由出料口排出。與現有技術相比,采用本實施例提供的裝置進行脫硫廢水的煙氣蒸發,極大的降低了處理難度和費用,減少了脫硫廢水處理的能耗和污染的可能。
摘要附圖
權利要求書
1.一種機械霧化脫硫廢水煙道氣蒸發裝置,其特征在于,包括:塔體,所 述塔體包括第一塔體和第二塔體,所述第一塔體位于所述塔體的上部,所述第 二塔體位于所述塔體的下部,供一次煙氣流通的一次煙道進入所述第二塔體, 所述一次煙道與一次煙氣加速分配器連通;脫硫廢水通過脫硫廢水管路進入霧 化頭,所述霧化頭位于所述一次煙氣加速分配器的上方;供二次煙氣流通的二 次煙道進入所述第一塔體,所述二次煙道與二次煙氣彗核連通;所述第一塔體 的頂部設置出氣口,所述第二塔體的底部設置出料口。
2.根據權利要求1所述的機械霧化脫硫廢水煙道氣蒸發裝置,其特征在于, 所述第二塔體為錐體。
3.根據權利要求1所述的機械霧化脫硫廢水煙道氣蒸發裝置,其特征在于, 還包括廢水預輔熱器,脫硫廢水通過脫硫廢水管路先進入所述廢水預輔熱器, 再進入所述霧化頭。
4.根據權利要求1所述的機械霧化脫硫廢水煙道氣蒸發裝置,其特征在于, 所述霧化頭為機械霧化頭。
5.根據權利要求1所述的機械霧化脫硫廢水煙道氣蒸發裝置,其特征在于, 所述一次煙氣加速分配器、所述霧化頭和所述二次煙氣彗核均位于所述塔體的 中軸線上。
6.根據權利要求1所述的機械霧化脫硫廢水煙道氣蒸發裝置,其特征在于, 所述第一塔體的外壁上和所述第二塔體的外壁上均設置有振動器。
7.根據權利要求1所述的機械霧化脫硫廢水煙道氣蒸發裝置,其特征在于, 所述第二塔體的內壁上設置有氣掃刮刀裝置,所述氣掃刮刀裝置位于所述出料 口附近。
8.根據權利要求1所述的機械霧化脫硫廢水煙道氣蒸發裝置,其特征在于, 所述一次煙道和所述二次煙道均與外部的主煙道連通。
9.根據權利要求1所述的機械霧化脫硫廢水煙道氣蒸發裝置,其特征在于, 所述第一塔體的頂部設置有水霧撲集器,所述水霧撲集器位于所述出氣口的下 方。
10.根據權利要求1所述的機械霧化脫硫廢水煙道氣蒸發裝置,其特征在于, 所述霧化頭靠近所述第一塔體的底部設置。
說明書
一種機械霧化脫硫廢水煙道氣蒸發裝置
技術領域
本實用新型涉及環保和廢水處理裝置領域,尤其涉及一種機械霧化脫硫廢 水煙道氣蒸發裝置。
背景技術
隨著我國環境保護力度的不斷加大,燃煤電站鍋爐尾氣的排放成為環境保 護中需要重點解決問題。
目前,燃煤電站鍋爐大都設置了煙氣脫硫裝置。利用電站鍋爐空氣預熱器 后的煙氣余熱來使脫硫廢水蒸發處理的工藝,具有投資低、占地少的特點。
使用煙氣脫硫裝置對脫硫廢水進行處理的過程中,首先對脫硫廢水進行霧 化處理,將大液滴霧化成小液滴,小液滴與煙道氣接觸后,與煙道氣之間進行 熱量的傳遞,實現處理脫硫廢水的目的。
而現有的脫硫廢水煙氣蒸發裝置中,一般對脫硫廢水進行一次霧化,所以, 在較短的煙道內,脫硫廢水往往不能一次性完全蒸發,導致處理效率下降,成 本增加,排放污染的可能性較大。
實用新型內容
本實用新型的目的在于提供一種機械霧化脫硫廢水煙道氣蒸發裝置,從而 解決現有技術中存在的前述問題。
為了實現上述目的,本實用新型采用的技術方案如下:
一種機械霧化脫硫廢水煙道氣蒸發裝置,包括:塔體,所述塔體包括第一塔 體和第二塔體,所述第一塔體位于所述塔體的上部,所述第二塔體位于所述塔 體的下部,供一次煙氣流通的一次煙道進入所述第二塔體,所述一次煙道與一 次煙氣加速分配器連通;脫硫廢水通過脫硫廢水管路進入霧化頭,所述霧化頭 位于所述一次煙氣加速分配器的上方;供二次煙氣流通的二次煙道進入所述第 一塔體,所述二次煙道與二次煙氣彗核連通;所述第一塔體的頂部設置出氣口, 所述第二塔體的底部設置出料口。
優選地,所述第二塔體為錐體。
進一步地,還包括廢水預輔熱器,脫硫廢水通過脫硫廢水管路先進入所述廢 水預輔熱器,再進入所述霧化頭。
優選地,所述霧化頭為機械霧化頭。
優選地,所述一次煙氣加速分配器、所述霧化頭和所述二次煙氣彗核均位于 所述塔體的中軸線上。
優選地,所述第一塔體的外壁上和所述第二塔體的外壁上均設置有振動器。
優選地,所述第二塔體的內壁上設置有氣掃刮刀裝置,所述氣掃刮刀裝置位 于所述出料口附近。
優選地,所述一次煙道和所述二次煙道均與外部的主煙道連通。
優選地,所述第一塔體的頂部設置有水霧撲集器,所述水霧撲集器位于所述 出氣口的下方。
優選地,所述霧化頭靠近所述第一塔體的底部設置。
本實用新型的有益效果是:采用本實用新型實施例提供的機械霧化脫硫廢 水煙道氣蒸發裝置,可以使脫硫廢水經過預熱霧化后,得到小霧滴,小霧滴在 一次煙氣和二次煙氣的加熱蒸發作用下,在較短時間內、較短行程內實現了完 全蒸發,煙氣最終從裝置頂部的出氣口排出,脫硫廢水經過蒸發后,得到的結 晶的固體物降落于塔底,由出料口排出。與現有技術相比,采用本實施例提供 的裝置進行脫硫廢水的煙氣蒸發,極大的降低了處理難度和費用,減少了脫硫 廢水處理的能耗和污染的可能。






