申請日2015.07.24
公開(公告)日2016.05.11
IPC分類號C25C7/00; C02F1/461
摘要
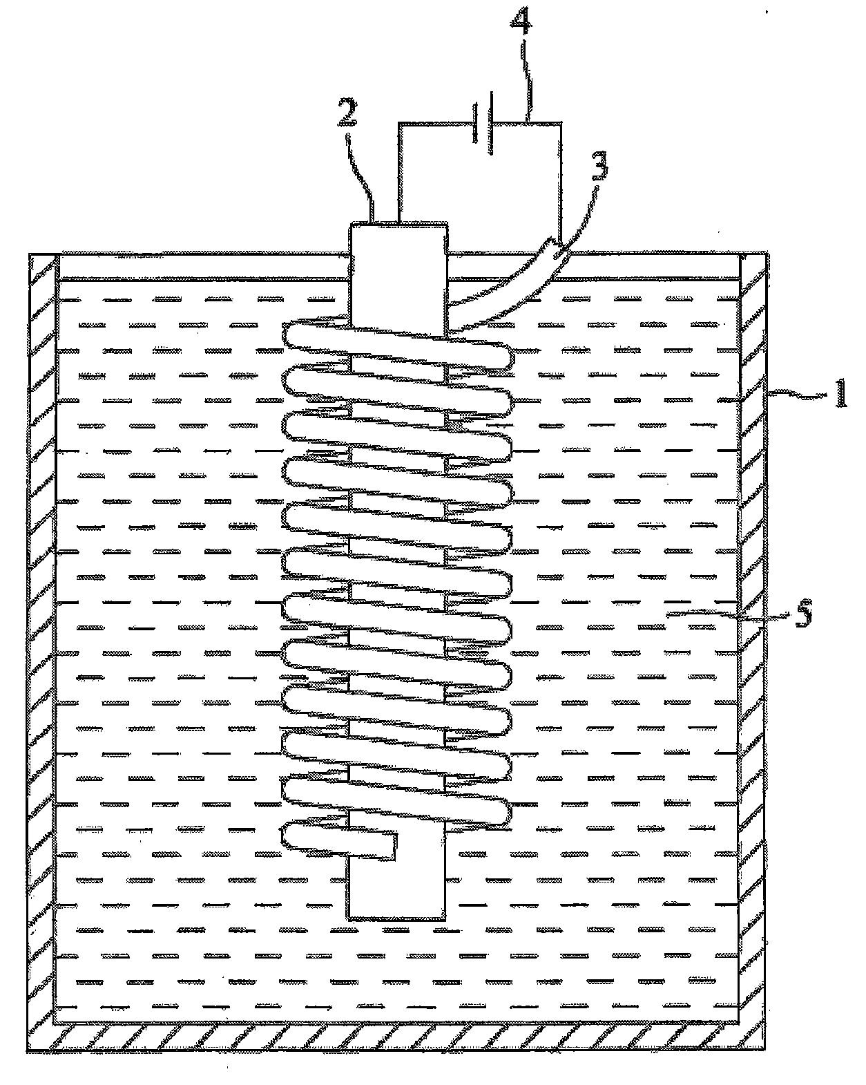
本實用新型涉及提供一種用于減少廢水中金屬離子的回收裝置,包括容納含有金屬離子廢液的反應槽;設置于所述反應槽內的陰極;設置于所述反應槽內的陽極,所述陽極螺旋狀地環繞所述陰極并與所述陰極相間隔;連接所述陰極與所述陽極的供電單元。由于所述陽極與所述陰極相間隔,呈現形狀為一由上往下等直徑螺旋環繞所述陰極延伸的螺旋圓柱狀,所以陽極同時也能提供一磁場,增加廢液中金屬離子往陰極移動的速度,使金屬離子中較輕離子更容易到達陰極的表面進行還原反應,從而提升金屬回收率,有效減少廢液中的金屬離子。
權利要求書
1.一種用于減少廢水中金屬離子的回收裝置,其特征在于,包括容納含有金屬離子廢液的反應槽;設置于所述反應槽內的陰極;設置于所述反應槽內的陽極,所述陽極與所述陰極相間隔,呈現形狀為一由上往下等直徑螺旋環繞所述陰極延伸的螺旋圓柱狀;連接所述陰極與所述陽極的供電單元。
2.如權利要求1所述的一種用于減少廢水中金屬離子的回收裝置,其特征在于,所述陰極設置為鉑電極。
3.如權利要求1所述的一種用于減少廢水中金屬離子的回收裝置,其特征在于,所述陽極為不銹鋼電極。
4.如權利要求1所述的一種用于減少廢水中金屬離子的回收裝置,其特征在于,所述供電單元提供直流電給所述陰極與陽極。
說明書
一種用于減少廢水中金屬離子的回收裝置
技術領域
本實用新型涉及一種用于減少廢水中金屬離子的回收裝置,尤其涉及用于回收廢水中的金屬離子的金屬回收裝置。
背景技術
近年來,人類的環保意識越來越強,國家也在戰略高度提出了建設可持續發展社會,節能減排成為趨勢,很多金屬冶煉廠煉制比如鐵、鋅、鎘等金屬時,常采用金屬廢渣利用工藝,提取金屬,然而在提取過后排放廢水中仍然存在很多金屬離子,直接排放對自然環境造成污染,進一步危害人體的健康,現有技術中常采用電沉積法減少廢水中的金屬離子同時進一步回收金屬,現有技術中的采用該方法使用的陰極設置為長條形或者平板裝,金屬離子移動至陰極的速度十分緩慢,使得金屬回收效率低,無法有效的減少廢水中的金屬離子,因此,亟需研制一種新型金屬離子回收裝置。
實用新型內容
本實用新型的目的在于克服上述現有技術的不足而提供一種金用于減少廢水中金屬離子的回收裝置,解決了現有技術中電沉積法使用的陰極設置為長條形或者平板裝,金屬離子移動至陰極的速度十分緩慢,使得金屬回收效率低,無法有效的減少廢水中的金屬離子的技術問題。
為了解決背景技術所存在的問題,本實用新型是采用以下技術方案:
一種用于減少廢水中金屬離子的回收裝置,包括容納含有金屬離子廢液的反應槽;設置于所述反應槽內的陰極;設置于所述反應槽內的陽極,所述陽極與所述陰極相間隔,呈現形狀為一由上往下等直徑螺旋環繞所述陰極延伸的螺旋圓柱狀;連接所述陰極與所述陽極的供電單元。
所述陰極設置為鉑電極。
所述陽極為不銹鋼電極。
所述供電單元提供直流電給所述陰極與陽極。
由于陽極為螺旋狀的環繞陰極并與陰極相間隔,所以陽極同時也能提供一磁場,增加廢液中金屬離子往陰極移動的速度,使金屬離子中較輕離子更容易到達陰極的表面進行還原反應,從而提升金屬回收率,有效減少廢液中的金屬離子,有效解決了現有技術中采用條狀或者平板裝陰極的回收裝置,金屬離子在液體中移動速度緩慢,導致金屬回收率低的問題。







