申請日2015.06.10
公開(公告)日2015.09.16
IPC分類號C02F9/14
摘要
本發明涉及污水處理技術領域,特別設計針對經過傳統污水處理方法處理的工業生產廢水的污水深度處理裝置。該裝置包括一級由缺氧-厭氧-好氧組成的生物膜生物反應器,一級由缺氧-好氧組成的生物膜生物反應器,和兩級臭氧-浮動床生物池,并通過回流等方法使缺氧-厭氧-好氧獲得耦合效果。其有益效果是通過耦合的缺氧-厭氧-好氧生物膜反應將難降解污染物通過強化生化的方法降解,對仍不能降解的污染物進行氧化改性在通過生化降解,從而以最經濟的生化反應獲得無害化的污水深度處理結果,通過多級復合空隙生物膜反應器(MCM)和多級氧化加強生化(OEB)過程將工業生產廢水處理達到中國國家市政一級A排放標準。
摘要附圖
權利要求書
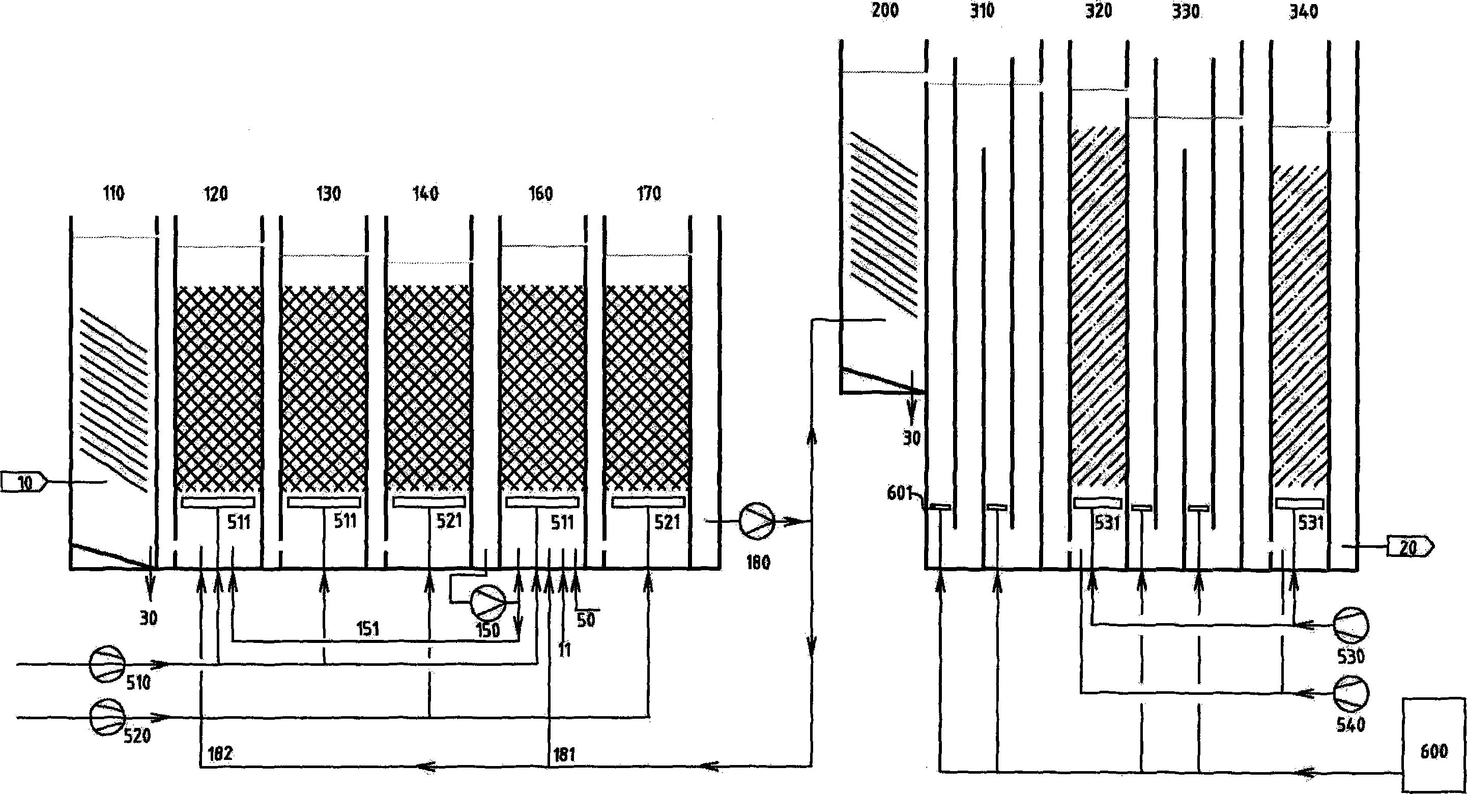
1.一種工業生產廢水深度處理裝置,其特征在于依次包括第一進水接口 (10)、第一混凝沉淀池(110)、第一生物膜缺氧反應池(120)、第一生物 膜厭氧反應池(130)、第一生物膜好氧反應池(140)、一級提升泵(150)、 第二生物膜缺氧反應池(160)、第二生物膜好氧反應池(170)、二級提升泵 (180)、第二混凝沉淀池(200)、第一氧化反應池(310)、第一浮動床生物 池(320)、第二氧化反應池(330)、第二浮動床生物池(330)、產水接口(20); 還包括氧/缺氧反洗風機(510)、好氧運行風機(520)、浮動床生物池反洗風 機(530)、浮動床生物池運行風機(540)、臭氧發生器(600)、必要的閥門、 儀表和自動控制系統;其中第一混凝沉淀池(110)和第二混凝沉淀池(200) 底部設有排泥管(30),其中第一生物膜缺氧反應池(120)、第一生物膜厭氧 反應池(130)和二生物膜缺氧反應池(160)底部設有氣洗曝氣裝置(511),其 中第一生物膜好氧反應池(140)和第二生物膜好氧反應池(170)底部設有好 氧曝氣裝置(521),其中第一氧化反應池(310)和第二氧化反應池(330)底 部設有多個臭氧曝氣裝置(601),其中第一浮動床生物池(320)和第二浮動 床生物池(330)底部設有氣水分步裝置(531);其中第一生物膜好氧反應池 (140)部分產水經一級提升泵(150)和第一回流管路(151)被回流到第一生 物膜缺氧反應池(120),第二生物膜好氧反應池(170)部分產水經二級提升 泵(180)和第二回流管路(181)被回流到第二生物膜缺氧反應池(160),第 二生物膜好氧反應池(170)部分產水經二級提升泵(180)和第三回流管路(182) 被回流到第以生物膜缺氧反應池(120)。
2.根據權利要求1所述的工業生產廢水深度處理裝置,其特征在于還包 括向第二生物膜缺氧反應池(160)供原水的第二進水接口(11)。
3.根據權利要求1所述的工業生產廢水深度處理裝置,其特征在于還向 第二生物膜缺氧反應池(160)供炭源的炭源添加裝置(50)。
4.根據權利要求1所述的工業生產廢水深度處理裝置,其特征在于第一 生物膜缺氧反應池(120)、第一生物膜厭氧反應池(130)、第一生物膜好氧 反應池(140)、一級提升泵(150)、第二生物膜缺氧反應池(160)、第二生 物膜好氧反應池(170)中包含復合空隙生物填料。
5.根據權利要求1所述的工業生產廢水深度處理裝置,其特征在于第一 浮動床生物池(320)和第二浮動床生物池(330)包含活性炭填料。
說明書
工業生產廢水深度處理裝置
技術領域
本發明涉及污水處理技術領域,具體地說,涉及針對經過傳統污水裝置處 理后仍然不能達標排放的污水的深度處理方法,特別針對經過傳統污水裝置處 理的工業生產廢水進一步處理以達到排放標準的污水深度處理方法。
技術背景
傳統的污水處理裝置一般以活性污泥法為基礎。活性污泥法中微生物的種 類和活性受到限制,因而一些有機物難以得到降解,影響處理效果。傳統污水 處理技術通常把難以被活性污泥降解的有機物稱為“難降解有機物”或不可生 化有機物。對于含有工業廢水的市政污水,或對于工業廢水,通過傳統的污水 處理會剩余較大量的“難降解有機物”,難以達到排放標準或后續回用工藝要 求。維生素C生產產生的廢水具有廢水量大、污染濃度高、含鹽量高等特點, 用傳統的污水處理法難以達到城鎮排放標準。
上世紀未,由于維生素C生產廢水難以處理達標等問題,美國關閉了其境 內所有的生產廠。目前中國成為全世界的維生素C生產中心。常見的工業生產 廢水化學耗氧量(COD)在10000mg/L以上。生產企業經過強有力的處理,可 以將COD降低到500mg/L以下,達到工業企業排往城市污水處理廠的標準。 然而,這些剩余的COD幾乎全部是“難降解有機物”,加之較高的氮污染物、 高硬度和超過1%的含鹽量,傳統的城市污水處理廠對之束手無策。有專家認 為這是人類污水處理領域面臨的“世界難題”。將這類工業生產污水處理達標 將是中國眾多類似企業生死存亡的大問題,需要在傳統污水處理基礎上發展污 水深度處理技術和方法(Acute Waste Water Treatment,AWWT)。
污水深度處理(AWWT)技術是指經過傳統污水處理后的污水中含有較高 濃度的“難降解有機物”,需要進一步處理時采用的污水處理技術。污水深度 處理技術主要的應用領域包括:(1)傳統方法處理后污水不能達到排放標準, 需要深度處理(包括提標改造);(2)傳統方法處理后污水不能滿足回用工 藝的進水要求,需要深度處理;(3)為了使回用工藝的尾水能夠達到排放要 求,對污水或回用工藝尾水實施深度處理。
常見的污水深度處理技術包括多種方法。其中常見的芬頓試劑法是一種化 學方法,消耗大量的化學品、產生大量的化學污泥,運行成本高。由于芬頓試 劑法主要是以絮凝沉淀的方式去除污染物,因此對較大分子的污染物處理效果 較好,而對較小分子的污染物,處理效果有限。膜生物反應器法(MBR)也可 以作為一種污水深度處理法,但是由于MBR法仍然以活性污泥為核心,進一 步降低“難降解有機物”的空間有限。生物膜生化污水深度處理法(Bio-Film Bio-reaction,BFB)和氧化加強生化方法(Oxidation Enhanced Bio-reaction, OEB)不會產生大量的化學污泥,運行耗能低,是較綠色環保的方法。
事實上,有機物污染物是否能被生化降解與微生物種類和種群組成有關, 如果能夠培育更為豐富的和有針對性的微生物種群,某些常規方法“難降解” 的有機物就有可能變為“易降解”有機物。因此為培育更為豐富微生物創造條 件是消除“難降解有機物”的方向之一。
中國專利《復合生物填料及其生物反應器》(201020204406.9)揭示一種 復合空隙生物填料(Multi-Cavity Media,MCM),包括一個硬質網狀外殼和充 填在該外殼內的兩種以上的介質塊。由于外殼間具有較大的空隙,介質塊間有 較小的空隙,介質塊內有微型空隙;氣水混合交換條件在大空隙、小空隙和微 空隙內的顯著差別造成溶解氧的顯著差別,可以實現好氧、缺氧、厭氧的就地 耦合。同時典型介質塊組合是具有微孔的焦炭塊或木炭塊與火山巖組合,該組 合的特點是焦炭塊或木炭塊具有較低的氧化還原電勢,而火山巖中的氧化鐵成 分具有較高的氧化還原電勢,不同的微生物可以選擇不同的介質表面棲息。
中國專利(200710195135.8)揭示了一種生物膜反應器,其中使用MCM 首先實現好氧、缺氧、厭氧的就地耦合。再在氣提循環流作用下在該反應器內 實現多級的好氧、缺氧、厭氧反應器內耦合。以上生物膜反應器技術對培養更 為豐富的和有針對性的微生物種群以降解“難降解有機物”提供了技術基礎。 同時由于多種微生物的存在,使得同步消化/反硝化和同步降解剩余生物污泥得 以實現。
然而將類似技術用于更難降解的污染物時,特別是用于維生素C尾水的處 理是,單一方法還不足以使污水處理達標,需要多種生物反應過程的多次耦合。
經過多次耦合的生物膜生化污水深度處理,仍然有部分“難降解有機物” 難以被生化降解。可以采用強氧化劑對這些“難降解有機物”氧化,改變其化 學性質,提高其可生化性,然后再進行生化處理。這一過程可以被稱為氧化加 強的生化反應(OEB)。
發明內容
本發明要解決傳統污水處理方法處理難降解污水后不能達到處理要求的 技術問題,特別是針對類似工業生產廢水等工業生產廢水難以被處理達到標排 放的技術問題,揭示一種污水深度處理技術。
為了解決上述技術問題,本工業生產廢水深度處理裝置依次包括第一進水 接口、一混凝沉淀池、第一生物膜缺氧反應池、第一生物膜厭氧反應池、第一 生物膜好氧反應池、一級提升泵、第二生物膜缺氧反應池、第二生物膜好氧反 應池、二級提升泵、第二混凝沉淀池、第一氧化反應池、第一浮動床生物池、 第二氧化反應池、第二浮動床生物池、產水接口;還包括氧/缺氧反洗風機、好 氧運行風機、浮動床生物池反洗風機、浮動床生物池運行風機、臭氧發生器、 必要的閥門、儀表和自動控制系統;其中第一混凝沉淀池和第二混凝沉淀池底 部設有排泥管,其中第一生物膜缺氧反應池、第一生物膜厭氧反應池和二生物 膜缺氧反應池底部設有氣洗曝氣裝置,其中第一生物膜好氧反應池和第二生物 膜好氧反應池底部設有好氧曝氣裝置,其中第一氧化反應池和第二氧化反應池 底部設有多個臭氧曝氣裝置,其中第一浮動床生物池和第二浮動床生物池,底 部設有氣水分步裝置;其中第一生物膜好氧反應池部分產水經一級提升泵和第 一回流管路被回流到第一生物膜缺氧反應池,第二生物膜好氧反應池部分產水 經二級提升泵和第二回流管路被回流到第二生物膜缺氧反應池,第二生物膜好 氧反應池部分產水經二級提升泵和第三回流管路被回流到第以生物膜缺氧反應 池。
本工業生產廢水深度處理方法的有益效果是由于寄生于生物填料上的微 生物被固定在特定池內,第一生物膜好氧反應池和第二生物膜好氧反應池內優 勢菌種根據污染物組成的變化和溶解氧的差別(可以被控制)而不同。同理, 第一生物膜缺氧反應池、第一生物膜厭氧反應池和第二生物膜缺氧反應池內優 勢菌種隨污染物組成的變化和溶解氧差別而不同,正是由于這些微生物的差異, 各種“難降解有機污染物”在特種微生物的作用下逐步被降解。本工業生產廢 水深度處理裝置的另一有益效果是利用生物填料實現缺氧和好氧反應的即就地 耦合,再通過好氧池向前級缺氧池回流實現生物反應池間的缺氧和好氧耦合。 這些缺氧和好氧耦合效果之一是缺氧反應產物可以被好氧降解,而好氧反應產 物可以被缺氧反應降解;后級反應產物可能再次被前級降解;后級產生的剩余 生物污泥被回流,并逐步被降解,使得生物污泥量顯著減少。本工業生產廢水 深度處理裝置的另一有益效果是選擇具有特種功能的填料。本工業生產廢水深 深度處理裝置的另一有益效果是可以在必要時選擇加入降解難降解污染物需要 的營養素。本工業生產廢水深度處理裝置的另一有益效果是通過多次少量添加 氧化劑對生物膜反應后部分“難降解有機污染物”實現“有限氧化”改性,再 用后續的浮動床生物池降解這些變性的污染物,因此氧化劑的效率更高。通過 多級復合空隙生物膜反應器(MCM)和多級氧化加強生化(OEB)過程將工業 生產廢水處理達到中國國家市政一級A排放標準。經實驗證明這一裝置和方法 對于眾多難降解污水的深度處理有廣泛效果。






