申請日2015.06.10
公開(公告)日2015.09.16
IPC分類號C02F103/44; C02F9/14
摘要
本發明涉及一種利用硅藻精土處理洗車廢水并循環利用的設備,在廂體內設置有廢水調節池、第一反應器、好氧室、第二反應器和消毒室,第一反應器由第一反應室和第一澄清室組成,第二反應器由第二反應室和第二澄清室組成,廢水調節池上方設置有第一投料機,廢水調節池通過其底部的潛污泵與第一反應室連通,第一澄清室與好氧室通過頂部連通,好氧室與第二反應室通過頂部連通,第二澄清室與消毒室通過頂部連通,好氧室與第二反應器的底部通過回流泵連通,在第二反應室上方設置有第二投料機;污泥脫水器與第一反應器和第二反應器連通,污泥脫水器與廢水調節池連通。本發明能有效攔截污泥、微生物、重金屬,絮凝沉降效果好,泥水分離徹底,出水水質好。
摘要附圖
權利要求書
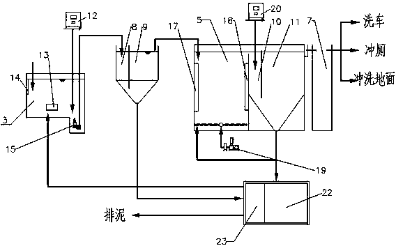
1.利用硅藻精土處理洗車廢水并循環利用的設備,它包括廂體、廢水調節池、潛污泵、第一投料機、第一反應器、好氧室、回流泵、第二反應器、第二投料機、污泥脫水器和消毒室,其特征是:在廂體內從左向右依次設置有廢水調節池、第一反應器、好氧室、第二反應器和消毒室,第一反應器由第一反應室和與第一反應室底部連通的第一澄清室組成,第二反應器由第二反應室和與第二反應室底部連通的第二澄清室組成,廢水調節池上方設置有第一投料機,廢水調節池通過其底部的潛污泵與第一反應室連通,第一澄清室與好氧室通過頂部連通,好氧室與第二反應室通過頂部連通,第二澄清室與消毒室通過頂部連通,好氧室與第二反應器的底部通過回流泵連通,在第二反應室上方設置有第二投料機;污泥脫水器與第一反應器和第二反應器連通,污泥脫水器與廢水調節池連通。
2.根據權利要求1所述的利用硅藻精土處理洗車廢水并循環利用的設備,其特征是:污泥脫水器由脫水機和儲泥室組成,脫水機與儲泥室連通,脫水機與廢水調節池連通。
3.根據權利要求1所述的利用硅藻精土處理洗車廢水并循環利用的設備,其特征是:在好氧室底部設置有曝氧管路、溶氧測量儀和水位測量儀,曝氧管路通過鼓風機通氣。
4.根據權利要求1所述的利用硅藻精土處理洗車廢水并循環利用的設備,其特征是:廂體為由方鋼制成的長方體骨架結構,并通過鋼板將各容器焊接成密封結構,在廂體底部設置有便于調節水平的調節器,在廂體四壁設置有保溫層。
5.根據權利要求1所述的利用硅藻精土處理洗車廢水并循環利用的設備,其特征是:在第一澄清室和第二澄清室內設置有超濾層。
6.根據權利要求1所述的利用硅藻精土處理洗車廢水并循環利用的設備,其特征是:在廢水調節池的底部設置一攪拌機,并在側壁上固定一液位計。
7.根據權利要求3或6所述的利用硅藻精土處理洗車廢水并循環利用的設備,其特征是:包括自動控制器,自動控制器分別與液位計、溶氧測量儀、攪拌機、水位測量儀、第一投料機、第二投料機、回流泵和鼓風機連接,實現自動調節控制。
8.一種利用權利要求1所述的利用硅藻精土處理洗車廢水并循環利用的設備的處理方法,其特征在于,該方法包括以下步驟:①在廢水調節池內通過攪拌機把污水混勻,同時向其中投加硅藻精土;②廢水調節池內的污水經潛污泵提升至第一反應室,污水在第一反應室內吸附聚合后進入第一澄清室;③在第一澄清室內進行泥水分離,污泥進入脫水機,分離后的上清液自流進入好氧室;④在好氧室內進行充分曝氣,降解有機物并去除氨氮和洗滌劑等污染物,然后自流進入第二反應室;⑤在第二反應室內投加硅藻精土,在其中進行充分絮凝,再進入第二澄清室;⑥在第二澄清室內進一步進行泥水分離,分離后的上清液匯集為達標出水,后經消毒室消毒用作其它用處;⑦在第二澄清室內底部的污泥一部分回流至好氧室,另一部分排至脫水機;⑧經脫水機脫水后,將污泥排入儲泥室,脫水后的污水進入廢水調節池內再進行處理。
9.根據權利要求8所述的一種利用權利要求1所述的利用硅藻精土處理洗車廢水并循環利用的設備的處理方法,其特征在于,根據廢水調節池內污水水質的不同,在好氧室內的停留時間為2-4小時,向第一反應室投加硅藻精土的量為80-400ppm,向第二反應室投加硅藻精土的量為30 ppm。
說明書
利用硅藻精土處理洗車廢水并循環利用的設備及處理方法
技術領域
本發明屬于洗車廢水處理技術領域,具體涉及一種利用硅藻精土處理洗車廢水并循環利用的設備及處理方法。
背景技術
汽車在行駛過程中很容易受污染,車體和玻璃所粘附的污垢主要是塵埃,燃料燃燒不完全的油煙和空氣中漂浮的各種微粒等。底盤和車輪粘附的污垢主要是泥沙,路面瀝青,煤焦油和燃燒油等。它們重復污染或混合污染時,會形成粘附力很強的污垢。發動機中的污垢主要來自燃料。由于汽車各部位粘附的污垢類型不同,清洗時所用的洗滌劑及清洗方式也有差別。就洗滌劑成分而言,其主要成分為烷基酚聚氧乙烯醚等非離子表面活性劑以及起潤滑作用和光亮作用的陰離子表面活性劑,常用的為烷基硫酸鈉和磷酸醋鹽等。由此可以看出洗車廢水中主要的污染物為油類污物、泥沙、洗滌劑。由于清洗車輛類型的不同(小型車輛和大型運輸車)、洗車行功能不同(單純洗車與修車洗車相結合)、清洗方式不同(機械洗車與人工高壓水沖洗),洗車廢水污染物成分會有差異。但本質上洗車廢水水質相差不大。在有些情況下,洗車廢水中可能還含有重金屬。
油類是洗車廢水中的主要污染物質。因此,可以按油類污染物情況將洗車廢水分為兩大類:第一類是含油量少,含泥砂、洗滌劑較多的洗車廢水;第二類是含油量、泥砂、洗滌劑類物質均較高的洗車廢水,這類廢水的處理工藝相對復雜。
傳統洗車廢水的處理方法有以下幾類:
①采用傳統工藝沉淀-除油-過濾的處理工藝。運輸車輛場的洗車廢水多為修車后的含油廢水和洗車廢水的混合水,一般水量比較大。
在這個處理工藝中,沉砂槽、格柵的作用主要是對客車洗刷的污水進行初次沉淀,將大顆粒物質沉于沉砂槽中,水中大的懸浮物則被格柵攔截。斜板隔油池則用來處理漂浮油和沉淀較大顆粒物,可用集油器收集漂浮油,輸送至貯油池中。通過調節沉淀池對水量和水質進行調節后,在氣浮池中除去污水 中的乳化油和懸浮物。整個處理工藝所產生的污泥則被輸送至污泥干化場中干化。
這種傳統的處理工藝適用于普通的洗車廢水處理,但由于該流程有專門的除砂、除油工藝,占地面積較大,出水可滿足廢水排放標準但卻在總大腸桿菌、濁度等指標上不一定滿足《中華人民共和國生活雜用水水質標準》(GJ25.1-89)的回用洗車用水要求。因此,若需回用則還要有更為嚴格的深度處理工藝。
②電解法處理洗車廢水
除了采用上述的傳統處理工藝外,還有采用生物接觸氧化池、膜過濾等技術,也不乏采用電解的方法來對洗車廢水進行處理。以某市運輸場貨車洗刷廢水的處理為例,該廢水為機械修理和清理沖洗貨車及場地的廢水。處理這種廢水可以采用重力分離法和吸附聚結法,但是占地面積大,且處理效果不是十分理想。該運輸場采用電解槽處理法對洗車廢水進行了處理。
采用再循環結構的電解槽處理運輸車場含油廢水,除油、去除CODCr等指標均取得滿意的效果,處理后的水無嗅無味純凈透明,符合排放標準。不乏為處理含油量多洗車廢水的值得考慮的一個處理工藝。
③膜生物反應器
用膜生物反應器處理洗車廢水,沖洗汽車的污水與生活污水混合后進入污水沉砂隔油池,去除污水中比重較大的無機砂粒和浮油有利于后續膜生物反應器的處理,反應器中膜組件的主要功能是對污泥混合液進行泥水分離,濾出處理后的水。此法可以采用較高的污泥濃度(≥10g/L),剩余污泥排放量可達到最低限度,從而泥齡很長,可使世代周期長的細菌(如硝化菌)在反應器內得以截留和繁殖,并使出水被代謝物含量很低,水質穩定;占地小,運行管理簡單,易于實現自動化。但是必須采用連續的運行方式以保持活性污泥的活性,如間斷了較長時間后,罐體內的活性污泥會失去活性。且當膜生物反應器進水水溫低于8℃時,活性污泥的活性也將受到一定的影響,這必將導致出水的惡化。并且,該工藝需注意避免對微生物新陳代謝有抑制作用的消毒劑混入系統中,否則微生物的正常生理機能將受到破壞,也會使出水惡化。
因此,該工藝雖能達到良好的處理效果,但運行時受到的制約因素較多,且色度去除效果不甚理想,可考慮添加活性炭工藝,不但脫色,對洗滌劑及有機物的去除也有著良好的效果。
④物理處理法-膜濾法
物理處理法-膜濾法,適用于水量小而水質變化大的情況。一般是讓污水經過一系列的過濾介質,使得污水中含有的泥砂等大顆粒物質與一部分有機物質通過過濾機理得以去除。其過濾介質通常采用石英砂、活性炭、陶粒等。其中,多介質過濾器中可裝有石英砂等濾料以濾除水中的泥、砂、鐵銹、油污等;活性炭用來將水中的各種氣味、顏色、洗滌劑、肥皂等吸附去除;精密過濾器可將水中殘留的泥、砂、鐵銹、油污等過濾掉,從而保證最終出水水質;膜則將水中大分子化合物、粘土、顏料、礦物質、乳液粒子、微生物、潤滑脂、洗滌劑以及油、水乳液去除。此法運用過濾、吸附等物理原理將水中的污染物去除,出水效果良好;設備安裝簡便,軟硬管均可;占地面積小,使用經濟等。但是各工藝需要經常反洗,活性炭使用一段時間后需再生精密過濾中的濾芯也需定期更換等。并且進水需要有較好的水質,否則各工藝的使用壽命將會縮短。
⑤混凝-沉淀(吸附)-過濾-消毒
洗車廢水污染物以懸浮狀態、乳化狀態、膠體狀態及溶液狀態存在,其中主要是膠體污染微粒及因表面活性劑作用形成的乳化物。混凝可通過壓縮雙電層等作用使膠體脫穩,使其形成絮體沉淀,達到去除目的。粉末活性炭的加入可以吸附廢水中溶解性有機物,彌補混凝去除溶解性有機物效果不佳的缺點。過濾可明顯降低出水濁度,是提高出水水質的重要措施。最后通過加抓消毒保證出水安全性,達到回用目的。
⑥平流沉淀-混凝-二級氣浮-過濾-消毒
機動車清洗中心采用平流沉淀-混凝-二級氣浮-過濾-消毒工藝處理并回用洗車廢水,其最大日清洗能力為1860輛,水量較大。洗車廢水經收水管渠集中,自流到平流式沉淀池,去除較大的懸浮物及泥砂。出水加藥混凝進入氣浮池,氣浮采用加壓溶氣法。加壓溶氣水驟然減壓釋放的大量微氣泡與混凝形成的礬花粘附形成密度小于水的帶氣泡載體,載體上浮到水面,形成浮渣,達到除油凈化水質的目的。洗車廢水經沉淀池去除大量泥砂,經氣浮池去除油污、微小顆粒和膠體后,在雙氣浮綜合凈水器中,再經混凝、氣浮、沉淀后到濾池進行過濾,使水的濁度、BOD5、COD等達到回用水標淮,并在貯水池前加次氯酸鈉消毒。
綜上所述,洗車廢水的回用,目前各種工藝都存在一些缺陷僅采用混凝沉淀出水效果難以保證;采用砂濾或活性炭過濾吸附處理運行費用高;采用氣浮產品造價高;采用膜生物反應器時操作不靈活、產品適應性差。特別是針對小型洗車廢水處理與循環利用項目,尋找處理效果好,造價運行費用低的工藝有待進一步研發。
發明內容
本發明的目的在于提供一種利用硅藻精土處理洗車廢水并循環利用的設備及處理方法。本發明工藝成本少,出水水質好,運行成本低,全自動化控制,工藝適應能力強,沒有異味、臭味,剩余污泥不會造成二次污染。可應用到日處理1噸到500噸的洗車廢水處理回用項目上。
本發明采用的技術方案:利用硅藻精土處理洗車廢水并循環利用的設備,它包括廂體、廢水調節池、潛污泵、第一投料機、第一反應器、好氧室、回流泵、第二反應器、第二投料機、污泥脫水器和消毒室,在廂體內從左向右依次設置有廢水調節池、第一反應器、好氧室、第二反應器和消毒室,第一反應器由第一反應室和與第一反應室底部連通的第一澄清室組成,第二反應器由第二反應室和與第二反應室底部連通的第二澄清室組成,廢水調節池上方設置有第一投料機,廢水調節池通過其底部的潛污泵與第一反應室連通,第一澄清室與好氧室通過頂部連通,好氧室與第二反應室通過頂部連通,第二澄清室與消毒室通過頂部連通,好氧室與第二反應器的底部通過回流泵連通,在第二反應室上方設置有第二投料機;污泥脫水器與第一反應器和第二反應器連通,污泥脫水器與廢水調節池連通。
進一步地,污泥脫水器由脫水機和儲泥室組成,脫水機與儲泥室連通,脫水機與廢水調節池連通。
進一步地,在好氧室底部設置有曝氧管路、溶氧測量儀和水位測量儀,曝氧管路通過鼓風機通氣。
進一步地,廂體為由方鋼制成的長方體骨架結構,并通過鋼板將各容器焊接成密封結構,在廂體底部設置有便于調節水平的調節器,在廂體四壁設置有保溫層。
進一步地,在第一澄清室和第二澄清室內設置有超濾層。
進一步地,在廢水調節池的底部設置一攪拌機,并在側壁上固定一液位計。
進一步地,包括自動控制器,自動控制器分別與液位計、溶氧測量儀、攪拌機、水位測量儀、第一投料機、第二投料機、回流泵和鼓風機連接,實現自動調節控制。
一種利用上述硅藻精土處理洗車廢水并循環利用的設備的處理方法,該方法包括以下步驟:①在廢水調節池內通過攪拌機把污水混勻,同時向其中投加硅藻精土;②廢水調節池內的污水經潛污泵提升至第一反應室,污水在第一反應室內吸附聚合后進入第一澄清室;③在第一澄清室內進行泥水分離,污泥進入脫水機,分離后的上清液自流進入好氧室;④在好氧室內進行充分曝氣,降解有機物并去除氨氮和洗滌劑等污染物,然后自流進入第二反應室;⑤在第二反應室內投加硅藻精土,在其中進行充分絮凝,再進入第二澄清室;⑥在第二澄清室內進一步進行泥水分離,分離后的上清液匯集為達標出水,后經消毒室消毒用作其它用處;⑦在第二澄清室內底部的污泥一部分回流至好氧室,另一部分排至脫水機;⑧經脫水機脫水后,將污泥排入儲泥室,脫水后的污水進入廢水調節池內再進行處理。
進一步地,根據廢水調節池內污水水質的不同,在好氧室內的停留時間為2-4小時,向第一反應室投加硅藻精土的量為80-400ppm,向第二反應室投加硅藻精土的量為30 ppm。
本發明與現有技術相比其有益效果是:①本發明方法與設備不需要深度處理,出水即可達標,硅藻精土在反應器內形成的穩定泥渣層,可以有效地攔截混合液中的污泥、微生物、重金屬等,絮凝沉降效果好,泥水分離徹底,出水水質好;②本發明方法與設備出水清澈透明,無任何異味臭味,硅藻精土納米微孔可以將水中的臭味吸附去除,同時將色度吸附去除,使得出水效果好,清澈透明;③本發明方法與設備投資成本少,運營費用低,本方法不需要活性炭與膜,不存在活性炭的更換再生或者膜的反沖洗以及更換;利用硅藻精土對油類和洗滌劑的吸附去除,不需要氣浮等設備,因此投資成本少,運營費用低;④本發明方法與設備實現全自動控制,不需要反沖洗等過程,通過在線儀表的實時監控,進行全自動化控制,實現了無人管理;⑤本發明方法與設備適應范圍廣,可應用到小型項目上,設備可應用到日處理1噸到500噸的洗車廢水處理回用項目,大于500噸的項目可建設廢水處理廠;⑥本發明方法與設備節能、無二次污染,本方法不投加聚合氯化鋁等混凝劑,也不需要投加聚丙烯酰胺等絮凝劑,污泥不會對土壤造成二次污染。
利用本發明方法及設備處理污水后的水質與處理前的兩種水質對比見下表1。
項目 第一類水質情況 第二類水質情況 本發明處理后的水質 回用水質國家標準 PH 7.62 5.72 7-8 6.5-9.0 CODCr(mg/L) 244 516 45-50 50 BOD(mg/L) 34.2 85 9-10 10 陰離子洗滌劑(mg/L) 2.6 1.742 0.5-0.8 0.5 SS(mg/L) 89 206 5-10 5 石油類(mg/L) 2 7.4 0.4-0.6 0.4






