申請日2015.06.10
公開(公告)日2015.08.26
IPC分類號C02F11/18; C02F11/12
摘要
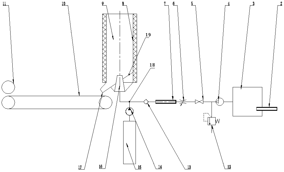
本發明公開了一種污泥脫水烘干成型系統,包括A加熱管、氣泵、管道以及頂部敞開的擴散塔,擴散塔下端一側設有出料口,擴散塔內腔下部設有與出料口連接的可將污泥引向出料口的斜坡,擴散塔內腔底部設有可將管道中的氣體以及污泥呈輻射狀噴射入擴散塔中的噴嘴,污泥呈顆粒狀附著在擴散塔內壁,噴嘴出口朝上,噴嘴進口端通過管道連接氣泵,氣泵和噴嘴之間設有A加熱管;A加熱管與噴嘴之間的管道上分叉連接有污泥泵,污泥泵從污泥池抽取污泥輸入管道中。本系統的熱空氣與污泥充分接觸且接觸面積大大提高,烘干效率高,脫水效果好。多級加熱設施可對熱空氣流量及溫度進行調節,進而可控制污泥的除水比例,能耗更小。
摘要附圖
權利要求書
1.一種污泥脫水烘干成型系統,其特征在于:包括A加熱管、氣泵、管道以及頂部敞開的擴散塔,擴散塔下端一側設有出料口,擴散塔內腔下部設有與出料口連接的可將污泥引向出料口的斜坡,擴散塔內腔底部設有可將管道中的氣體以及污泥呈輻射狀噴射入擴散塔中的噴嘴,污泥呈顆粒狀附著在擴散塔內壁,噴嘴出口朝上,噴嘴進口端通過管道連接氣泵,氣泵和噴嘴之間設有A加熱管;
A加熱管與噴嘴之間的管道上分叉連接有污泥泵,污泥泵從污泥池抽取污泥輸入管道中。
2.根據權利要求1所述的污泥脫水烘干成型系統,其特征在于:所述A加熱管與管道分叉點之間設有防止氣體回流的單向閥。
3.根據權利要求1所述的污泥脫水烘干成型系統,其特征在于:所述A加熱管的進氣端設有空氣過濾器。
4.根據權利要求1所述的污泥脫水烘干成型系統,其特征在于:所述擴散塔的側壁設有加熱保溫層。
5.根據權利要求1~4任一項所述的污泥脫水烘干成型系統,其特征在于:還包括熱空氣儲備箱和B加熱管,B加熱管的出口端與熱空氣儲備箱的進口連接,熱空氣儲備箱的出口端與氣泵進氣端通過管道連接;
氣泵和A加熱管之間依次設有截止閥和節流閥。
6.根據權利要求5所述的污泥脫水烘干成型系統,其特征在于:所述氣泵的出氣端并聯有對系統過載保護的溢流閥。
7.根據權利要求6所述的污泥脫水烘干成型系統,其特征在于:所述B加熱管的進氣端設有空氣過濾器。
8.根據權利要求7所述的污泥脫水烘干成型系統,其特征在于:所述出料口下方設有皮帶輸送機,皮帶輸送機的輸出端設有可將脫水后的污泥壓制成型的壓力滾筒。
9.根據權利要求1~4任一項所述的污泥脫水烘干成型系統,其特征在于:所述出料口下方設有皮帶輸送機,皮帶輸送機的輸出端設有可將脫水后的污泥壓制成型的壓力滾筒。
說明書
一種污泥脫水烘干成型系統
技術領域
本發明屬于污泥處理領域,具體涉及一種污泥脫水烘干成型系統。
背景技術
目前的污泥干化脫水方式主要有以下幾種:
1.離心脫水:通過離心力將污泥中的水分甩出,但由于污泥的泥、水粘合度高,靠離心力將水分脫到60%乃至一下特別困難,且能量消耗大。
2.壓榨脫水:將污泥漿放入帆布袋中捆緊,通過壓力機壓榨擠出水分,但此種方式能量消耗大,壓力機運行過程緩慢除水效率低。
3.加入石灰混合物進行脫水:其利用的原理是石灰的吸水性,由于石灰本身可以吸水,可與污泥中的水分發生反應,將水分除去。但是這種方式會導致污泥活性消失,干化后的污泥沒有用處;而且,后續在處理這些干化的污泥和石灰的混合物時很困難;此外,由于需要大量使用石灰,使得該種方式成本高。
發明內容
針對上述問題,本發明旨在提供干化脫水效果好,除水效率高,能量消耗小的污泥脫水烘干成型系統。
本發明解決問題的技術方案是:一種污泥脫水烘干成型系統,包括A加熱管、氣泵、管道以及頂部敞開的擴散塔,擴散塔下端一側設有出料口,擴散塔內腔下部設有與出料口連接的可將污泥引向出料口的斜坡,擴散塔內腔底部設有可將管道中的氣體以及污泥呈輻射狀噴射入擴散塔中的噴嘴,污泥呈顆粒狀附著在擴散塔內壁,噴嘴出口朝上,噴嘴進口端通過管道連接氣泵,氣泵和噴嘴之間設有A加熱管;
A加熱管與噴嘴之間的管道上分叉連接有污泥泵,污泥泵從污泥池抽取污泥輸入管道中。
進一步的,所述A加熱管與管道分叉點之間設有防止氣體回流的單向閥。
為防止設備運行過程中,擴散塔的熱量流失過快,所述擴散塔的側壁設有加熱保溫層,以使得污泥能夠盡快被熱空氣烘干。
為使得整個系統能夠有效的調節加熱空氣的溫度以及輸送量,該系統還包括熱空氣儲備箱和B加熱管,B加熱管的出口端與熱空氣儲備箱的進口連接,熱空氣儲備箱的出口端與氣泵進氣端通過管道連接;氣泵和A加熱管之間依次設有截止閥和節流閥。
為保護系統的安全,所述氣泵的出氣端并聯有對系統過載保護的溢流閥。
進一步的,為使得所進入的空氣更純凈,所述A加熱管和B加熱管的進氣端設有空氣過濾器。
優選的,所述出料口下方設有皮帶輸送機,皮帶輸送機的輸出端設有可將脫水后的污泥壓制成型的壓力滾筒,壓制成型后便于儲存運輸。
該系統的運行過程為:空氣在氣泵的作用下從B加熱管進入,在B加熱管中對空氣進行初級加熱,之后熱空氣進入熱空氣儲備箱,途徑氣泵及各閥門到達A加熱管,在A加熱管中再次將空氣進行加熱,并經管道輸送至噴嘴處;
與此同時,污泥泵從污泥池抽取污泥并輸送至噴嘴處,壓縮的熱空氣將污泥漿經噴嘴呈輻射狀噴入擴散塔,經噴嘴噴出的污泥為顆粒狀,附著在擴散塔內壁,熱空氣充分擴散至整個擴散塔空間。熱空氣將水分與污泥漿分離并從擴散塔頂部釋放到空氣中,被烘干的污泥由于自重下沉至擴散塔下部的斜坡,最終由出料口輸出至皮帶輸送機。皮帶輸送機將污泥輸送至其尾部,由壓力滾筒將污泥軋至成型。
該系統中主要部件的作用如下:
熱空氣儲備箱:用于儲存熱空氣,以便通過控制其排出熱空氣量的多少來控制熱空氣在管道中的流量。
擴散塔:熱空氣將污泥烘干的場所,其加熱保溫層可保持擴散塔內的溫度在恒定的范圍內。
噴嘴:用于將污泥和熱空氣噴入擴散塔,從噴嘴噴出的污泥為細小的顆粒狀。
A加熱管和B加熱管:對空氣進行加熱。在初級加熱和二級加熱時,加熱的溫度根據污泥干化脫水所需的溫度進行設定,設定兩級加熱的目的在于可以在運行過程中對空氣溫度進行調節,二級加熱可以根據實際情況開啟或關閉。
本發明的顯著效果是:
1.由于設置了噴嘴結構,經噴嘴噴出的顆粒狀的污泥附著在擴散塔內壁之后,熱空氣與污泥充分接觸且接觸面積大大提高,烘干效率較傳統方式顯著提高。由于污泥為細小顆粒,充分暴露,熱空氣帶走水分更徹底,脫水效果更好。經實踐證明,該系統脫水后的污泥含水量可至50%以下。
2.多級加熱管、熱空氣儲備箱以及各種閥的設置使得系統運行過程中可根據實際污泥含水量的情況對熱空氣流量,熱空氣溫度進行調節,進而可控制污泥的除水比例。避免了不必要的能耗損失,而且用空氣烘干的方式脫水,能量消耗更小。






