申請日2015.06.10
公開(公告)日2015.09.16
IPC分類號C02F9/04
摘要
本發明一種石化廢水二級出水的處理方法,包括以下步驟:⑴向反應池中加入總有機碳濃度為25~35mg/L的石化廢水二級出水,配制濃度為50~350g/L的H2O2溶液;⑵向反應池中通入O3,控制O3與石化廢水二級出水中總有機碳的質量比為1.0~3.0:1.0,反應≥10分鐘;⑶向反應池中持續通入O3,控制O3投加量與步驟⑵ O3投加量的比值為2.0~3.0:1.0;同時投加步驟⑴配制的H2O2溶液,H2O2投加量與步驟⑶ O3投加量的質量比為0.3~1.0:1.0,反應≥20分鐘;⑷反應結束打開反應池排水系統將處理后的二級出水排出。本發明利用分段式投加O3和H2O2的方法處理石化廢水二級出水,能有效處理二級出水中的污染物,成本低,可用于規;幚。
摘要附圖
權利要求書
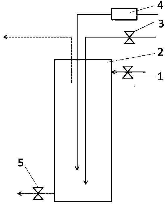
1.一種石化廢水二級出水的處理方法,其特征在于,包括以下步驟:
(1)向反應池中加入待處理的石化廢水二級出水,所述石化廢水二級出水是總有機碳濃度為25~35mg/L的石化廢水二級出水;配制過氧化氫(H2O2)溶液,控制過氧化氫溶液的濃度為50~350g/L;
(2)向步驟(1)反應池的石化廢水二級出水中持續通入臭氧(O3),控制臭氧與石化廢水二級出水中總有機碳的質量比為1.0~3.0:1.0,反應時間≥10分鐘;
(3)繼續向步驟(2)反應池的石化廢水二級出水中通入臭氧,控制臭氧投加量與步驟(2)臭氧投加量的比值為2.0~3.0:1.0;同時投加步驟(1)配制的過氧化氫溶液,將投加的過氧化氫與步驟(3)投加的臭氧的質量比控制在0.3~1.0:1.0,反應時間≥20分鐘;
(4)反應結束后,打開反應池的排水系統,將處理后的石化廢水二級出水排出。
2. 根據權利要求1所述的一種石化廢水二級出水的處理方法,其特征在于,在所述步驟(2)與步驟(3)的轉換間隙,保持臭氧的持續通入。
說明書
一種石化廢水二級出水的處理方法
技術領域
本發明涉及廢水處理技術領域,具體地說,是一種利用分段式投加臭氧和過氧化氫的方法處理石化廢水的二級出水,使石化廢水二級出水能夠達到國家規定的排放標準。
背景技術
環境保護是當今深受人們關注的行業。廢水處理是環保工作的主要內容之一,F代社會對石油的嚴重依賴使石油化工行業飛速發展。但是,石油化工行業上下游企業所產生的化工廢水多具有化學需氧量(COD)高、鹽度高、毒性大等特點,會對自然水環境造成嚴重危害,因此必須經過有效處理達到排放標準后才能排放。由于石化廢水中的某些組分難以生化降解,經過傳統的生物處理法處理后,石化廢水二級出水可能無法達到排放標準,因此,必須采用深度處理法做進一步的處理。
目前,石化廢水二級出水的深度處理在廢水處理領域備受關注。國內對石化廢水二級出水的深度處理方法主要為臭氧單一氧化法,其優點是工藝簡單;其不足是,臭氧(O3)利用率低,對污染物的去除不徹底,耗能多、費用高。其他對石化廢水二級出水在應用的處理方法或者在研究的處理方法有:
(1)臭氧-過氧化氫高級氧化法,其原理是:同步加入臭氧(O3)和過氧化氫(H2O2),利用過氧化氫的催化作用,增加臭氧氧化過程中產生的羥基自由基,加快反應速率,提高臭氧利用率,提高氧化能力,從而快速有效地去除污染物;其不足是,氧化過程初期臭氧單一處理效率較高,此時過氧化氫的加入不會對處理效率產生顯著影響,相反會增加藥劑成本。
(2)臭氧-紫外線高級氧化法,其原理是:利用紫外線增加臭氧氧化過程中產生的羥基自由基,加快反應速率,提高氧化能力,從而快速有效地去除污染物;其不足是,使用的設備比較復雜,在已有的臭氧單一氧化系統上進行改造的難度大,能耗高。
(3)臭氧-金屬催化高級氧化法,其原理是:利用金屬催化劑的催化作用增加臭氧氧化過程中產生的羥基自由基,加快反應速率,提高氧化能力,從而快速有效地去除污染物;其不足是,使用的設備比較復雜,維護難度大,此外,金屬催化劑的使用可能會對出水水質造成二次污染。
發明內容
本發明的目的在于克服現有技術的不足,提供一種石化廢水二級出水的處理方法,它利用分段式投加臭氧(O3)和過氧化氫(H2O2)的方法處理石化廢水的二級出水,能夠有效地處理石化廢水二級出水中的污染物,具有處理成本低、效率高、操作簡單和能耗低的特點,處理后的石化廢水二級出水能夠達到國家規定的排放標準。
為實現上述目的,本發明采取了以下技術方案。
一種石化廢水二級出水的處理方法,其特征在于,包括以下步驟:
(1)向反應池中加入待處理的石化廢水二級出水,所述石化廢水二級出水是總有機碳濃度為25~35mg/L的石化廢水二級出水;配制過氧化氫溶液,控制過氧化氫溶液的濃度為50~350g/L;
(2)向步驟(1)反應池的石化廢水二級出水中持續通入臭氧(O3),控制臭氧與石化廢水二級出水中總有機碳的質量比為1.0~3.0:1.0,反應時間≥10分鐘;
(3)繼續向步驟(2)反應池的石化廢水二級出水中通入臭氧,控制臭氧投加量與步驟(2)臭氧投加量的比值為2.0~3.0:1.0;同時投加步驟(1)配制的過氧化氫溶液,將投加的過氧化氫與步驟(3)投加的臭氧的質量比控制在0.3~1.0:1.0,反應時間≥20分鐘;
(4)反應結束后,打開反應池的排水系統,將處理后的石化廢水二級出水排出。
進一步,在所述步驟(2)與步驟(3)的轉換間隙,保持臭氧的持續通入。
本發明的積極效果是:
(1)利用分段式投加臭氧和過氧化氫的方法處理石化廢水二級出水,能夠有效處理石化廢水二級出水中的污染物,處理效果好,成本低,可用于規模化處理。
(2)分段式投加臭氧和過氧化氫,避免了過氧化氫在氧化反應初期階段的無效使用,藥劑消耗量小,降低了處理成本。
(3)操作簡單,能耗低,處理后的石化廢水二級出水能夠達到國家規定的排放標準。






