申請日2016.05.27
公開(公告)日2016.12.07
IPC分類號E03B3/02; E03B1/04; E04D13/04; C02F9/08; C02F9/10
摘要
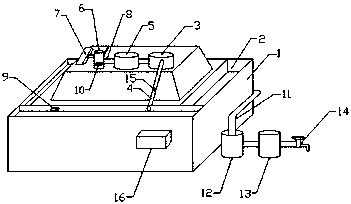
本實用新型公開了一種綠色建筑的集水處理裝置,包括房屋本體,房屋本體的頂端設有若干集水槽,集水槽側壁上安裝有水位檢測器,集水槽通過第一抽水管和第一抽水泵連接,第一抽水管內設有閥門,第一抽水泵通過輸水管和凈化裝置連接,凈化裝置通過輸水管和第一集水箱連接,第一集水箱的頂端內壁上安裝有防溢流探桿,第一集水箱的一側設有太陽能熱水器,太陽能熱水器上設有進水口,凈化裝置通過輸水管和進水口連接,房屋本體側壁上安裝有控制器,水位檢測器和控制器電性連接,控制器和第一抽水泵電性連接,防溢流探桿和控制器電性連接,控制器和第二抽水泵電性連接,本實用新型結構簡單,提高水資源的利用率,節約水資源。
摘要附圖
權利要求書
1.一種綠色建筑的集水處理裝置,包括房屋本體(1),其特征在于,所述房屋本體(1)的頂端設有若干集水槽(2),所述集水槽(2)靠近所述房屋本體(1)頂端邊緣處,所述集水槽(2)側壁上安裝有水位檢測器(9),所述集水槽(2)通過第一抽水管(4)和第一抽水泵(3)連接,所述第一抽水管(4)內設有閥門(15),所述第一抽水泵(3)通過輸水管(8)和凈化裝置(5)連接,所述凈化裝置(5)通過所述輸水管(8)和第一集水箱(6)連接,所述第一集水箱(6)的頂端內壁上安裝有防溢流探桿(10),所述第一集水箱(6)的一側設有太陽能熱水器(7),所述太陽能熱水器(7)上設有進水口,所述凈化裝置(5)通過所述輸水管(8)和所述進水口連接,所述房屋本體(1)側壁上安裝有控制器(16)。
2.根據權利要求1所述的一種綠色建筑的集水處理裝置,其特征在于,所述第一集水箱(6)通過第二抽水管(11)和第二抽水泵(12)連接,所述第二抽水泵(12)的一側設有第二集水箱(13),所述第二集水箱(13)上安裝有水龍頭(14)。
3.根據權利要求1所述的一種綠色建筑的集水處理裝置,其特征在于,所述凈化裝置(5)由紫外線消毒殺菌燈(501)、過濾網(502)和活性炭過濾網(503)組成,所述紫外線消毒殺菌燈(501)安裝在所述凈化裝置(5)頂端的內壁上,所述過濾網(502)的一側設有所述活性炭過濾網(503)。
4.根據權利要求2所述的一種綠色建筑的集水處理裝置,其特征在于,所述水位檢測器(9)和所述控制器(16)電性連接,所述控制器(16)和所述第一抽水泵(3)電性連接,所述防溢流探桿(10)和所述控制器(16)電性連接,所述控制器(16)和所述第二抽水泵(12)電性連接。
說明書
一種綠色建筑的集水處理裝置
技術領域
本實用新型涉及一種綠色建筑,特別涉及一種綠色建筑的集水處理裝置。
背景技術
綠色建筑并不是指一般意義的立體綠化、屋頂花園,而是代表一種概念或象征,指建筑對環境無害,能充分利用環境自然資源,并且在不破壞環境基本生態平衡條件下建造的一種建筑,又可稱為可持續發展建筑、生態建筑、回歸大自然建筑、節能環保建筑等。綠色建筑評價體系共有六類指標,由高到低劃分為三星、二星和一星。綠色建筑的室內布局十分合理,盡量減少使用合成材料,充分利用陽光,節省能源,為居住者創造一種接近自然的感覺。以人、建筑和自然環境的協調發展為目標,在利用天然條件和人工手段創造良好、健康的居住環境的同時,盡可能地控制和減少對自然環境的使用和破壞,充分體現向大自然的索取和回報之間的平衡。
隨著科技的快速發展,人們越來注重環保,因此有人提出了綠色建筑,即節約型建筑,一般下雨天,雨水都是任意流,為了節約水資源,在綠色建筑的基礎上設計出集水裝置,用雨水來進行澆花,但是雨水中含有一定的雜質和細菌,現在大多數家庭都安裝了太陽能熱水器,但是現有的熱水器都是抽取自來水供應,如果能將雨水收集并處理,可以給熱水器供水,減少水資源的浪費,提高水資源的利用率,因此設計一種綠色建筑的集水處理裝置的集水處理裝置非常重要。
實用新型內容
本實用新型提供一種綠色建筑的集水處理裝置,通過設有凈化裝置,解決了現有的集水裝置不能直接將水體供應給熱水器的問題。
為了解決上述技術問題,本實用新型提供了如下的技術方案:
本實用新型一種綠色建筑的集水處理裝置,包括房屋本體,所述房屋本體的頂端設有若干集水槽,所述集水槽靠近所述房屋本體頂端邊緣處,所述集水槽側壁上安裝有水位檢測器,所述集水槽通過第一抽水管和第一抽水泵連接,所述第一抽水管內設有閥門,所述第一抽水泵通過輸水管和凈化裝置連接,所述凈化裝置通過所述輸水管和第一集水箱連接,所述第一集水箱的頂端內壁上安裝有防溢流探桿,所述第一集水箱的一側設有太陽能熱水器,所述太陽能熱水器上設有進水口,所述凈化裝置通過所述輸水管和所述進水口連接,所述房屋本體側壁上安裝有控制器。
作為本實用新型的一種優選技術方案,所述第一集水箱通過第二抽水管和第二抽水泵連接,所述第二抽水泵的一側設有第二集水箱,所述第二集水箱上安裝有水龍頭。
作為本實用新型的一種優選技術方案,所述凈化裝置由紫外線消毒殺菌燈、過濾網和活性炭過濾網組成,所述紫外線消毒殺菌燈安裝在所述凈化裝置頂端的內壁上,所述過濾網的一側設有所述活性炭過濾網。
作為本實用新型的一種優選技術方案,所述水位檢測器和所述控制器電性連接,所述控制器和所述第一抽水泵連接,所述防溢流探桿和所述控制器電性電性連接,所述控制器和所述第二抽水泵電性連接。
本實用新型所達到的有益效果是:本實用新型結構簡單,提高水資源的利用率,節約水資源。


