申請日2016.05.05
公開(公告)日2016.11.30
IPC分類號C02F11/12
摘要
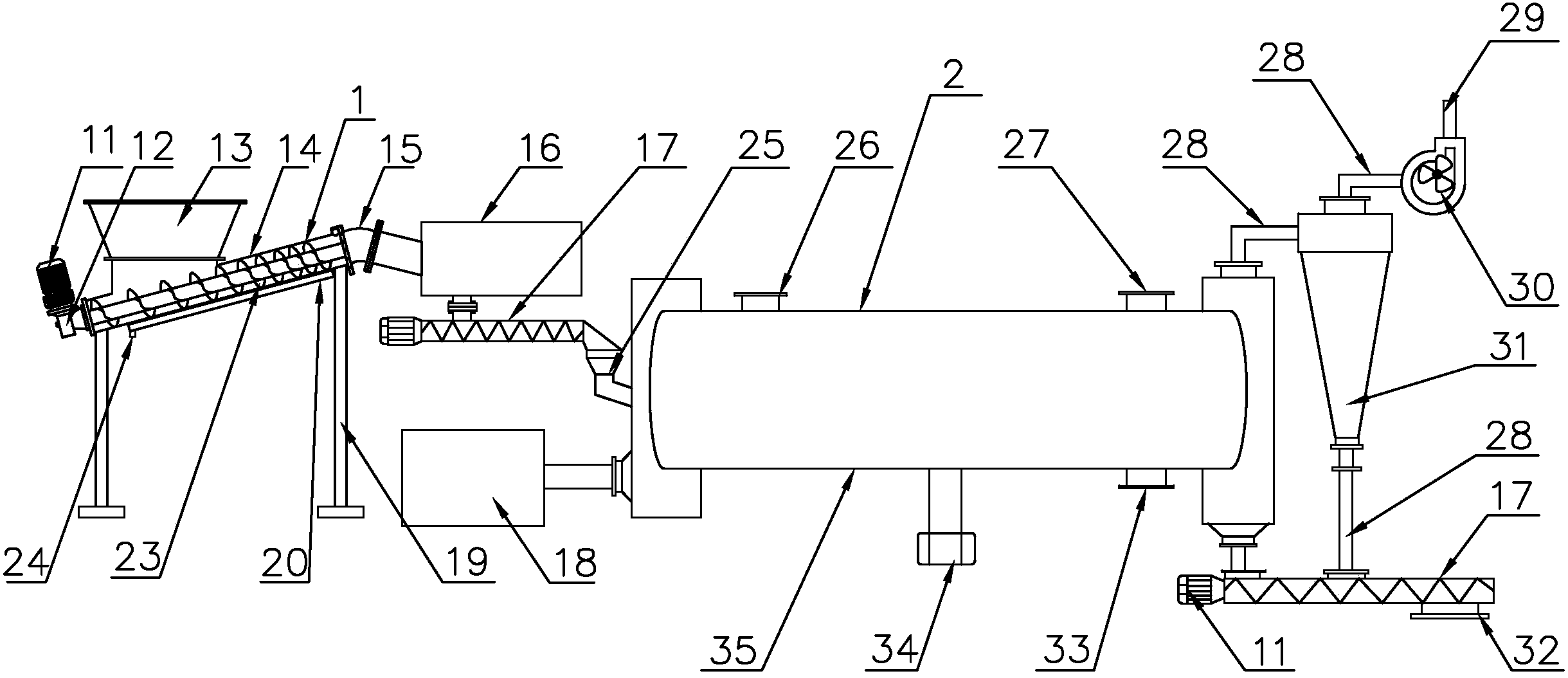
本實用新型公開了一種新型高效污泥烘干設備,包括螺旋壓榨機、污泥烘干機,所述螺旋壓榨機包括支腿、電機、減速器、料筒、料斗、螺旋傳動軸、螺旋葉片、集水槽、出水口、彎頭、篩網,所述彎頭另一端通過管道與污泥烘干機連接,所述污泥烘干機包括預加熱爐、電機、螺旋輸送機、煤氣發生爐、干燥筒、冷凝水出口、空氣入口、蒸汽出口、排空管、引風機、旋風除塵器、出泥口、管道。本實用新型烘干前先將污泥脫水處理,降低污泥中的水分,增加污泥的含固率,縮短了烘干周期,污泥烘干效率高,污泥烘干效果好,減少了污泥在烘干和排放過程中的煙塵,保護了使用者的身體不受煙塵危害,降低了環境治理的成本。
權利要求書
1.一種新型高效污泥烘干設備,包括螺旋壓榨機、污泥烘干機,其特征在于所述螺旋壓榨機包括支腿、電機、減速器、料筒、料斗、螺旋傳動軸、螺旋葉片、集水槽、出水口、彎頭、篩網,所述支腿一側設有電機,所述電機一側設有減速器,所述電機通過減速器與螺旋傳動軸連接,所述螺旋傳動軸上設有螺旋葉片,所述螺旋傳動軸安裝在料筒內部,所述料筒截面為圓形,所述料筒上部設有料斗,所述料筒下部設有集水槽,所述集水槽上部設有篩網,所述篩網上設有若干均布的篩孔,所述集水槽一端設有出水口,所述料筒一端設有彎頭,所述料筒通過法蘭盤與彎頭一端連接;
所述彎頭另一端通過管道與污泥烘干機連接,所述污泥烘干機包括預加熱爐、電機、螺旋輸送機、煤氣發生爐、干燥筒、冷凝水出口、空氣入口、蒸汽出口、排空管、引風機、旋風除塵器、出泥口、管道;所述預加熱爐通過管道與彎頭連接,所述預加熱爐一側設有螺旋輸送機,所述螺旋輸送機一側設有電機,所述螺旋輸送機一側設有煤氣發生爐,所述煤氣發生爐一側設有干燥筒,所述干燥筒一側設有集料斗,所述集料斗通過管道與預加熱爐連接,所述干燥筒通過管道與煤氣發生爐連接,所述干燥筒上部一側設有空氣入口,所述干燥筒上部另一側設有蒸汽出口,所述干燥筒下部一側設有冷凝水出口;所述干燥筒一側設有旋風除塵器,所述旋風除塵器通過管道與干燥筒連接,所述旋風除塵器上部設有引風機,所述引風機一側設有排空管,所述旋風除塵器一側通過管道與螺旋輸送機連接,所述螺旋輸送機一側設有出泥口。
2.根據權利要求1所述的一種新型高效污泥烘干設備,其特征在于所述螺旋葉片為變螺距螺旋葉片。
3.根據權利要求1所述的一種新型高效污泥烘干設備,其特征在于所述干燥筒一側設有風機。
說明書
一種新型高效污泥烘干設備
技術領域
本實用新型屬于污泥處理設備技術領域,特別涉及一種新型高效污泥烘干設備。
背景技術
隨著國家經濟實力的增強,國民環保意識的提高,污水處理行業得到迅速發展,污泥的產量與日俱增,污泥的處置和開發利用問題日益為人們所關注;污泥烘干設備是將各類活性有機污泥烘干,然后制造污泥生物有機肥的烘干設備。污泥的干化處理,使污泥農用、作為燃料使用、焚燒乃至為減少填埋場地等處理方法成為可能,適于烘干污泥、金屬和非金屬礦的磁、重、浮精礦及水泥工業的粘土等多個行業,它的特點是生產率高,操作方便;筒體是臥式回轉圓筒,其內部從前至后焊有交錯排列角度不同的各式抄板,筒體體內根據用戶需求不同,內部設計配備使用耐火材料隔溫,在進料端為防止倒料設有門圈及螺旋抄板,具有結構合理,制作精良,產量高,能耗低,運轉方便等優點;現有的污泥烘干設備烘干周期長,烘干效果差,而且污泥烘干設備在烘干和排泥過程中產生大量塵土,危害操作人員的身體健康;另外,塵土造成環境污染,環境治理帶來困難,增加了環境治理的成本。
發明內容
本實用新型的目的是克服現有技術中不足,提供一種新型高效污泥烘干設備,烘干前先將污泥脫水處理,降低污泥中的水分,增加污泥的含固率,縮短了烘干周期,污泥烘干效率高,污泥烘干效果好,減少了污泥在烘干和排放過程中的煙塵,保護了使用者的身體不受煙塵危害,降低了環境治理的成本。
為了實現上述目的,本實用新型采用的技術方案是:
一種新型高效污泥烘干設備,包括螺旋壓榨機、污泥烘干機,所述螺旋壓榨機包括支腿、電機、減速器、料筒、料斗、螺旋傳動軸、螺旋葉片、集水槽、出水口、彎頭、篩網,所述支腿一側設有電機,所述電機一側設有減速器,所述電機通過減速器與螺旋傳動軸連接,所述螺旋傳動軸上設有螺旋葉片,所述螺旋傳動軸安裝在料筒內部,所述料筒截面為圓形,所述料筒上部設有料斗,所述料筒下部設有集水槽,所述集水槽上部設有篩網,所述篩網上設有若干均布的篩孔,防止污泥流入集水槽造成堵塞;所述集水槽一端設有出水口,用于排放污泥分離出的水分;所述料筒一端設有彎頭,所述料筒通過法蘭盤與彎頭一端連接;
所述彎頭另一端通過管道與污泥烘干機連接,所述污泥烘干機包括預加熱爐、電機、螺旋輸送機、煤氣發生爐、干燥筒、冷凝水出口、空氣入口、蒸汽出口、排空管、引風機、旋風除塵器、出泥口、管道;所述預加熱爐通過管道與彎頭連接,所述預加熱爐將脫水后的污泥進行預加熱,縮短了后續烘干的時間,提高了烘干的效率和效果;所述預加熱爐一側設有螺旋輸送機,螺旋輸送機在輸送濕泥的過程中對污泥進行擠壓,濾出一部分水分,縮短了后續烘干的時間;所述螺旋輸送機一側設有電機,電機為螺旋輸送機提供動力驅動,所述螺旋輸送機一側設有煤氣發生爐,煤氣發生爐為烘干機提供熱量,所述煤氣發生爐一側設有干燥筒,所述干燥筒一側設有集料斗,所述集料斗通過管道與預加熱爐連接,所述干燥筒通過管道與煤氣發生爐連接,所述干燥筒上部一側設有空氣入口,所述干燥筒上部另一側設有蒸汽出口,所述干燥筒下部一側設有冷凝水出口;所述干燥筒一側設有旋風除塵器,所述旋風除塵器通過管道與干燥筒連接,所述旋風除塵器上部設有引風機,所述引風機一側設有排空管,所述旋風除塵器一側通過管道與螺旋輸送機連接,所述螺旋輸送機一側設有出泥口。
優選的,所述螺旋葉片為變螺距螺旋葉片,污泥在料筒中被變螺距螺旋葉片提升擠壓,污泥所受的擠壓力逐漸變大,污泥中的水分逐漸被擠壓出來,增強了污泥的擠壓效果,降低了污泥中的含水量,提高了污泥的含固率。
優選的,所述干燥筒一側設有風機,所述風機將煤氣發生爐產生的熱量在干燥筒內與污泥均勻接觸,避免了干燥筒內不同位置溫度不同,污泥的受熱不均勻;提高了污泥的烘干的效果,延長了干燥筒的使用壽命。
本實用新型與現有技術相比較有益效果表現在:
1)設備在烘干前先將污泥脫水處理,降低污泥中的水分,增加污泥的含固率,縮短了烘干周期,污泥烘干效率高,污泥烘干效果好,減少了污泥在烘干和排放過程中的煙塵,保護了使用者的身體不受煙塵危害,降低了環境治理的成本;
2)螺旋葉片為變螺距螺旋葉片,污泥在料筒中被變螺距螺旋葉片提升擠壓,污泥所受的擠壓力逐漸變大,污泥中的水分逐漸被擠壓出來,增強了污泥的擠壓效果,降低了污泥中的含水量,提高了污泥的含固率;
3)干燥筒一側設有風機,風機將煤氣發生爐產生的熱量在干燥筒內與污泥均勻接觸,避免了干燥筒內不同位置溫度不同,污泥的受熱不均勻;提高了污泥的烘干的效果,延長了干燥筒的使用壽命。



