申請日2016.05.05
公開(公告)日2016.11.30
IPC分類號B02C17/18
摘要
本實用新型提出了一種球磨機收塵管廢水收集裝置,其包括與球磨機連接的收塵出風管,在收塵出風管的底部設觀察門,在收塵出風管內觀察門的下部連設排水管,排水管的另一端與磨機循環水池連接。本實用新型收塵風機在運行中,當水份通過收塵管管道排出遇冷空氣形成大量水滴時與風帽相撞下落,實現對收塵排水進行收集,再利用排水管管道輸送至磨機循環水池,達到了廢水再利用、改善現場環境的目的。
權利要求書
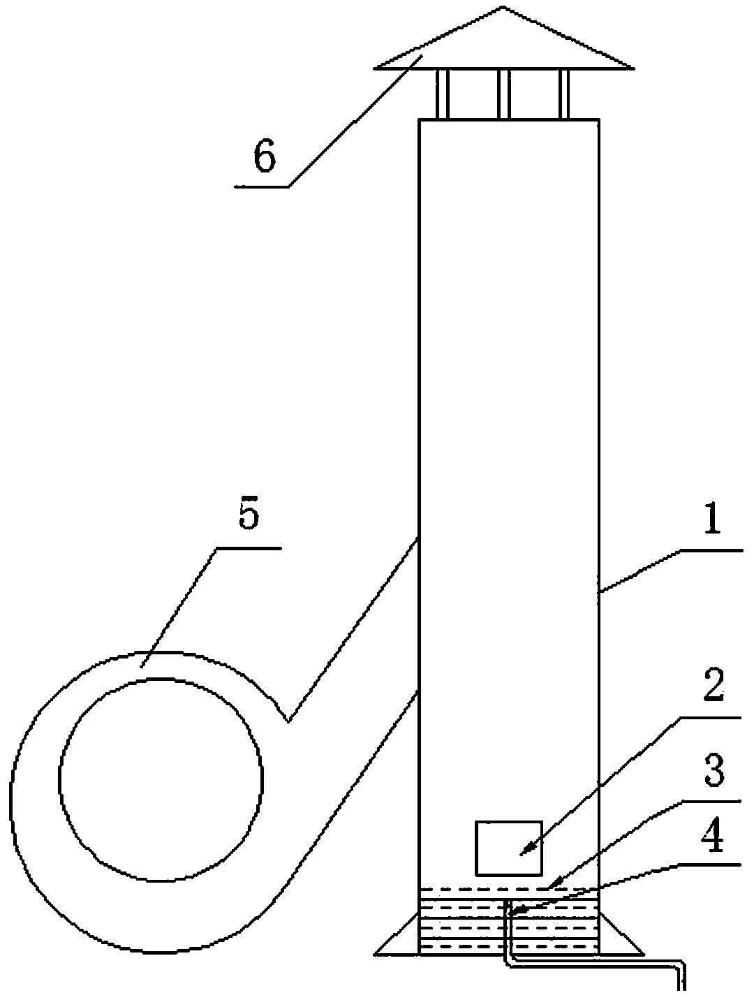
1.一種球磨機收塵管廢水收集裝置,包括與球磨機連接的收塵出風管,其特征是在所述收塵出風管的底部設觀察門,在收塵出風管內觀察門的下部連設排水管,排水管的另一端與磨機循環水池連接。
說明書
球磨機收塵管廢水收集裝置
技術領域
本實用新型涉及球磨機,具體涉及一種球磨機收塵管廢水收集裝置。
背景技術
水泥生產企業粉磨系統大都采用4臺Φ3.8m*13mm的球磨機。為了降低水泥配料成本以及廢物綜合利用,常采購大量脫硫石膏、沸石、釩渣等物料,這些物料含水量一般在10%—25%左右。在使用過程中,經過搭配后的入磨物料水份PO42.5級水泥在0.7%左右,PC32.5級水份在0.9%—1.2%左右,夏季雨水多時水份更大一些。生產過程中,水份通過收塵管道排出后遇冷空氣形成大量水滴,散落在收塵附近,造成生產現場一片泥濘、工作環境惡化。
發明內容
本實用新型所要解決的技術問題是設計一種球磨機收塵管廢水收集裝置,利用該裝置能夠收集收塵管處的排水,達到廢水再利用的目的。
為解決上述技術問題,本實用新型所采取的技術方案是:一種球磨機收塵管廢水收集裝置,包括與球磨機連接的收塵出風管,在所述收塵出風管的底部設觀察門,在收塵出風管內觀察門的下部連設排水管,排水管的另一端與磨機循環水池連接。
本實用新型采用上述技術方案所設計的球磨機收塵管廢水收集裝置,由于在收塵出風管的底部設與磨機循環水池連接的排水管,收塵風機在運行中,當水份通過收塵管管道排出遇冷空氣形成大量水滴時與風帽相撞下落,實現對收塵排水進行收集,再利用排水管管道輸送至磨機循環水池,達到了廢水再利用、改善現場環境的目的。



