申請日2016.05.27
公開(公告)日2016.12.07
IPC分類號C02F9/02
摘要
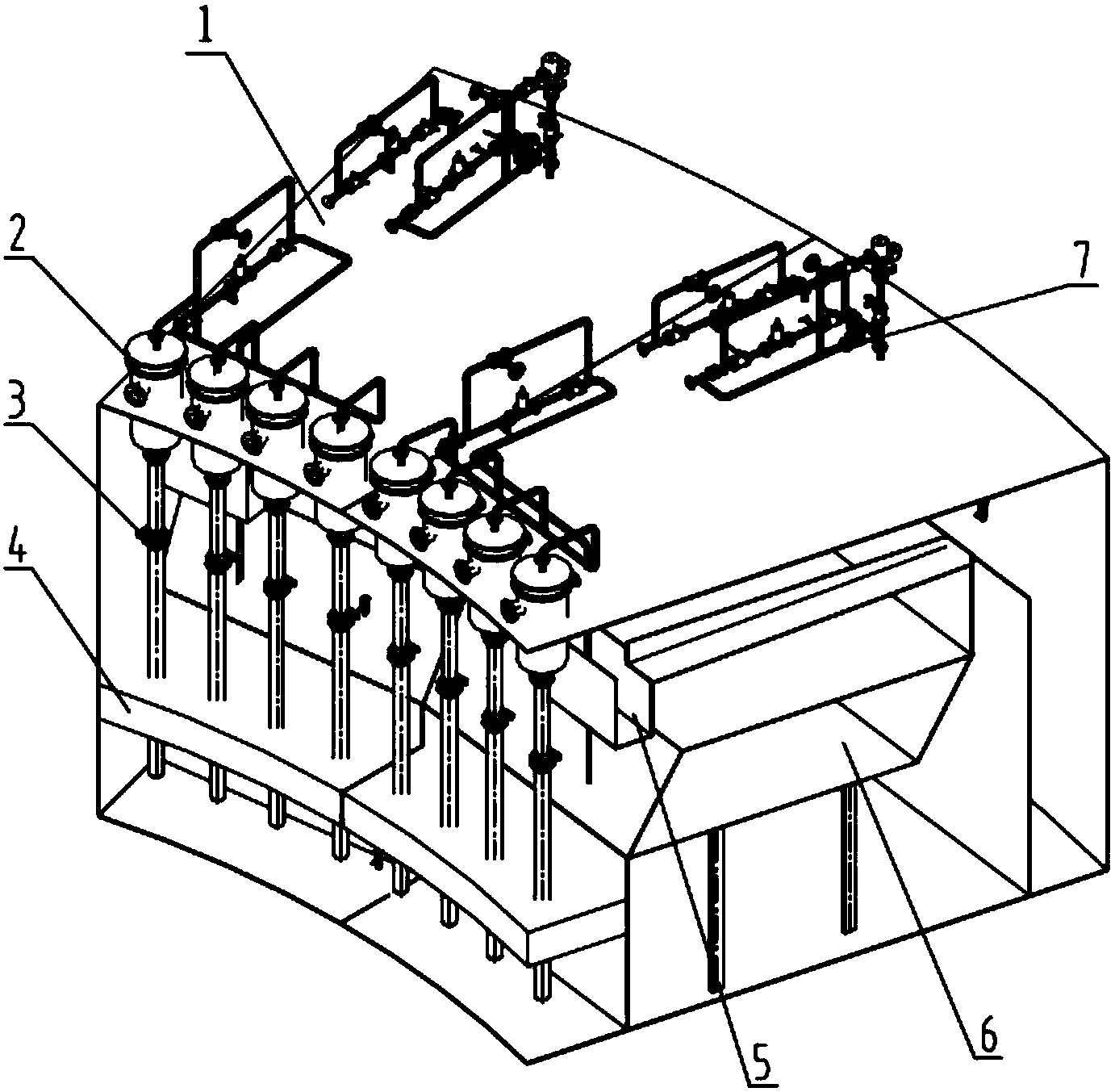
一種浮體艙室內的含油污水處理集成裝置,包括:下部浮體、設置在下部浮體內的艙室、集成在下部浮體艙室內的含油污水處理裝置、與含油污水處理裝置相連的旋流除油器、與旋流除油器相連的液下閥門、聚結填料、斜管組、收油槽、氣平衡管線。本實用新型把位于上部組塊上的含油污水處理裝置,優化到下部浮體艙室中去,不僅解決了上部組塊空間位置緊張問題;而且,還使含油污水處理達到外排或回注地層的標準,滿足安全區域的要求;同時,大大降低了工程的投資,增加了生產效益。
摘要附圖
權利要求書
1.一種浮體艙室內的含油污水處理集成裝置,其特征在于:包括:下部浮體、設置在下部浮體內的艙室、集成在下部浮體艙室內的含油污水處理裝置、與含油污水處理裝置相連的旋流除油器、與旋流除油器相連的液下閥門、聚結填料、斜管組、收油槽、氣平衡管線。
2.根據權利要求1所述的浮體艙室內的含油污水處理集成裝置,其特征在于:所述斜管組為親水疏油式。
3.根據權利要求1所述的浮體艙室內的含油污水處理集成裝置,其特征在于:所述收油槽為傾斜設置。
4.根據權利要求1所述的浮體艙室內的含油污水處理集成裝置,其特征在于:所述艙室是利用船艙或浮式采油平臺的支腿作為容器的外殼制成。
5.根據權利要求1所述的浮體艙室內的含油污水處理集成裝置,其特征在于:所述旋流除油器為立式。
說明書
浮體艙室內的含油污水處理集成裝置
技術領域
本實用新型涉及污水處理裝置,尤其涉及一種浮體艙室內的含油污水處理集成裝置。屬于海洋石油工程領域。
背景技術
隨著海洋石油工程不斷地由近海向深海邁進,浮式生產裝置也越來越多的得到應用。
目前,浮式生產裝置從結構上分為上部組塊及設置在上部組塊下面的下部浮體兩大部分;由于油氣生產相關的設備、含油污水處理裝置、公用系統設備、生活樓等都布置在上部組塊上,因此,導致上部組塊空間布置比較緊張,有時不得不采取加大上部組塊面積的方式,來滿足油氣生產的需要,這樣一來,將會大大增加工程的投資。而下部浮體空間,通常,由于只布置原油儲存艙室、壓載水艙室等,導致其空間布置相對充裕,利用率較低。
實用新型內容
本實用新型的主要目的在于克服現有技術存在的上述缺點,而提供一種改進的浮體艙室內的含油污水處理集成裝置,其統籌考慮上下部空間的利用,把位于上部組塊上的含油污水處理裝置,優化到下部浮體艙室中去,不僅解決了上部組塊空間位置緊張問題;而且,還大大降低了工程的投資,達到了降低成本,增加生產效益的目的。
本實用新型的目的是由以下技術方案實現的:
一種浮體艙室內的含油污水處理集成裝置,其特征在于:包括:下部浮體、設置在下部浮體內的艙室、集成在下部浮體艙室內的含油污水處理裝置、與含油污水處理裝置相連的旋流除油器、與旋流除油器相連的液下閥門、聚結填料、斜管組、收油槽、氣平衡管線。
所述斜管組為親水疏油式。
所述收油槽為傾斜設置。
所述艙室是利用船艙或浮式采油平臺的支腿作為容器的外殼制成。
所述旋流除油器為立式。
本實用新型的有益效果:本實用新型由于采用上述技術方案,其統籌考慮上下部空間的利用,把位于上部組塊上的含油污水處理裝置,優化到下部浮體艙室中去,不僅解決了上部組塊空間位置緊張問題;而且,還使含油污水處理達到外排或回注地層的標準,滿足安全區域的要求;同時,大大降低了工程的投資,達到了降低成本、增加生產效益的目的。


