申請日2016.05.31
公開(公告)日2017.02.15
IPC分類號C02F9/14; C02F1/36
摘要
本實用新型公開了多頻聲能發生器和超微聲能一體化污水處理系統,屬于污水處理領域。一種多頻聲能發生器,包括儲水箱體,儲水箱體連接有若干個超聲波換能器,超聲波換能器為若干種頻率的換能器交替設置,超微聲能一體化污水處理系統,通過管道連接多頻聲能發生器的進水管,多頻聲能發生器的出水管與反應池相連接,反應池依次設置有預脫硝生化池、厭氧生化池、不平衡好氧生化池和沉淀過濾池;所述的不平衡好氧生化池中上部設置有高負荷好氧填料,底部與外部的超微溶氣發生器進口端連接,超微溶氣發生器出口端連接不平衡好氧生化池底部設置的釋放器集。它可以實現處理無污染、效率高、噪音小、費用低的效果。
摘要附圖
權利要求書
1.一種多頻聲能發生器,包括儲水箱體(501),儲水箱體(501)連接有出水管(502)和進水管(503),其特征在于:儲水箱體(501)連接有若干個超聲波換能器(504),超聲波換能器(504)為若干種頻率的換能器交替設置。
2.根據權利要求1所述的一種多頻聲能發生器,其特征在于:所述的超聲波換能器(504)為2種頻率的換能器I(5041)和換能器II(5042)設置成,超聲波換能器(504)為兩排,每一排由換能器I(5041)和換能器II(5042)交替設置,上下兩排所在列對應設置為不同頻率的換能器I(5041)和換能器II(5042)。
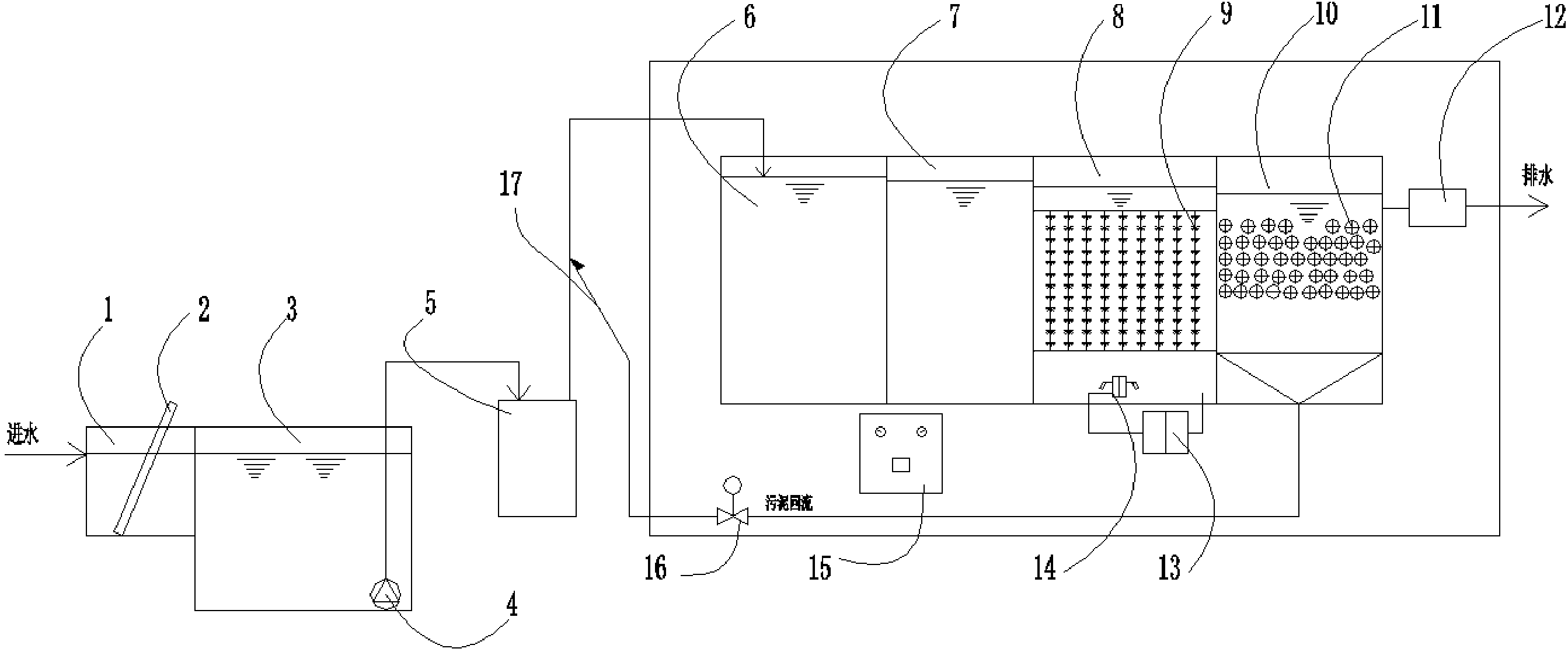
3.超微聲能一體化污水處理系統,其特征在于:包括格柵井(1),格柵井(1)內設置有格柵(2),格柵井(1)連接調節池(3),調節池(3)底部設置有調節提升泵(4),調節提升泵(4)通過管道連接多頻聲能發生器(5)的進水管(503),多頻聲能發生器(5)的出水管(502)與反應池相連接,反應池依次設置有預脫硝生化池(6)、厭氧生化池(7)、不平衡好氧生化池(8)和沉淀過濾池(10);多頻聲能發生器(5)的出水管(502)連接至預脫硝生化池(6)中,所述的不平衡好氧生化池(8)中上部設置有高負荷好氧填料(9),底部與外部的超微溶氣發生器(13)進口端連接,超微溶氣發生器(13)出口端連接不平衡好氧生化池(8)底部設置的釋放器集(14);沉淀過濾池(10)與外部排水口相連接。
4.根據權利要求3所述的超微聲能一體化污水處理系統,其特征在于:沉淀過濾池(10)內部設置有升流置換活性生物過濾填料(11)。
5.根據權利要求3或4所述的超微聲能一體化污水處理系統,其特征在于:沉淀過濾池(10)底部設置有污泥沉淀區域,污泥沉淀區域通過自吸管(17)與調節提升泵(4)和多頻聲能發生器(5)之間的管道連接,自吸管(17)上設置有電動閥門(16)。
6.根據權利要求3所述的超微聲能一體化污水處理系統,其特征在于:所述的沉淀過濾池(10)與外部排水口之間設置有紫外線消毒器(12)。
7.根據權利要求3所述的超微聲能一體化污水處理系統,其特征在于:所述的系統連接有智能控制柜(15),所述的智能控制柜(15)與系統內的電動閥門(16)和控制設備連接。
說明書
多頻聲能發生器和超微聲能一體化污水處理系統
技術領域
本實用新型涉及污水處理領域,更具體地說,涉及多頻聲能發生器和超微聲能一體化污水處理系統。
背景技術
隨著工農業生產的發展和人口的增加,加之缺乏環境保護意識,大量含有各種有毒有害物質的工業污水和生活污水未經處理或稍加處理就排入水體,造成水體和整個環境的污染。
目前污水處理存在的一些問題:
1、廣大農村和城鎮化生活小區的小型污水處理站,其一是對污水中的微生物、浮游生物、蚊蟲孑孓等攔截的不徹底,特別是溫度高季節蚊蟲孑孓和寄生水中的其他蟲卵等,把生化反應池當成不斷大量繁殖的溫床,而且不容易殺滅,更容易在污水處理站和設備周圍造成蚊、蠅飛舞,對周圍環境造成了二次污染;其二是生化池的處理污水體積相對過大;
2、好氧池增氧傳統上大部分都是采用曝氣風機,曝氣頭與曝氣管聯接,進行曝氣增氧,超微小、超密度氣泡是要努力實現的目標,風機產生的噪聲大,曝氣孔易堵塞,產生氣泡粒徑大、溶解氧(DO)效率不高,能耗大;
3、在好氧處理中,都是連續平衡的曝氣使好氧池內保持平衡穩定的溶解氧(DO)環境,滿足硝化對氧的需求,這樣易導致硝化菌長期積累,抑制反硝化作用的發生,不能實現缺氧反硝化,因此,雖能達到一定的氨氮去除效果,但總氮去除效果較差,要想進行反硝化反應,必須增加反硝化液回流泵,這樣就增加了設備的能耗和費用;
4、污水處理大都是采用液氯和氯片投放消毒,其特點是液氯成本低、工藝成熟、效果穩定可靠,缺點是會產生氯化消毒副產物,氣味較重,存放管理要求嚴格,對設備鋼材的腐蝕較嚴重,維護保養費用高。
中國專利申請,申請號201310288341.9,公開日2013年11月20日,公開了一種超聲波協同氧化污水處理設備,由格柵槽、調節池、超聲波協同氧化系統、加速氧化反應系統、靜置反應沉淀系統、加藥設備和控制臺組成,相互之間通過進出水管連接,在調節池中有調節提升泵,在超聲波協同氧化系統中有PH反應器,前置、后置協同催化氧化發生器,在加速氧化反應系統中的A池反應區、B池反應區和C池反應區上有攪拌機和傳感器,在靜置反應沉淀系統中的靜A反應區、靜B反應區和靜C反應區上有接線盒、進水電磁、電磁閥、排水泵和曝氣管,在出水管上有硫酸加藥口,靜置后的出水無菌無毒,無味無色,清澈透明,優于國標,可排放或回用,適用于醫院污水,生活污水,工業廢水,江河湖泊污水凈化。但本方案處理能力效率低,設備由于污水原因容易發生堵塞,維修率高。
中國專利申請,申請號CN03113303.7,公開日2003年10月1日,公開了一種曝氣協同超聲波處理工業廢水的方法,它是將要處理的含有揮發性或疏水性物質工業廢水輸送至發生器,向發生器中的工業廢水同時進行曝氣和超聲波作用,其曝氣的氣水比為100~1000∶1,超聲波的頻率范圍為10KHz~1MHz,聲強范圍為0.2~10W/cm2,曝氣和超聲波協同作用時間為5~90分鐘。本方法利用曝氣和超聲波協同作用的優勢,使得一些揮發性或疏水性的物質的去除率有了較大提高。克服了曝氣吹脫和超聲吹脫單獨處理的缺陷,高效低耗,具有更大普適性并且易于工業化,但此主要使用曝氣方式進行處理,反應不充分,效率低,噪音大,
發明內容
1.要解決的技術問題
針對現有技術中存在的處理有二次污染、效率低、噪聲大、費用高的問題,本實用新型提供了多頻聲能發生器和超微聲能一體化污水處理系統。它可以實現處理無污染、效率高、噪音小、費用低的效果。
2.技術方案
本實用新型的目的通過以下技術方案實現。
一種多頻聲能發生器,包括儲水箱體,儲水箱體連接有出水管和進水管,儲水箱體連接有若干個超聲波換能器,超聲波換能器為若干種頻率的換能器交替設置。
更進一步的,所述的超聲波換能器為2種頻率的換能器I和換能器II設置成,超聲波換能器為兩排,每一排由換能器I和換能器II交替設置,上下兩排所在列對應設置為不同頻率的換能器I和換能器II。
更進一步的,超微聲能一體化污水處理系統包括格柵井,格柵井內設置有格柵,格柵井連接調節池,調節池底部設置有調節提升泵,調節提升泵通過管道連接多頻聲能發生器的進水管,多頻聲能發生器的出水管與反應池相連接,反應池依次設置有預脫硝生化池、厭氧生化池、不平衡好氧生化池和沉淀過濾池;多頻聲能發生器的出水管連接至預脫硝生化池中,所述的不平衡好氧生化池中上部設置有高負荷好氧填料,底部與外部的超微溶氣發生器進口端連接,超微溶氣發生器出口端連接不平衡好氧生化池底部設置的釋放器集;沉淀過濾池與外部排水口相連接。
更進一步的,沉淀過濾池內部設置有升流置換活性生物過濾填料。升流置換活性生物過濾填料使得固體懸浮物隨著水流、過濾吸附在升流置換活性過濾填料上,當底層的填料表面吸附過多過重的污泥就會下沉,等表面的污泥老化脫落后重量減輕,填料又會上浮,又繼續進行過濾吸附作用,通過升降去除吸附的污泥自我清理。
更進一步的,沉淀過濾池底部設置有污泥沉淀區域,污泥沉淀區域通過自吸管與調節提升泵和多頻聲能發生器之間的管道連接,自吸管上設置有電動閥門。
更進一步的,所述的沉淀過濾池與外部排水口之間設置有紫外線消毒器。根據處理水量調整消毒時間后達標排放,保證了排放水的環保,適用于各種領域,可以調節所需要何時的標準。
更進一步的,所述的系統連接有智能控制柜,所述的智能控制柜與系統內的電動閥門和控制設備連接。通過測定各個反應池內的水質參數和含氧度,通過所設定的閾值,智能控制柜控制各個閥門以及溶氣裝置,釋放器的速度,超聲發生器的參數,控制所需要的值,更好的發生反應,獲得更好的效果。
一種根據上述的超微聲能一體化污水處理系統的處理方法,其步驟如下:
步驟1:當污水里漂浮物和大的顆粒沙石雜物進入格柵井后,通過格柵對雜物進行了,去除大的雜物;
步驟2:經過步驟1后的污水自流進入調節池進行均質調勻后,由調節提升泵提升;
步驟3:污水經提升集中進入多頻聲能發生器由進水管充滿儲水箱體501在換能器的換能器I和換能器II交叉反復經過不同的頻率超聲波后快速降解污水中有毒有害物質,形成比原有機物毒性小易降解的有機物,有機物轉變成CO2、H2O、無機離子;
步驟4:步驟3反應后的污水提升進入預硝化生化池,污水進行預硝化反應和釋放;
步驟5:步驟4反應后的污水自流進入厭氧生化池,污水進行反硝化反應;
步驟6:反硝化后的污水自流進入不平衡好氧生化池,不平衡好氧反應池中的污水處在不平衡的溶解氧環境,周期性好氧→厭氧→缺氧環境下,活性污泥絮體內部形成適宜的溶解氧梯度分布,高負荷好氧填料上附著分解菌硝化與反硝化作用處理污水;
步驟7:步驟6處理過的污水自流進入沉淀過濾池經過升流置換活性過濾填料將污水中的固體懸浮物隨著水流、過濾吸附在升流置換活性過濾填料上,當底層的填料表面吸附過多過重的污泥就會下沉,等表面的污泥老化脫落后重量減輕,填料又會上浮,又繼續進行過濾吸附作用,通過升降去除吸附的污泥自我清理;
步驟8:步驟7處理過的污水自流進入紫外線消毒器,根據處理水量調整消毒時間后達標排放;
步驟9:根據活性污泥法生物菌較易流失的情況,自動定時開啟電動閥門利用調節提升泵進水的流速,自吸管回流部分污泥繼續擔當載體的作用,找回部分流失出去的活性污泥菌落,補充失去的碳源。
更進一步的,步驟3多頻聲能發生器聲強范圍為0.2~10W/cm2,作用時間大于100s。
更進一步的,步驟6中不平衡好氧反應池中的釋放器集,釋放口在底部間隔設置,對間隔區域進行超微溶氣的發生,釋放區域溶解氧含量高,間隔區域溶解氧含量低,不平衡好氧反應池中的溶解氧含量循環分布。
3.有益效果
相比于現有技術,本實用新型的優點在于:
1)本發明使用了含有不同頻率的超聲發生裝置,通過17KHz--40KHz不同頻率的超聲波之間的協同作用,提高多頻聲能反應器超聲波的輻射面積;通過試驗所得,在超聲波處理時間60s,功率200w時,制藥廢水單獨經超聲波處理,CODCr去除率僅為13%–16%;對好氧反應池中零時刻的混合液澄清水,直接進行好氧反應池8處理,CODCr去除率僅30%左右;而經超聲波預處理后再好氧反應池處理CODCr總去除率達到96%以上,色度去除率達99%以上,去除率遠遠大于現有的設計方案,去除率好;
2)本發明通過對不平衡好氧生化池結構和釋放器集進行合理科學的分布設計,與平衡溶解氧(DO)環境相比,不平衡的溶解氧(DO)環境不僅使細菌微生物能夠適應好氧/缺氧的環境,而且能夠大大提高活性污泥中細菌的數量,從而增強細菌自身的氧化和代謝能力,降低剩余污泥量。生活污水可以實現基本無剩余污泥處理的費用;
3)本發明克服了現有技術存在的不足,使污水通過多頻聲能發生器中,即可殺滅污水中的蚊蟲孑孓和蟲卵等,這樣就不會有蚊蠅的二次污染。另外一個作用就是降解高濃度污水中COD和減少有毒有害物質的效果非常好,在相同的處理污水條件下,可以提高生化池的處理能力30%-40%,相同處理效果的處理池體積減小了,成本降低;
4)采用超微溶氣發生器增氧,設備安裝維護簡單,釋放器集氣孔不易堵塞,清理簡單,不容易損壞,利用超微氣泡過程釋放的沖力,對不平衡好氧反應池的污水污泥進行旋轉攪動,并利用其產生的超微小氣泡,與污水污泥充分接觸更加混合均勻,外觀上污水變成乳白色,增氧和氧在液體中的傳遞效率高。例如直徑1mm的大氣泡分散成直徑10μm的氣泡,其表面積增大100000倍,由此可以看出氣泡越微小,就可以大大提高水體中的溶解氧(DO)。并且無噪聲能耗低;
5)本發明克服了上述現有技術存在的不足,通過對不平衡好氧生化池結構和釋放器集進行科學合理的分布設計,使好氧反應池在不平衡溶解氧(DO)環境里,周期性處在好氧→厭氧→缺氧的狀態,可使活性污泥絮體內部形成適宜的溶解氧(DO)梯度分布,在溶解氧(DO)濃度較高的時段或區域,硝化細菌將氨態氮氧化為硝酸鹽氮和亞硝酸鹽氮,而在溶解氧(DO)濃度較低的時段或區域,好氧反應池內處于缺氧狀態,微生物利用有機物為氫供體使硝態氮反硝化,還原成N2或NxOy后排入大氣,從而達到脫氮目的,同時在缺氧階段NO3--N以及NO2--N能夠代替分子O2作電子受體,繼續氧化污水中的有機污染物,進而能夠降低好氧階段的有機負荷,采用不平衡的溶解氧(DO)曝氣方式,當溶解氧(DO)從3.5~5.0mg/L降低到0.5~1.2mg/L時,系統的脫氮率可以達到94.9%,且無需外加碳源,這是由于反硝化程度取決于缺氧階段有機碳的供給程度,不平衡溶解氧(DO)環境有利于節省碳源消耗,使更多的碳源用于反硝化脫氮,從而提高了系統整體脫氮效率。此環境可以營造良好的好氧硝化/缺氧反硝化交替過程,在顯著節能的同時還可提高系統去除有機物及脫氮的效果。因此不需要增加反硝化回流泵,節約了能耗和費用;
6)采用紫外線消毒它具有較高的殺菌效率,運行安全可靠,紫外線消毒僅需幾秒鐘即可達到同樣的滅活效果,且由于不投加化學藥劑,不會對水體和周圍環境造成二次污染;不產生有毒有害產物,不會產生對人體有害的副產物;對隱孢子蟲和賈第蟲有特效消毒效果,常規的氯消毒工藝對隱孢子蟲和賈第蟲的滅活效果很低,并且在較高的氯投加量下會產生大量的消毒副產物,而紫外線消毒在較低的紫外線劑量下對隱孢子蟲和賈第蟲就可以達到較高的滅活效果;能降低臭味和降低微量有機物;占地面積小,不需要對藥品單獨管理,不會腐蝕設備,運行維護簡單、費用低;消毒效果受水溫、PH值影響小;
7)本發明利用超聲波技術是一種高頻機械波,具有簡便、高效、無污染或少污染的優點;波長較短,能量集中,沿直線傳播;在處理微污染水、高濃度難降解的有機污水方面,與紫外線、熱、壓力、化學等處理方法相比,超聲波對污水污染物的處理更直接,對設備的要求更低;
8)本發明設計科學,結構簡單,自動化程度高,操作簡單,管理和維護方便,可實現全自動化,無人值守,遠程智能監控。具有對污水污染物去除效率高、能耗低、占地面積小、結構緊湊、集成一體化、安裝方便快速、去除了曝氣風機、無噪聲、維護方便、具有普適性并且易于工業化生產,由于本發明集成一體化能耗低與太陽能發電結合,可以在廣大偏遠農村推廣使用。


