申請日2016.05.16
公開(公告)日2016.10.12
IPC分類號B65D6/10; B65D6/40; B65D25/20
摘要
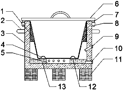
本實用新型公開了一種化工污泥安全便裝存放箱,包括外箱體和箱蓋,所述外箱體底部設有條形承重塊,所述外箱體一側中部和下部分別設有注水口和出液口,所述外箱體上相對的兩側設有半掛環和插口,所述外箱體內部設有液體存放區,所述外箱體內底部中間位置設有連接座,所述連接座上部連接有內箱體,所述內箱體底部設有圓孔,所述圓孔連接有半球濾網,所述內箱體固定連接于外箱體,所述箱蓋下部設有與插口相匹配的插塊。該能將工廠產生的少量污泥暫時存放起來,設置的半掛環可以用吊車將污泥存放箱直接下沉到污泥坑中,直接將污泥裝到箱體內后在拉出,并可以用叉車從條形承重塊預留的口道中進行拉運,安全且方便快捷。
權利要求書
1.一種化工污泥安全便裝存放箱,包括外箱體(3)和箱蓋(6),其特征在于:所述外箱體(3)底部設有條形承重塊(11),所述外箱體(3)一側中部和下部分別設有注水口(9)和出液口(10),所述外箱體(3)上相對的兩側設有半掛環(2)和插口(8),所述外箱體(3)內部設有液體存放區(13),所述外箱體(3)內底部中間位置設有連接座(5),所述連接座(5)上部連接有內箱體(1),所述內箱體(1)底部設有圓孔(12),所述圓孔(12)連接有半球濾網(4),所述內箱體(1)固定連接于外箱體(3),所述箱蓋(6)下部設有與插口(8)相匹配的插塊(7)。
2.根據權利要求1所述的一種化工污泥安全便裝存放箱,其特征在于:所述圓孔(12)和半球濾網(4)的數量各有四個。
3.根據權利要求1所述的一種化工污泥安全便裝存放箱,其特征在于:所述半掛環(2)、插塊(7)和插口(8)的數量各有四個。
4.根據權利要求1所述的一種化工污泥安全便裝存放箱,其特征在于:所述注水口(9)與出液口(10)上均設有密封蓋。
5.根據權利要求1所述的一種化工污泥安全便裝存放箱,其特征在于:所述條形承重塊(11)的數量有三個,且分別平行位于外箱體(3)底部的兩側和中間位置。
6.根據權利要求1所述的一種化工污泥安全便裝存放箱,其特征在于:所述連接座(5)上設有液體流通孔。
7.根據權利要求1所述的一種化工污泥安全便裝存放箱,其特征在于:所述外箱體(3)、內箱體(1)和箱蓋(6)的內外側均設有防腐蝕層。
說明書
一種化工污泥安全便裝存放箱
技術領域
本實用新型屬于固體廢物環保技術領域,具體涉及一種化工污泥安全便裝存放箱。
背景技術
社會現代化的高速發展,環境保護成為了一個在發展中不可忽視的問題。環保主題中,污泥,尤其是化工行業中的危險固體污泥的處理成為了一個比較難以解決的問題,其中由于化工產生的污泥危險性高、對環境的破壞大,國家法律規定只有具有固體危廢處理資質的公司才可對化工污泥進行處理,也就是對應的危廢處理中心,而現在很多行業的工廠都會產生化工污泥,但自己本身卻沒有危廢處理資質,這時就需要將化工污泥進行轉運處理,然而在轉運之前的短時間存放和轉運過程中的安全轉運設施問題成為了難題。
實用新型內容
本實用新型的目的在于提供一種化工污泥安全便裝存放箱,以解決上述背景技術中提出的問題。
為實現上述目的,本實用新型提供如下技術方案:一種化工污泥安全便裝存放箱,包括外箱體和箱蓋,所述外箱體底部設有條形承重塊,所述外箱體一側中部和下部分別設有注水口和出液口,所述外箱體上相對的兩側設有半掛環和插口,所述外箱體內部設有液體存放區,所述外箱體內底部中間位置設有連接座,所述連接座上部連接有內箱體,所述內箱體底部設有圓孔,所述圓孔連接有半球濾網,所述內箱體固定連接于外箱體,所述箱蓋下部設有與插口相匹配的插塊。
優選的,所述圓孔和半球濾網的數量各有四個。
優選的,所述半掛環、插塊和插口的數量各有四個。
優選的,所述注水口與出液口上均設有密封蓋。
優選的,所述條形承重塊的數量有三個,且分別平行位于外箱體底部的兩側和中間位置。
優選的,所述連接座上設有液體流通孔。
優選的,所述外箱體內箱體和箱蓋的內外側均設有防腐蝕層。
本實用新型的技術效果和優點:該能將工廠產生的少量污泥暫時存放起來,再拉運到污泥集中處理中心進行處理,設置的半掛環可以用吊車將污泥存放箱直接下沉到污泥坑中,直接將污泥裝到箱體內后在拉出,并可以用叉車從條形承重塊預留的口道中進行拉運,安全且方便快捷。



