申請日2016.05.31
公開(公告)日2016.12.21
IPC分類號F25B30/06
摘要
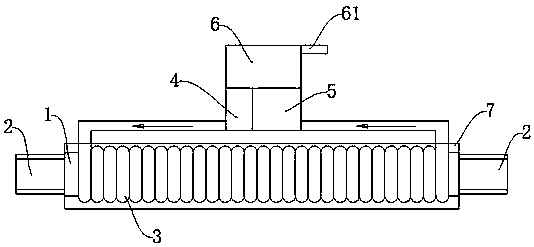
一種印染廢水余熱回收裝置,包括管體,所述的管體二端設有與廢水排放管連接結構,所述的管體為銅管構成,所述的管體外部螺旋纏繞有熱交換管,所述的熱交換管內流通有傳熱介質,所述的熱交換管的進料口和出料口通過壓縮機和存儲箱連接在一起,所述的壓縮機外部連接有熱能儲存結構和熱能輸送結構。本實用新型克服了現有技術的不足,將管體設計成銅管,在管體外部螺旋殘纏繞熱交換管,熱交換管內部流通有氟利昂作為傳熱介質,通過壓縮機講介質吸收的熱量釋放達到回收熱能,回收熱能效率高,同時回收的熱能溫度高,用途廣泛。
摘要附圖
權利要求書
1.一種印染廢水余熱回收裝置,包括管體,所述的管體二端設有與廢水排放管連接結構,其特征在于:所述的管體為銅管構成,所述的管體外部螺旋纏繞有熱交換管,所述的熱交換管內流通有傳熱介質,所述的熱交換管的進料口和出料口通過壓縮機和存儲箱連接在一起,所述的壓縮機外部連接有熱能儲存結構和熱能輸送結構。
2.根據權利要求1所述的一種印染廢水余熱回收裝置,其特征在于:所述的傳熱介質為氟利昂。
3.根據權利要求1所述的一種印染廢水余熱回收裝置,其特征在于:所述的熱交換管外部包裹有保溫結構。
說明書
一種印染廢水余熱回收裝置
技術領域
本實用新型涉及印染廢水處理技術領域,具體屬于一種印染廢水余熱回收裝置。
背景技術
印染又稱之為染整。是一種加工方式,也是前處理,染色,印花,后整理,洗水等的總稱; 本科的染整專業現在已經并入輕化工程專業;早在六、七千年前的新石器時代,我們的祖先就能夠用赤鐵礦粉末將麻布染成紅色。居住在青海柴達木盆地諾木洪地區的原始部落,能把毛線染成黃、紅、褐、藍等色,織出帶有色彩條紋的毛布。 商周時期,染色技術不斷提高。宮廷手工作坊中設有專職的官吏"染人"來"掌染草",管理染色生產。染出的顏色也不斷增加。到漢代,染色技術達到了相當高的水平。
同時印染過程中會產生大量的高溫廢水,這些高溫廢水直接排放會對環境造成很大的污染和熱能浪費。
實用新型內容
本實用新型的目的是提供了一種印染廢水余熱回收裝置,克服了現有技術的不足,將管體設計成銅管,在管體外部螺旋殘纏繞熱交換管,熱交換管內部流通有氟利昂作為傳熱介質,通過壓縮機講介質吸收的熱量釋放達到回收熱能,回收熱能效率高,同時回收的熱能溫度高,用途廣泛。
為解決上述問題,本實用新型所采取的技術方案如下:
一種印染廢水余熱回收裝置,包括管體,所述的管體二端設有與廢水排放管連接結構,其特征在于:所述的管體為銅管構成,所述的管體外部螺旋纏繞有熱交換管,所述的熱交換管內流通有傳熱介質,所述的熱交換管的進料口和出料口通過壓縮機和存儲箱連接在一起,所述的壓縮機外部連接有熱能儲存結構和熱能輸送結構。
進一步,所述的傳熱介質為氟利昂。
進一步,所述的熱交換管外部包裹有保溫結構。
本實用新型與現有技術相比較,本實用新型的實施效果如下:
本實用新型所述一種印染廢水余熱回收裝置,將管體設計成銅管,在管體外部螺旋殘纏繞熱交換管,熱交換管內部流通有氟利昂作為傳熱介質,通過壓縮機講介質吸收的熱量釋放達到回收熱能,回收熱能效率高,同時回收的熱能溫度高,用途廣泛。


