申請日2016.05.17
公開(公告)日2016.11.30
IPC分類號B01D61/08; B01D61/10; C02F1/44
摘要
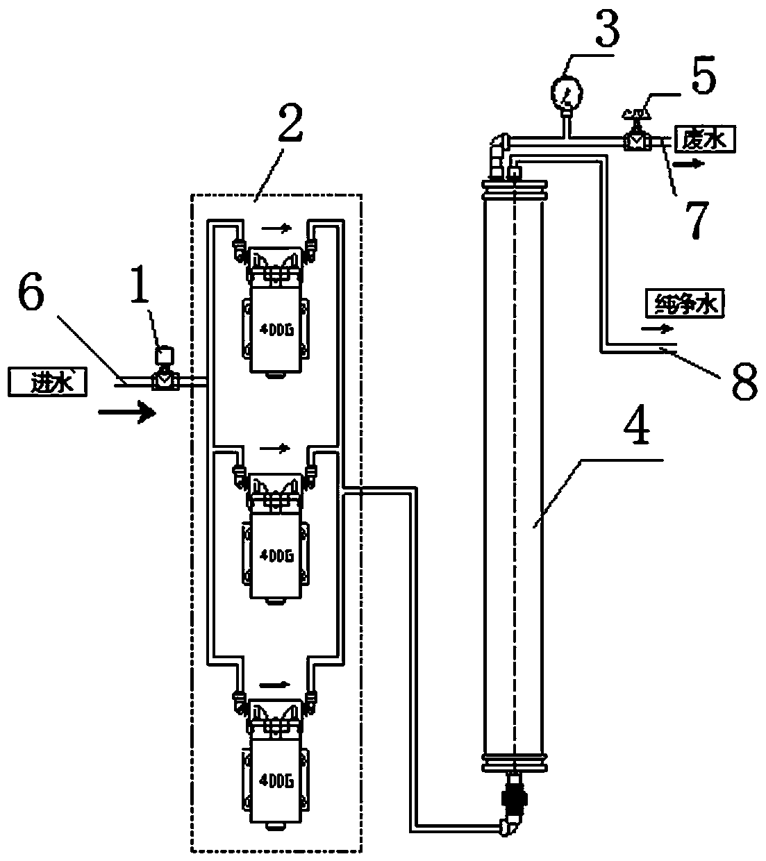
本實用新型涉及一種用于大型水處理的小型隔膜水泵,其特征在于:所述的隔膜水泵由進、出水管以及與連接在進、出水管之間的隔膜水泵組和反滲透濾膜構成;隔膜水泵組與反滲透濾膜之間為串聯結構,隔膜水泵組由至少2個隔膜泵并聯而成;進水管與隔膜水泵組之間通過管路相連,所述的出水管分為凈水出水管和廢水出水管,出水管與反滲透濾膜之間通過管路相連。本實用新型所述的小型隔膜水泵由隔膜水泵組和反滲透濾膜串聯而成,其中隔膜水泵組由至少2個隔膜泵并聯而成,此優化組合的膜處理裝置,滿足了反滲透水處理效果,同時極大提高和優化了整個反滲透水處理系統效果,具有震動下、組合安裝方便、安全可靠的優點。
權利要求書
1.一種用于大型水處理的小型隔膜水泵,其特征在于:所述的隔膜水泵由進、出水管以及與連接在進、出水管之間的隔膜水泵組和反滲透濾膜構成;
所述的隔膜水泵組與反滲透濾膜之間為串聯結構,隔膜水泵組由至少2個隔膜泵并聯而成;
進水管與隔膜水泵組之間通過管路相連,所述的出水管分為凈水出水管和廢水出水管,出水管與反滲透濾膜之間通過管路相連。
2. 根據權利要求1所述的一種用于大型水處理的小型隔膜水泵,其特征在于:進水管上設有進水電磁閥,廢水出水管上設有工作壓力表和廢水比例閥;
所述的隔膜水泵組由3-5個隔膜泵并聯而成,隔膜水泵組設有進水端和出水端,所述的進水端與進水管相連,所述的出水端與反滲透濾膜相連。
說明書
一種用于大型水處理的小型隔膜水泵
技術領域
本實用新型涉及水處理設備中的反滲透膜處理裝置的技術領域,具體地說是一種用于大型水處理的小型隔膜水泵。
背景技術
隨著水處理設備和水處理直飲機不斷被人們認可、使用廣泛,九十年代初我國開始引進逆滲透技術,逆滲透的基本工作原理是:運用特制的葉片離心式高壓水泵,將原水加至6-9公斤壓力,使原水在壓力的作用下,滲透過孔徑只有0.0001微米的逆滲透膜。化學離子和細菌、真菌、病毒體不能通過,隨廢水排出,只允許體積小于0.0001微米的水分子和氧分子通過。該原理在不改變水的性狀與氧溶量的前提下,達到了水的凈化。隨著水處理設備和水處理直飲機不斷被人們認可、使用廣泛,技術改進水處理工藝、特別是滲透膜的處理工藝極其重要。
一般由于采用葉片結構的離心式高壓水泵,使用時壓力高、耗能大、噪聲和震動相應也大,水流量容易不穩定,對水處理設備制造,產生極為不利因素,尤其是帶殼體直飲水RO設備,所產生噪聲和震動,使得整個機器的質量大大下降。
發明內容
本實用新型的目的在于提供一種改進的用于大型水處理的小型隔膜水泵,它可克服現有技術中離心式高壓水泵耗能大、噪聲和震動相應也大,水流量容易不穩定的一些不足。
為了實現上述目的,本實用新型的技術方案是:一種用于大型水處理的小型隔膜水泵,其特征在于:所述的隔膜水泵由進、出水管以及與連接在進、出水管之間的隔膜水泵組和反滲透濾膜構成;所述的隔膜水泵組與反滲透濾膜之間為串聯結構,隔膜水泵組由至少2個隔膜泵并聯而成;進水管與隔膜水泵組之間通過管路相連,所述的出水管分為凈水出水管和廢水出水管,出水管與反滲透濾膜之間通過管路相連。
優選的,進水管上設有進水電磁閥,廢水出水管上設有工作壓力表和廢水比例閥;所述的隔膜水泵組由3-5個隔膜泵并聯而成,隔膜水泵組設有進水端和出水端,所述的進水端與進水管相連,所述的出水端與反滲透濾膜相連。
使用時,本實用新型所述的小型隔膜水泵由隔膜水泵組和反滲透濾膜串聯而成,其中隔膜水泵組由至少2個隔膜泵并聯而成,此優化組合的膜處理裝置,即滿足了反滲透水處理效果,又使得反滲透設備、尤其是對帶殼體直飲設備裝置及水處理工藝性能得到了極大的優化和提升,具有積極意義。
與現有常規采用220V或380V電壓的葉片結構高壓水泵,和反滲透膜組成的系統的比較,本實用新型的反滲透系統,具有積極有益意義是:
1, 小型隔膜高壓水泵組的裝置,體積小、重量輕,可根據反滲透膜的流量大、小,來用若干個隔膜水泵并聯裝配,以匹配反滲透膜,組成反滲透膜裝置,極大提高和優化了整個反滲透水處理系統效果。
2, 小型隔膜高壓水泵聲音輕,震動極小,并聯組合和安裝方便。
3, 直流24V低安全電壓,安全可靠,能耗低,低碳環保。



