申請日2017.09.29
公開(公告)日2017.12.19
IPC分類號C02F9/04
摘要
本發明公開了一種具有自洗功能的污水處理設備,包括箱體,箱體頂部的右側固定連接有頂箱,箱體頂部的左側位于頂箱的左側固定連接有移動箱,頂箱內壁的右側通過第一電機座固定連接有第一電機,第一電機的輸出軸上固定連接有第一皮帶輪,所述第一皮帶輪的表面傳動連接有皮帶,所述皮帶遠離第一皮帶輪的一側傳動連接有第二皮帶輪,且第二皮帶輪的軸心處固定連接有中軸,所述中軸的頂端與頂箱內壁的頂部轉動連接,所述中軸的底端通過轉動裝置固定連接有連接板,本發明涉及污水處理技術領域。該具有自洗功能的污水處理設備,可以有效的對過濾網進行清洗,不需要人工拆卸進行清洗,減少了不必要的浪費,提高了工作效率。
權利要求書
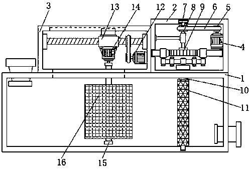
1.一種具有自洗功能的污水處理設備,包括箱體(1),其特征在于:所述箱體(1)頂部的右側固定連接有頂箱(2),所述箱體(1)頂部的左側位于頂箱(2)的左側固定連接有移動箱(3),且頂箱(2)內壁的右側通過第一電機座固定連接有第一電機(4),第一電機(4)的輸出軸上固定連接有第一皮帶輪(5),第一皮帶輪(5)的表面傳動連接有皮帶(6),所述皮帶(6)遠離第一皮帶輪(5)的一側傳動連接有第二皮帶輪(7),且第二皮帶輪(7)的軸心處固定連接有中軸(8),所述中軸(8)的頂端與頂箱(2)內壁的頂部轉動連接,所述中軸(8)的底端通過轉動裝置(9)固定連接有連接板(10)。
2.根據權利要求1所述的一種具有自洗功能的污水處理設備,其特征在于:所述連接板(10)的底部依次貫穿頂箱(2)和箱體(1)且延伸至箱體(1)的內部,所述連接板(10)延伸至箱體(1)內部的一側固定連接有過濾網(11),所述過濾網(11)的底部通過轉動件與箱體(1)內壁的底部轉動連接。
3.根據權利要求1所述的一種具有自洗功能的污水處理設備,其特征在于:所述移動箱(3)內壁的一側通過移動裝置(12)螺紋連接有螺紋塊(13),所述螺紋塊(13)的頂部通過滑動件與移動箱(3)內壁的頂部滑動連接,且螺紋塊(13)的底部固定連接有第三電機(14),所述第三電機(13)的輸出軸上固定連接有轉軸(15),所述轉軸(15)的底端依次貫穿移動箱(3)和箱體(1)且延伸至箱體(1)的內部,所述轉軸(15)的表面位于箱體(1)內部的一端固定連接有消毒網(16)。
4.根據權利要求1所述的一種具有自洗功能的污水處理設備,其特征在于:所述轉動裝置(9)包括齒輪(91),所述齒輪(91)的一側與中軸(8)的底端固定連接,且齒輪(91)的兩側均嚙合有齒板(92),所述齒板(92)的一側轉動連接有轉動桿(93),所述轉動桿(93)遠離齒板(92)的一端轉動連接有活動桿(94),所述活動桿(94)的一端轉動連接有底板(95),且底板(95)的底部與連接板(10)的頂部固定連接。
5.根據權利要求1-3所述的一種具有自洗功能的污水處理設備,其特征在于:所述移動裝置(12)包括第二電機(121),所述第二電機(121)的底部通過第二電機座與移動箱(3)內壁的右側固定連接,且第二電機(121)的輸出軸上固定連接有第一轉輪(122),所述第一轉輪(122)的表面通過傳送帶(123)傳動連接有第二轉輪(124),所述第二轉輪(124)的軸心處固定連接有螺紋桿(125),且螺紋桿(125)的兩端均與移動箱(3)的內壁轉動連接,所述螺紋桿(125)的表面與螺紋塊(13)螺紋連接。
6.根據權利要求1-5所述的一種具有自洗功能的污水處理設備,其特征在于:所述箱體(1)頂部的左側貫穿有進料斗,所述箱體(1)右側的底部貫穿有出料斗,且箱體(1)的底部固定連接有底座,所述箱體(1)的正表面鉸接有箱門。
7.一種具有自洗功能的污水處理方法,其特征在于:污水經過進料斗進入裝置內部,第二電機121開啟,使得第一轉輪122通過傳送帶123帶動第二轉輪124轉動,使得螺紋桿125轉動,帶動螺紋塊13往復移動,第三電機13開啟,使得轉軸15帶動消毒網16轉動,進行消毒和過濾,然后經過過濾網11消毒后通過出料斗排出裝置,進行自洗的時候,第一電機4開啟,使得第一皮帶輪5通過皮帶6帶動第二皮帶輪7轉動,使得中軸8帶動齒輪91轉動,使得齒輪91帶動齒板92移動,通過轉動桿93和活動桿94帶動底板95轉動一百八十度后,第一電機4停止轉動,通入清洗液,可以將過濾網11之前過濾的雜質進行沖走。
說明書
一種具有自洗功能的污水處理設備
技術領域
本發明涉及污水處理技術領域,具體為一種具有自洗功能的污水處理設備。
背景技術
污水處理是使污水達到排水某一水體或再次使用的水質要求對其進行凈化的過程,污水處理被廣泛應用于建筑、農業、交通、能源、石化、環保、城市景觀、醫療、餐飲等各個領域,也越來越多地走進尋常百姓的日常生活,按污水來源分類,污水處理一般分為生產污水處理和生活污水處理,生產污水包括工業污水、農業污水以及醫療污水等,而生活污水就是日常生活產生的污水,是指各種形式的無機物和有機物的復雜混合物,包括漂浮和懸浮的大小固體顆粒、膠狀和凝膠狀擴散物和純溶液,按水污的質性來分,水的污染有兩類:一類是自然污染;另一類是人為污染,當前對水體危害較大的是人為污染,水污染可根據污染雜質的不同而主要分為化學性污染、物理性污染和生物性污染三大類,污染物主要有,未經處理而排放的工業廢水、未經處理而排放的生活污水、大量使用化肥、農藥、除草劑的農田污水、堆放在河邊的工業廢棄物和生活垃圾、水土流失和礦山污水,污水處理站的作用是對生產、生活污水進行處理,達到規定的排放標準,是保護環境的重要設施,工業發達國家的污水處理站已經很普遍,但是現在的污水處理站很少,今后會逐漸多起來,要使這些污水處理站真正發揮作用,還需要有效的對污水進行處理和消毒,才能進行排放。
污水處理一直是比較重視的問題,部分污水不經過處理直接排放,十分污染環境,現有污水處理設備大多結構復雜,并且定期需要對過濾網進行清洗或者更換,否則就會出現堵塞的問題,使得污水不能正常處理,不僅費時費力,同時效率低下。
發明內容
針對現有技術的不足,本發明提供了一種具有自洗功能的污水處理設備,解決了現有污水處理設備大多結構復雜,并且定期需要對過濾網進行清洗或者更換,否則就會出現堵塞的情況,使得污水不能正常處理,不僅費時費力,同時效率低下的問題。
為實現以上目的,本發明通過以下技術方案予以實現:一種具有自洗功能的污水處理設備,包括箱體,所述箱體頂部的右側固定連接有頂箱,所述箱體頂部的左側位于頂箱的左側固定連接有移動箱,且頂箱內壁的右側通過第一電機座固定連接有第一電機,所述第一電機的輸出軸上固定連接有第一皮帶輪,所述第一皮帶輪的表面傳動連接有皮帶,所述皮帶遠離第一皮帶輪的一側傳動連接有第二皮帶輪,且第二皮帶輪的軸心處固定連接有中軸,所述中軸的頂端與頂箱內壁的頂部轉動連接,所述中軸的底端通過轉動裝置固定連接有連接板。
優選的,所述連接板的底部依次貫穿頂箱和箱體且延伸至箱體的內部,所述連接板延伸至箱體內部的一側固定連接有過濾網,所述過濾網的底部通過轉動件與箱體內壁的底部轉動連接。
優選的,所述移動箱內壁的一側通過移動裝置螺紋連接有螺紋塊,所述螺紋塊的頂部通過滑動件與移動箱內壁的頂部滑動連接,且螺紋塊的底部固定連接有第三電機,所述第三電機的輸出軸上固定連接有轉軸,所述轉軸的底端依次貫穿移動箱和箱體且延伸至箱體的內部,所述轉軸的表面位于箱體內部的一端固定連接有消毒網。
優選的,所述轉動裝置包括齒輪,所述齒輪的一側與中軸的底端固定連接,且齒輪的兩側均嚙合有齒板,所述齒板的一側轉動連接有轉動桿,所述轉動桿遠離齒板的一端轉動連接有活動桿,所述活動桿的一端轉動連接有底板,且底板的底部與連接板的頂部固定連接。
優選的,所述移動裝置包括第二電機,所述第二電機的底部通過第二電機座與移動箱內壁的右側固定連接,且第二電機的輸出軸上固定連接有第一轉輪,所述第一轉輪的表面通過傳送帶傳動連接有第二轉輪,所述第二轉輪的軸心處固定連接有螺紋桿,且螺紋桿的兩端均與移動箱的內壁轉動連接,所述螺紋桿的表面與螺紋塊螺紋連接。
優選的,所述箱體頂部的左側貫穿有進料斗,所述箱體右側的底部貫穿有出料斗,且箱體的底部固定連接有底座,所述箱體的正表面鉸接有箱門。
有益效果
本發明提供了一種具有自洗功能的污水處理設備。具備以下有益效果:
(1)、該具有自洗功能的污水處理設備,通過第一電機的輸出軸上固定連接有第一皮帶輪,所述第一皮帶輪的表面傳動連接有皮帶,所述皮帶遠離第一皮帶輪的一側傳動連接有第二皮帶輪,且第二皮帶輪的軸心處固定連接有中軸,所述齒輪的一側與中軸的底端固定連接,且齒輪的兩側均嚙合有齒板,所述齒板的一側轉動連接有轉動桿,所述轉動桿遠離齒板的一端轉動連接有活動桿,所述活動桿的一端轉動連接有底板,且底板的底部與連接板的頂部固定連接,所述連接板延伸至箱體內部的一側固定連接有過濾網,可以有效的對過濾網進行清洗,不需要人工拆卸進行清洗,減輕了工人的負擔,減少了不必要的浪費,提高了工作效率。
(2)、該具有自洗功能的污水處理設備,通過第三電機的輸出軸上固定連接有轉軸,所述轉軸的底端依次貫穿移動箱和箱體且延伸至箱體的內部,所述轉軸的表面位于箱體內部的一端固定連接有消毒網,可以進行過濾和消毒,確保能夠將污水進行有效的處理,防止污水處理不徹底排出污染環境。
(3)、該具有自洗功能的污水處理設備,通過第二電機的底部通過第二電機座與移動箱內壁的右側固定連接,且第二電機的輸出軸上固定連接有第一轉輪,所述第一轉輪的表面通過傳送帶傳動連接有第二轉輪,所述第二轉輪的軸心處固定連接有螺紋桿,且螺紋桿的兩端均與移動箱的內壁轉動連接,所述螺紋桿的表面與螺紋塊螺紋連接,可以使得消毒裝置往復移動,提升了消毒的效率,增加了與污水接觸的面積,保障了污水能夠得到均勻徹底的處理和消毒。
(4)、該具有自洗功能的污水處理設備,通過所述箱體頂部的左側貫穿有進料斗,所述箱體右側的底部貫穿有出料斗,且箱體的底部固定連接有底座,所述箱體的正表面鉸接有箱門,進料和出料十分便捷,極大的提升了裝置的穩定性,同時裝置結構簡單,實用性強。



