申請日2017.09.29
公開(公告)日2017.12.29
IPC分類號E03C1/122; E03C1/126; F28D1/047
摘要
本發明公開了一種家庭洗澡廢水余熱再利用裝置,包括,家用熱水器;洗澡臺,其包括中空的底座和固定在底座上的玻璃房,底座的頂部呈倒圓錐狀,沿其母線方向設有多個導流槽,導流槽上設有進水孔;導水管,其呈蛇形,容納在下空腔內,導水管包括依次交替連通的直管部分和彎管部分,每個直管部分內壁上對稱設有一對伸出板,每個彎管部分內部設有螺紋扭曲的紊流片,紊流片的螺紋扭曲的軸線沿導水管的水流方向設置,防臭組件,其包括外殼、離子發生器、過濾單元、臭氧發生器、以及多孔陶瓷。本發明具有可以快捷方便的回收洗澡廢水,并用于加熱自來水,使進入家用熱水器的自來水溫達到5℃以上,加快家用熱水器對水的加熱速度的有益效果。
權利要求書
1.一種家庭洗澡廢水余熱再利用裝置,包括,家用熱水器,其特征在于,還包括:
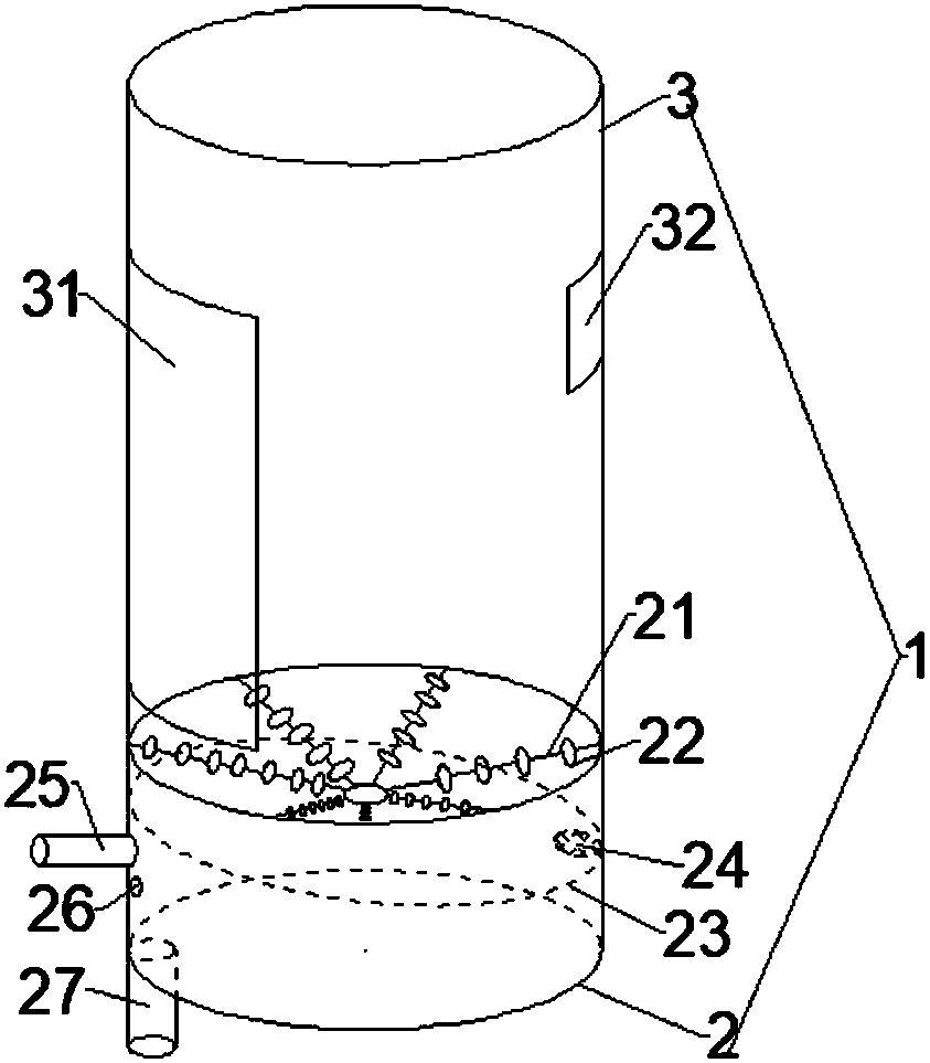
洗澡臺,其包括中空的柱狀的底座和固定在所述底座上的圓筒狀的玻璃房,所述底座的頂部呈倒圓錐狀,沿其母線方向均勻設有多個導流槽,所述導流槽上間隔設有多個進水孔,所述底座內部通過一隔板分成上空腔和下空腔,所述隔板傾斜設置,且較低的一側設有貫通孔,所述貫通孔上設有濾網,所述底座的外壁和底部均設有保溫層,所述下空腔側壁設有第一出氣管和位于所述第一出氣管下方的溢流口,所述下空腔的底部設有出水管,所述玻璃房側壁上設有開門和家用熱水器的花灑,其中,所述出水管上設有閥門和泵;
導水管,其呈蛇形,容納在所述下空腔內,所述導水管一端穿出所述下空腔與自來水管連通、另一端連通在家用熱水器的進水端,所述導水管包括依次交替連通的直管部分和彎管部分,每個直管部分內壁上均對稱設有一對伸出板,所述伸出板的長度方向與所述導水管的水流方向一致,所述伸出板呈波紋狀,波槽沿所述導水管的徑向設置,并且在波峰處間隔設有多個柔性的阻擋條,每個彎管部分內部設有螺紋扭曲的紊流片,所述紊流片的螺紋扭曲的軸線沿所述導水管的水流方向設置,所述紊流片的外表面上間隔設有多個形狀不同的凸起,所述導水管上設有閥門和泵;
防臭組件,其包括外殼、從左至右依次設置在所述外殼內的離子發生器、過濾單元、臭氧發生器、以及多孔陶瓷,所述外殼左側設有進氣管、右側設有第二出氣管,所述進氣管與所述洗澡臺的第一出氣管連通,所述第二出氣管與衛生間排氣管連通,所述過濾單元包括從左至右依次設置的橡膠片、第一PTFE空氣過濾膜、錐形的ABS管、第二PTFE空氣過濾膜、以及豎直板,所述橡膠片沿所述外殼內壁周向密封設置,所述第一PTFE空氣過濾膜固定在一環形的鋼性的塑膠圈上,所述塑膠圈密封穿設在所述橡膠片上,所述ABS管左側連通在所述第一PTFE空氣過濾膜上的右側、右側連通在所述第二PTFE空氣過濾膜,所述ABS管從左至右的直徑依次減小,所述ABS管側壁上間隔設有多個細孔,所述第一PTFE空氣過濾膜的直徑大于所述第二PTFE空氣過濾膜的直徑,所述豎直板上設有連通管,所述連通管左側連通在所述第二PTFE空氣過濾膜的右側,所述多孔陶瓷蓋設在所述第二出氣管上,其中,所述外殼上位于所述橡膠片與所述進氣管之間設有出液管、位于所述豎直板與所述多孔陶瓷之間設有第三出氣管,所述第二出氣管、所述第三出氣管、以及所述出液管上均設有閥門和泵,所述第二出氣管上的泵啟動5min后,關閉30s,如此循環啟動與關閉。
2.如權利要求1所述的家庭洗澡廢水余熱再利用裝置,其特征在于,所述導流槽的個數為36條,所述導流槽的深度和寬度分別為5mm和15mm,每個導流槽上的進水孔的個數為30個,所述進水孔的直徑為25mm。
3.如權利要求1所述的家庭洗澡廢水余熱再利用裝置,其特征在于,所述底座的內徑和高度分別為100~120cm和20~35cm。
4.如權利要求1所述的家庭洗澡廢水余熱再利用裝置,其特征在于,所述伸出板的長度為30~50mm,所述波槽的寬度為4mm,所述波峰的高度為3mm,所述阻擋條的長度為5mm。
5.如權利要求1所述的家庭洗澡廢水余熱再利用裝置,其特征在于,第一PTFE空氣過濾膜和所述第二PTFE空氣過濾膜的孔徑分別為5~10μm和0.2~0.5μm。
6.如權利要求1所述的家庭洗澡廢水余熱再利用裝置,其特征在于,所述上空腔側壁上位于所述濾網上方開設有取網口,所述濾網可拆卸固定在所述隔板上。
7.如權利要求1所述的家庭洗澡廢水余熱再利用裝置,其特征在于,所述凸起的形狀為三角塊狀、或圓柱狀、或圓錐狀。
8.如權利要求1所述的家庭洗澡廢水余熱再利用裝置,其特征在于,所述橡膠片的材質為橡膠。
說明書
家庭洗澡廢水余熱再利用裝置
技術領域
本發明涉及熱水器領域。更具體地說,本發明涉及一種家庭洗澡廢水余熱再利用裝置。
背景技術
洗澡沐浴每個人一次用水量大約在150~300L,水溫在40~45℃,每次洗后的水都直接排出到下水道了,熱量沒有被回收利用,電能或燃氣消耗多,而且尤其是在寒冷的秋冬季,自來水水溫通常低于5℃,在這種情況下,存在家用熱水器對水加熱慢的缺陷。
發明內容
本發明的一個目的是解決至少上述問題,并提供至少后面將說明的優點。
本發明還有一個目的是提供一種家庭洗澡廢水余熱再利用裝置,可以快捷方便回收洗澡廢水,并保溫,同時將余熱重新用于加熱自來水,使進入家用熱水器的自來水溫達到5℃以上,加快家用熱水器對水的加熱速度。
為了實現根據本發明的這些目的和其它優點,提供了一種家庭洗澡廢水余熱再利用裝置,包括,家用熱水器;
洗澡臺,其包括中空的柱狀的底座和固定在所述底座上的圓筒狀的玻璃房,所述底座的頂部呈倒圓錐狀,沿其母線方向均勻設有多個導流槽,所述導流槽上間隔設有多個進水孔,所述底座內部通過一隔板分成上空腔和下空腔,所述隔板傾斜設置,且較低的一側設有貫通孔,所述貫通孔上設有濾網,所述底座的外壁和底部均設有保溫層,所述下空腔側壁設有第一出氣管和位于所述第一出氣管下方的溢流口,所述下空腔的底部設有出水管,所述玻璃房側壁上設有開門和家用熱水器的花灑,其中,所述出水管上設有閥門和泵;
導水管,其呈蛇形,容納在所述下空腔內,所述導水管一端穿出所述下空腔與自來水管連通、另一端連通在家用熱水器的進水端,所述導水管包括依次交替連通的直管部分和彎管部分,每個直管部分內壁上均對稱設有一對伸出板,所述伸出板的長度方向與所述導水管的水流方向一致,所述伸出板呈波紋狀,波槽沿所述導水管的徑向設置,并且在波峰處間隔設有多個柔性的阻擋條,每個彎管部分內部設有螺紋扭曲的紊流片,所述紊流片的螺紋扭曲的軸線沿所述導水管的水流方向設置,所述紊流片的外表面上間隔設有多個形狀不同的凸起,所述導水管上設有閥門和泵;
防臭組件,其包括外殼、從左至右依次設置在所述外殼內的離子發生器、過濾單元、臭氧發生器、以及多孔陶瓷,所述外殼左側設有進氣管、右側設有第二出氣管,所述進氣管與所述洗澡臺的第一出氣管連通,所述第二出氣管與衛生間排氣管連通,所述過濾單元包括從左至右依次設置的橡膠片、第一PTFE空氣過濾膜、錐形的ABS管、第二PTFE空氣過濾膜、以及豎直板,所述橡膠片沿所述外殼內壁周向密封設置,所述第一PTFE空氣過濾膜固定在一環形的鋼性的塑膠圈上,所述塑膠圈密封穿設在所述橡膠片上,所述ABS管左側連通在所述第一PTFE空氣過濾膜上的右側、右側連通在所述第二PTFE空氣過濾膜,所述ABS管從左至右的直徑依次減小,所述ABS管側壁上間隔設有多個細孔,所述第一PTFE空氣過濾膜的直徑大于所述第二PTFE空氣過濾膜的直徑,所述豎直板上設有連通管,所述連通管左側連通在所述第二PTFE空氣過濾膜的右側,所述多孔陶瓷蓋設在所述第二出氣管上,其中,所述外殼上位于所述橡膠片與所述進氣管之間設有出液管、位于所述豎直板與所述多孔陶瓷之間設有第三出氣管,所述第二出氣管、所述第三出氣管、以及所述出液管上均設有閥門和泵,所述第二出氣管上的泵啟動5min后,關閉30s,如此循環啟動與關閉。
優選的是,所述導流槽的個數為36條,所述導流槽的深度和寬度分別為5mm和15mm,每個導流槽上的進水孔的個數為30個,所述進水孔的直徑為25mm。
優選的是,所述底座的內徑和高度分別為100~120cm和20~35cm。
優選的是,所述伸出板的長度為30~50mm,所述波槽的寬度為4mm,所述波峰的高度為3mm,所述阻擋條的長度為5mm。
優選的是,第一PTFE空氣過濾膜和所述第二PTFE空氣過濾膜的孔徑分別為5~10μm和0.2~0.5μm。
優選的是,所述上空腔側壁上位于所述濾網上方開設有取網口,所述濾網可拆卸固定在所述隔板上。
優選的是,所述凸起的形狀為三角塊狀、或圓柱狀、或圓錐狀。
優選的是,所述橡膠片的材質為橡膠。
本發明至少包括以下有益效果:
第一、洗澡后的熱水經進水孔快速進入到上空腔,經濾網攔截后,進入到下空腔,包裹著導水管,而導水管中的自來水經伸出板和紊流片的作用,其導水管內部劇烈運動,加快了熱水與自來水的熱交換作用,從而使自來水得于升溫后進入到家用熱水器的進水端,有效的回收了洗澡廢水的熱量,并重新用于家用熱水器中;
第二、由于洗澡廢水是使用過的水,在底座內部停留時間過長會產生異味,因此除臭組件先將底座內部的空氣抽到外殼左側,然后經過濾單元濾除液體、以及溶解在液體中的大分子物質,包括微生物等,離子發生器對其進行初步殺菌,液體從出液管排出,剩余的氣體經過過濾單元后,會被多孔陶瓷吸收掉異味物質,同時臭氧產生器對氣體進地殺菌,再從第二出氣管排出的氣體就沒有味道了,從而保證了底座內部的清新;
第三、采用蛇形設計,并且利用間隔設置的伸出板來改水流內部相對運動軌跡,同時將伸出板設計為波紋狀讓水流具有波動性,再通過阻擋條細微阻擋作用,在整體波動性的基礎上,產生微弱的回流,從而加強水流內部的熱交換作用,另外,在彎管部分的紊流片,螺紋扭曲的特性迫使水流跟隨著其扭曲方向流動,再結合紊流片上的不同形狀的凸起,對水流具有不同力度和不同方向的反作用力,使得水流內部相對運動更加劇烈,進一步加強內部的熱交換作用,同時也加快了其與導水管壁的熱換作用,最終將洗澡廢水的熱量回收;
第四、空氣中的水分含量較少,為了使第一PTFE空氣過濾膜上附著的水分更易流出,設置了橡膠片,當啟第二出氣管上的泵時,會將氣體向第二出氣管的方向吸氣,由于空氣壓力的作用,第一PTFE空氣過濾膜會向右側移動,直到第一PTFE空氣過濾膜兩側的空氣壓力達到平衡,再關閉第二出氣管上的泵,由于空氣壓力劇烈變化,第一PTFE空氣過濾膜會快速被橡膠片拉回,由于橡膠片的彈性作用,可以帶動第一PTFE空氣過濾膜抖動,從而將液體抖落。



