申請日2017.09.29
公開(公告)日2018.01.05
IPC分類號E03B1/04; C02F1/00
摘要
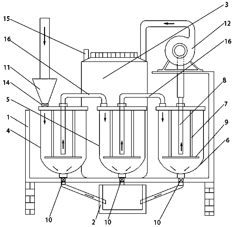
本發明涉及一種廢水回收利用系統領域,涉及一種衛生間廢水回收利用系統,包括支架、固渣池和儲蓄箱,所述支架上設有過濾裝置,所述過濾裝置包括第一過濾桶、第二過濾桶和第三過濾桶,所述第一過濾桶、第二過濾桶和第三過濾桶之間分別通過過濾管連通,所述第一過濾桶、第二過濾桶和第三過濾桶內均設有濾芯、過濾芯管和隔板,所述過濾芯管為位于濾芯內,所述第一過濾桶、第二過濾桶和第三過濾桶底部均設有閥門,并分別與固渣池連通,所述第一過濾桶上連通有入料口,所述儲蓄箱通過清水泵與第三過濾桶內的過濾芯管連通。該系統主要采用的是固液分離技術,實現了尿液與糞便的回收利用,可有效節約用水,實現水資源的可持續利用,減少了環境污染。
權利要求書
1.一種衛生間廢水回收利用系統,其特征在于:包括支架(1)、固渣池(2)和儲蓄箱(3),所述支架(1)上設有過濾裝置,所述過濾裝置包括第一過濾桶(4)、第二過濾桶(5)和第三過濾桶(6),所述第一過濾桶(4)、第二過濾桶(5)和第三過濾桶(6)之間分別通過過濾管(16)連通,所述第一過濾桶(4)、第二過濾桶(5)和第三過濾桶(6)內均設有濾芯(7)、過濾芯管(8)和隔板(9),所述過濾芯管(8)為位于濾芯(7)內,所述第一過濾桶(4)、第二過濾桶(5)和第三過濾桶(6)底部均設有閥門(10),并分別與固渣池(2)連通,所述第一過濾桶(4)上連通有入料口(11),所述儲蓄箱(3)通過清水泵(12)與第三過濾桶(6)內的過濾芯管(8)連通。
2.根據權利要求1所述的一種衛生間廢水回收利用系統,其特征在于:所述儲蓄箱(3)上設有抽水泵(13)和填料口(15),所述填料口(15)位于儲蓄箱(3)的上部。
3.根據權利要求1所述的一種衛生間廢水回收利用系統,其特征在于:所述入料口(11)上設有感應器,所述入料口(11)與第一過濾桶(4)連通處設有電磁閥(14)。
4.根據權利要求1所述的一種衛生間廢水回收利用系統,其特征在于:所述第一過濾桶(4)、第二過濾桶(5)和第三過濾桶(6)底部均為圓弧形,便于固渣排出。
5.根據權利要求1所述的一種衛生間廢水回收利用系統,其特征在于:所述閥門(10)為電子閥,便于控制開關和開度。
說明書
一種衛生間廢水回收利用系統
技術領域
本發明涉及一種廢水回收利用系統領域,更具體而言,涉及一種衛生間廢水回收利用系統。
背景技術
家庭的沖廁馬桶所用水對水質要求不高,因此如何設計設計一種可以高效率利用廚房的洗滌槽、衛生間的面盆的回收水的家庭中水收集及利用裝置,用于沖廁所馬桶,可以大大提高水的利用效率,避免水資源的浪費,成為本行業技術人員所要解決的技術問題。
中國是水資源嚴重短缺的國家,由于城市缺水日益嚴重,水資源短缺已經成為制約我國經濟和社會可持續發展的突出問題。衛生間用水量大且異味也大,公共廁所沖涮廁所用水占整個建筑用水的80%以上,而沖廁所用水對水質要求不高,因此可以設計一種可以高效利用水資源系統。
如專利CN201320188075.8公開了一種無味節水公廁系統,它包括蹲便器系統和小便器系統兩個部分,蹲便器排污口的一側設有排氣口,排氣管一端連接排氣口,蹲便器排污口下方設有自動開關閥,排污管位于蹲便器下方,排污管一端與化糞池相連,另一端與自然通風管相連,小便器的排污口與排風排污管相連,排風排污管的一端延伸出地面,另一端與化糞池相連。這種系統能去除公廁異味,但是不能有效利用資源,節水效果不明顯。
發明內容
為了克服現有技術中所存在的不足,本發明提供一種衛生間廢水回收利用系統,解決現有衛生間耗水量大的問題,提供一種回收水可以循環使用、高效節能、有利于保護環境的衛生間廢水回收系統。
為了解決上述技術問題,本發明所采用的技術方案為:
一種衛生間廢水回收利用系統,包括支架、固渣池和儲蓄箱,所述支架上設有過濾裝置,所述過濾裝置包括第一過濾桶、第二過濾桶和第三過濾桶,所述第一過濾桶、第二過濾桶和第三過濾桶之間分別通過過濾管連通,所述第一過濾桶、第二過濾桶和第三過濾桶內均設有濾芯、過濾芯管和隔板,所述過濾芯管為位于濾芯內,所述第一過濾桶、第二過濾桶和第三過濾桶底部均設有閥門,并分別與固渣池連通,所述第一過濾桶上連通有入料口,所述儲蓄箱通過清水泵與第三過濾桶內的過濾芯管連通。
所述儲蓄箱上設有抽水泵和填料口,所述填料口位于儲蓄箱的上部,所述填料口用于加入除味劑,儲蓄箱中水可再利用。
所述入料口上設有感應器,可通過感應控制清水泵的開啟;所述入料口與第一過濾桶連通處設有電磁閥,可有效防止異味反流。
所述第一過濾桶、第二過濾桶和第三過濾桶底部均為圓弧形,桶底閥門設有可控制開關與開度的電子閥,便于固渣排出。
所述隔板與濾芯可防止固渣進入濾芯。
與現有技術相比,本發明所具有的有益效果為:
本發明是一種衛生間廢水回收利用系統,使用這種系統使用時,只需要一次性注入一定量水,就可以長期循環使用。該系統主要采用的是固液分離技術,可實現充分利用,也實現了尿液與糞便的回收利用,可有效節約用水,實現水資源的可持續利用,減少了環境污染。



