申請日2017.09.28
公開(公告)日2017.12.19
IPC分類號C02F9/14
摘要
本發明涉及污水處理設備技術領域,特別涉及一種分級多通口分類式污水處理設備,它包括底座,該底座上安裝有過濾池;所述過濾池由過濾殼一和過濾殼二組成;所述過濾殼一和過濾殼二內中部分別安裝有M型過濾篩網一和M型過濾篩網二;所述過濾殼一和過濾殼二的底部分別設置有導出管一和導出管二;所述過濾池右側設置有調節池;所述調節池內設置有三塊隔板,將調節池內分隔成調節一室、調節二室、調節三室和調節四室;所述三塊隔板的底部分別安裝有電磁閥一、電磁閥二和電磁閥三;它采用多級分類處理,形成整套處理機構;它具有占地面積少,成本低,操作方便,工作效率高,保證企業的生產和生活用水。
權利要求書
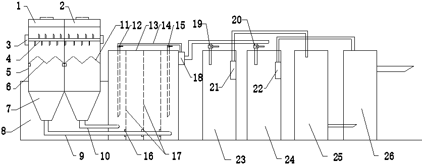
1.一種分級多通口分類式污水處理設備,其特征在于:它包括底座,該底座上安裝有過濾池;所述過濾池由過濾殼一和過濾殼二組成;所述過濾殼一和過濾殼二內中部分別安裝有M型過濾篩網一和M型過濾篩網二;所述過濾殼一和過濾殼二的底部分別設置有導出管一和導出管二;所述過濾池右側設置有調節池;所述調節池內設置有三塊隔板,將調節池內分隔成調節一室、調節二室、調節三室和調節四室;所述三塊隔板的底部分別安裝有電磁閥一、電磁閥二和電磁閥三;所述導出管一穿插至調節四室中;所述導出管二穿插過調節一室;所述調節池右側面上部設置有提升泵一,該提升泵一的一端與調節池上方的水平輸出管一相連,水平輸出管一的底面兩側分別設置有豎管一和豎管二,豎管一和豎管二分別穿插設在調節一室和調節四室中,豎管一和豎管二上分別安裝有球閥一和球閥二;所述提升泵一的另一端與水平輸出管二相連,水平輸出管二的底面設置有豎管三和豎管四,豎管三和豎管四上分別安裝有球閥三和球閥四,豎管三和豎管四分別插設在厭氧池和混凝沉淀池中;所述厭氧池和混凝沉淀池中分別設置有提升泵二和提升泵三;所述厭氧池中的提升泵二的輸出管三與膜反應生物處理池相連;所述混凝沉淀池中的提升泵三的輸出管四與清水消毒池相連;所述膜反應生物處理池的底部設置有輸出管五,該輸出管五插設在清水消毒池的底部,清水消毒池的右側面上設置有清水導管。
2.根據權利要求1所述的一種分級多通口分類式污水處理設備,其特征在于:所述過濾池左側上部設置有電機一,電機一與過濾池中的攪拌軸相連。
3.根據權利要求1所述的一種分級多通口分類式污水處理設備,其特征在于:所述過濾殼一和過濾殼二的底部均為V形部分。
說明書
一種分級多通口分類式污水處理設備
技術領域
本發明涉及污水處理設備技術領域,特別涉及一種分級多通口分類式污水處理設備。
背景技術
隨著社會發展,工業企業以及人們生活都會產生污水。按污水來源分類,污水處理一般分為生產污水處理和生活污水處理。生產污水包括工業污水、農業污水以及醫療污水等,而生活污水就是日常生活產生的污水,是指各種形式的無機物和有機物的復雜混合物。污水處理就是為使污水達到排水某一水體或再次使用的水質要求對其進行凈化的過程。
傳統的污水處理在實際應用中存在如下問題:傳統的污水處理是將生活用水和企業污水分開處理,各自建立處理機構。針對于現在的大中型企業或者特大型企業或者污水嚴重的企業,需要建立自凈處理系統來處理污水問題,保證環保。但是現在企業中的生活污水和企業污水,分開建設,存在資金浪費且沒法協調占地問題。
發明內容
本發明的目的在于針對現有技術的缺陷和不足,提供一種分級多通口分類式污水處理設備,它采用多級分類處理,形成整套處理機構;它具有占地面積少,成本低,操作方便,工作效率高,保證企業的生產和生活用水。
為實現上述目的,本發明采用的技術方案是:
本發明所述的一種分級多通口分類式污水處理設備,它包括底座,該底座上安裝有過濾池;所述過濾池由過濾殼一和過濾殼二組成;所述過濾殼一和過濾殼二內中部分別安裝有M型過濾篩網一和M型過濾篩網二;所述過濾殼一和過濾殼二的底部分別設置有導出管一和導出管二;所述過濾池右側設置有調節池;所述調節池內設置有三塊隔板,將調節池內分隔成調節一室、調節二室、調節三室和調節四室;所述三塊隔板的底部分別安裝有電磁閥一、電磁閥二和電磁閥三;所述導出管一穿插至調節四室中;所述導出管二穿插過調節一室;所述調節池右側面上部設置有提升泵一,該提升泵一的一端與調節池上方的水平輸出管一相連,水平輸出管一的底面兩側分別設置有豎管一和豎管二,豎管一和豎管二分別穿插設在調節一室和調節四室中,豎管一和豎管二上分別安裝有球閥一和球閥二;所述提升泵一的另一端與水平輸出管二相連,水平輸出管二的底面設置有豎管三和豎管四,豎管三和豎管四上分別安裝有球閥三和球閥四,豎管三和豎管四分別插設在厭氧池和混凝沉淀池中;所述厭氧池和混凝沉淀池中分別設置有提升泵二和提升泵三;所述厭氧池中的提升泵二的輸出管三與膜反應生物處理池相連;所述混凝沉淀池中的提升泵三的輸出管四與清水消毒池相連;所述膜反應生物處理池的底部設置有輸出管五,該輸出管五插設在清水消毒池的底部,清水消毒池的右側面上設置有清水導管。
進一步地,所述過濾池左側上部設置有電機一,電機一與過濾池中的攪拌軸相連。
進一步地,所述過濾殼一和過濾殼二的底部均為V形部分。
采用上述結構后,本發明有益效果為:本發明所述的一種分級多通口分類式污水處理設備,它采用多級分類處理,形成整套處理機構;它具有占地面積少,成本低,操作方便,工作效率高,保證企業的生產和生活用水。



